Taproot
Regular
And as we all know, Chris Stevens ( Our new VP of WW Sales ) has recently made the move from Syntiant to Brainchip.Hi JK,
We've looked at Syntiant before.
![]()
Keyword Spotting: Making an On-Device Assistant a Reality - EE Times India
A natural language approach processes sound, images and data in event-based hardware...www.eetindia.co.in
Keyword Spotting: Making an On-Device Assistant a Reality
Article By : Peter AJ van der Made, BrainChip Category : Uncategorized 2020-04-16
Another option for keyword spotting is the Syntiant NDP101 chip.
While this device also operates at comparable low power (200 microwatts) it is a dedicated audio processor that integrates an audio front end, buffering and feature extraction together with the neural network. Syntiant expects to replace digital MACs with an in-memory analog circuit in the future to further reduce power.
The Akida chip has the added advantages of on-chip learning and versatility. It can also be reconfigured to perform sound or image classification, odor identification or to classify features extracted from data. Another advantage of local processing is that no images or data are exposed on the Internet, significantly reducing privacy risks
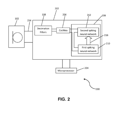
Syntiant previously used a Frankenstein (hybrid digital/analog) SNN:
US2019034790A1 Systems And Methods For Partial Digital Retraining
View attachment 21226
... but they have progressed to all digital:
WO2020028693A1 SENSOR-PROCESSING SYSTEMS INCLUDING NEUROMORPHIC PROCESSING MODULES AND METHODS THEREOF
View attachment 21228
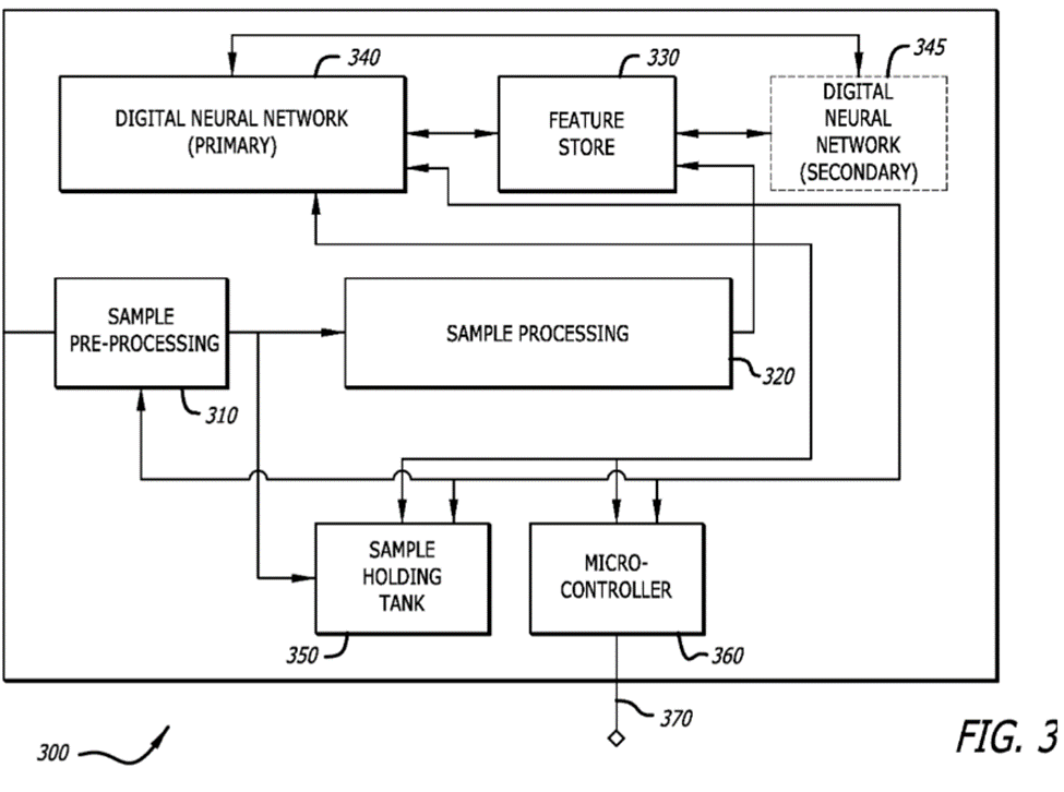
BrainChip's US2017229117A1 LOW POWER NEUROMORPHIC VOICE ACTIVATION SYSTEM AND METHOD was cited against this Syntiant patent application.
View attachment 21237
Chris Stevens, Industry Veteran Joins BrainChip to Lead WW Sales
Design And Reuse - Catalog of IP Cores and Silicon on Chip solutions for IoT, Automotive, Security, RISC-V, AI, ... and Asic Design Platforms and Resources
Mr. Stevens was most recently Global Vice President of Sales for Syntiant Corporation, a leading edge AI semiconductor provider, where he built a world-wide sales team and drove revenue growth with tier-1 key accounts. He has also held executive sales positions at Centercode, Lantronix, Mindspeed Technologies, and Texas Instruments. An electrical engineer by training, Stevens is intimate with edge AI semiconductor technology, its ecosystem, and the requirements to accelerate adoption and sales.
“I have tracked BrainChip’s progress closely, as I’ve been selling into the same edge AI market. I am thrilled to take this sales leadership role with confidence as AkidaTM is uniquely superior and positioned to be the de facto standard for edge AI semiconductor IP”, said Stevens. “With use-case, market, and customer targeting, I’m certain I will contribute to further ecosystem penetration and accelerated sales”.
And
RE: Duy-Loan Le
It's of interest that our most recent board director recently retired from Texas Instruments, so the two would be already well acquainted !
Mrs. Le has a remarkable professional history, both technologically and in executive management, having retired from Texas Instruments as a Senior Fellow after 35 years. While at TI, she led TI’s multi-billion-dollar memory and DSP product lines with joint venture partners in five countries and three continents.