BRN Discussion Ongoing

VictorG

Member
Just a reminder,

BRAINCHIP will DOMINATE the UNIVERSE.

 
  • Like
  • Fire
Reactions: 17 users

Diogenese

Top 20
Just a reminder,

BRAINCHIP will DOMINATE the UNIVERSE.

While we're on the subject (world domination), someone has found the fact that MegaChips has teamed up with Morse Micro, "an Australian company with the world’s leading technology in “Wi-Fi HaLow™”, a new wireless communication standard with lowest power and long range, and started business development of wireless communications technology."

This means we are one degree of separation from potentially the next communication network of the IoT.

https://pdf.irpocket.com/C6875/xNh6/BDbf/yYsu.pdf

1674902816812.png




US2022231884A1 METHOD FOR IMPROVED SYNCHRONIZATION BETWEEN A TRANSMITTER AND A RECEIVER ON A WIRELESS NETWORK

1674902928895.png



The present disclosure provides a method for estimating timing and/or frequency of a wireless signal; the method including the steps: receiving a digitally modulated signal; extracting a plurality of signal samples associated with a short training field (STF) of a PHY protocol data unit (PPDU) of an 802.11 frame; performing correlation operations on the plurality of signal samples to generate a predetermined number of correlation peaks; comparing the generated correlation peaks with a variable dynamic threshold; and calculating timing and/or frequency of the digitally modulated signal using the outcome of the comparing step.

Akida is a whiz at comparing data.

If we can hang on the coat-tails of MorseMicro, we could find ourselves having a couple of Akida IP implementations in almost all the IoT connected devices.

With MegaChips, we have the perfect menage-a-trois.
 
Last edited:
  • Like
  • Fire
  • Love
Reactions: 76 users

Serengeti

Regular
Evening all,

i found an interesting podcast thought I’d share for anyone interested.

A relaxed conversation with those on the cutting edge of science and technology - hosted by Britain's first astronaut Helen Sharman - Presented by Imperial College London and Saab.

The keys to realising AI’s promise

As befits a technology now enabling machines to contextualise data, our experts think that seeing AI in context is key to its integration and acceptance into our lives. Neither see it as a risk to humanity.

Dr Haigh, who has written about the role of AI in electronic warfare, sees the technology as being well suited to rapid handling of complex tasks in restricted situations, such as the battlefield.

“If we are looking at a critical defence sector, situations with hard real-time operating constraints, things must happen in very tight time frames. You’re operating with small embedded devices. You can’t go back to the cloud to do the huge computations. There’s a need for the right decisions to be made quickly,” she explains.

“The other major difference in military situation is that there are often no previous learning examples. You’re doing real-time, in-mission learning and there are systems that will go out with no data at all. Mars Rover has no time to go back to Earth regarding every decision that it’s making. AI is just a tool, like a set of mathematical tools that can be applied to problems, and it’s especially useful in remote and rugged environments.”


It is the fourth podcast in the series

 
Last edited:
  • Like
  • Fire
Reactions: 20 users

BaconLover

Founding Member
  • Like
  • Love
  • Fire
Reactions: 16 users

Bravo

Meow Meow 🐾
 
  • Like
Reactions: 3 users

Bravo

Meow Meow 🐾
 
  • Like
Reactions: 1 users

Bravo

Meow Meow 🐾
  • Like
  • Fire
Reactions: 3 users

Diogenese

Top 20
  • Haha
  • Like
Reactions: 3 users

Bravo

Meow Meow 🐾
But what if I want you to do a Gloria?
 
  • Haha
  • Like
Reactions: 4 users

Learning

Learning to the Top 🕵‍♂️
While we're on the subject (world domination), someone has found the fact that MegaChips has teamed up with Morse Micro, "an Australian company with the world’s leading technology in “Wi-Fi HaLow™”, a new wireless communication standard with lowest power and long range, and started business development of wireless communications technology."

This means we are one degree of separation from potentially the next communication network of the IoT.

https://pdf.irpocket.com/C6875/xNh6/BDbf/yYsu.pdf

View attachment 28116



US2022231884A1 METHOD FOR IMPROVED SYNCHRONIZATION BETWEEN A TRANSMITTER AND A RECEIVER ON A WIRELESS NETWORK

View attachment 28117


The present disclosure provides a method for estimating timing and/or frequency of a wireless signal; the method including the steps: receiving a digitally modulated signal; extracting a plurality of signal samples associated with a short training field (STF) of a PHY protocol data unit (PPDU) of an 802.11 frame; performing correlation operations on the plurality of signal samples to generate a predetermined number of correlation peaks; comparing the generated correlation peaks with a variable dynamic threshold; and calculating timing and/or frequency of the digitally modulated signal using the outcome of the comparing step.

Akida is a whiz at comparing data.

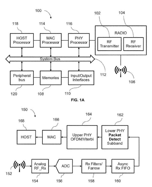
Possibly Akida could replace the MAC processor 114/164 to provide greater power saving and increased speed.

If we can hang on the coat-tails of MorseMicro, we could find ourselves having a couple of Akida IP implementations in almost all the IoT connected devices.

With MegaChips, we have the perfect menage-a-trois.
This was a post that fascinated me early this week. I cant put the connection. As without the technical knowledge.
Now, your opinion is quite valuable Dio 👌.

Screenshot_20230128_211126_LinkedIn.jpg


Learning 🏖
 
Last edited:
  • Like
  • Fire
  • Love
Reactions: 26 users

Bravo

Meow Meow 🐾
p


 
  • Haha
  • Love
  • Like
Reactions: 4 users

Diogenese

Top 20

That happened to me at karaoke one very late night ... a very long time ago.
 
  • Haha
  • Like
Reactions: 3 users

dippY22

Regular
Weekend musings,...... If you were a potential customer of Brainchip considering an IP contract, would it not be a consideration to wonder about Brainchip being sold to a big fish (i.e. the hairy coconut, or some "partner" i.e. ARM, etc) after the contract was signed? I think it would. Therefore, I wonder if this question / issue is voiced during complex negotiations with a customer considering an IP contract?

I mean, could you imagine entering into a "million dollar plus" contract and then seeing the IP vendor (Brainchip) sold to a competitor? Can you design such a variable into contracts? I don't know, but it's an interesting thought bubble,....is it not?

These are sticky, complicated negotiations our sales team must have to navigate with the potential customer, and what I raise above is but one small element, albeit a clear and present danger to that customer considering the IP (to be overly dramatic).

I would be calmed on this issue as a potential customer, however, if I saw Brainchip negotiating and receiving tens of millions of dollars in future funding such as was recently announced with the LDA lending arrangement. dippY just wondering about things,......
 
  • Like
  • Love
  • Fire
Reactions: 8 users

JK200SX

Regular
 
  • Like
Reactions: 3 users

Diogenese

Top 20
.
 
Last edited:

stuart888

Regular
NVISO AI Apps are specifically designed for resource constrained low-power and low-memory hardware platforms deployed at the extreme edge. These AI Apps analyse core signals of human behaviour, such as body movements, facial expressions, emotions, identity, head pose, gaze, eye state, gestures or activities, and identify objects with which users interact. In addition, these AI Apps can be optimised for typically resource constrained, low power and low-cost processing platforms deployed on the edge, as demonstrated with ultra-compact models such as the Emotion Recognition AI App with less than 100KB of memory. Furthermore, NVISO AI Apps can be easily configured to suit specific camera systems for optimal performance in terms of distance and camera angle, and thanks to NVISO’s large scale proprietary human behaviour databases NVISO’s AI Apps are robust to the imaging conditions often found in real world deployments. Unlike cloud-based solutions, NVISO’s solutions do not require information to be sent off-device for processing elsewhere so user privacy and safety can be protected.

nviso_neuro_sdk_for_gaming.jpg
Thanks @Easytiger for the Nviso update.

Here is a little info on that Bottom layer shown: Bonseyes Developer Platforms. In short, they are a European group helping small and medium sized businesses get more Edge and less Cloud! Similar to Edge Impulse to some degree.

BonsAPPs does this by offering a series of modular services—such as experimentation, model compression, optimization, benchmarking, and deployment on hardware and security—that will increase AI usage among enterprises and SMEs which currently lack internal innovation capabilities.

https://bonsapps.eu/how-it-works/

 
  • Like
Reactions: 8 users
Intel loses $8B market cap due to missed revenue targets. Job cuts announced, guidance amended downwards. Probably going to have to cut unprofitable and / or unproductive divisions and look for acquisitions to drive inorganic growth :cool:.

 
Last edited:
  • Like
  • Wow
Reactions: 19 users
Top Bottom