Hi FF,
This is the latest published application by KANAGASINGAM YOGENSAN:
WO2020160606A1 DIAGNOSTIC IMAGING FOR DIABETIC RETINOPATHY
Applicants COMMW SCIENT IND RES ORG [AU]
Inventors SAHA SAJIB [AU]; XIAO DI [AU]; KANAGASINGAM YOGENSAN [AU]
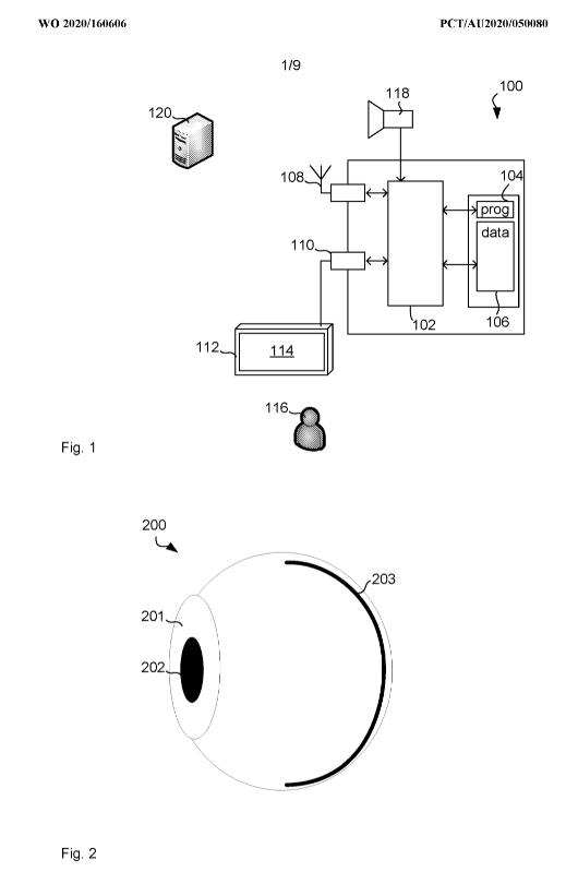
Computer system [46] Fig. 1 illustrates a computer system 100 for diagnostic imaging. The computer system 100 comprises a processor 102 connected to program memory 104, data memory 106, a communication port 108 and a user port 110. The user port 110 is connected to a display device 112 that shows data, such as report with a numeric pathology score or a predictive change map 114 to patient 116. The program memory 104 is a non-transitory computer readable medium, such as a hard drive, a solid state disk or CD-ROM. Software, that is, an executable program stored on program memory 104 causes the processor 102 to perform the method in Fig. 2, that is, processor 102 retrieves at least two images captured by a retina camera 118, such as Nidek AFC- 210, over time, aligns the images and calculates a pathology score based on pathologic features in the images.
View attachment 2483
View attachment 2484
View attachment 2485
Compares retinal snapshots taken over time.
No reference to AI or NN.
Looks like the star map overlay technique that astronomers use to pick out changes in a section of the night sky.
Of course, Akida could spot the changes with its eyes closed.
There could be further applications in the 18 month pipeline.