BRN Discussion Ongoing

HopalongPetrovski

I'm Spartacus!
True Its True GIF - True Its True Dwight Schrute - Discover & Share GIFs



Thanks Doz, but I think I'll continue to be critical of things that I don't agree with.
I'm not perfect, and I'm open to criticism.
Surely everyone else here is, otherwise why would they risk voicing their opinion on a forum?

Anyway, we are once again seemingly bouncing at a range of support around the 40c mark.
We keep entering partnerships and things are looking good for BRN.
One day we'll get to the top of that particular ladder again, pull out a gun, and shoot that flaming snake dead as a doornail causing the shortee's to soil themselves. 🤣

krisdog220500312.jpg
 
  • Haha
  • Like
  • Love
Reactions: 9 users

gilti

Regular
  • Like
  • Fire
Reactions: 11 users
  • Like
  • Fire
Reactions: 9 users

IloveLamp

Top 20


Screenshot_20230608_120751_LinkedIn.jpg
 
  • Like
  • Love
  • Fire
Reactions: 8 users

TECH

Top 20
Not sure if this is news to the rest of you but it is news to me


View attachment 37994 View attachment 37995

Good morning,

Try not to read too much into that (not that I'm implying you are) it's Adams son, so a typical response from a loving father.

Highly intelligent like his Dad, but more importantly his Dad is a highly valued asset at Brainchip being the Chairperson of our SAB (y)
 
  • Like
Reactions: 13 users

IloveLamp

Top 20
Good morning,

Try not to read too much into that (not that I'm implying you are) it's Adams son, so a typical response from a loving father.

Highly intelligent like his Dad, but more importantly his Dad is a highly valued asset at Brainchip being the Chairperson of our SAB (y)
Not reading into it anymore than the significant face value of the situation.

The fact is, the son of the chairperson of the scientific advisory board at Brainchip is a software engineering manager at Apple....

It cannot be a bad thing.
 
Last edited:
  • Like
  • Love
  • Wow
Reactions: 38 users

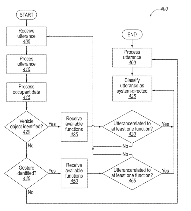
Diogenese

Top 20


Definitely not us.

Cerence:
US2022415318A1 VOICE ASSISTANT ACTIVATION SYSTEM WITH CONTEXT DETERMINATION BASED ON MULTIMODAL DATA

1686191779079.png


A vehicle system for classifying spoken utterance within a vehicle cabin as one of system-directed and non-system directed may include at least one microphone to detect at least one acoustic utterance from at least one occupant of the vehicle, at least one camera to detect occupant data indicative of occupant behavior within the vehicle corresponding to the acoustic utterance, and a processor programmed to receive the acoustic utterance, receive the occupant data, determine whether the occupant data is indicative of a vehicle feature, classify the acoustic utterance as a system-directed utterance in response to the occupant data being indicative of a vehicle feature, and process the acoustic utterance.

[0016] The vehicle 104 may be configured to include various types of components, processors, and memory, and may communicate with a communication network 110 . The communication network 110 may be referred to as a “cloud” and may involve data transfer via wide area and/or local area networks, such as the Internet, Global Positioning System (GPS), cellular networks, Wi-Fi, Bluetooth, etc. The communication network 110 may provide for communication between the vehicle 104 and an external or remote server 112 and/or database 114 , as well as other external applications, systems, vehicles, etc. This communication network 110 may provide navigation, music or other audio, program content, marketing content, internet access, speech recognition, cognitive computing, artificial intelligence, to the vehicle 104 .



US2021043195A1 AUTOMATED SPEECH RECOGNITION SYSTEM

1686192455980.png





There is provided an automated speech recognition system that applies weights to grapheme-to-phoneme models, and interpolates pronunciations from combinations of the models, to recognize utterances of foreign named entities for naive, informed, and in-between pronunciations.

[0013] Memory 125 is a tangible, non-transitory, computer-readable storage device encoded with a computer program. In this regard, memory 125 stores data and instructions, i.e., program code, that are readable and executable by processor 120 for controlling operation of processor 120 ...

[0014] Program module 130 contains instructions for controlling processor 120 to execute methods described herein. For example, under control of program module 130 , processor 120 will receive and analyze audio signals from microphone 110 , and in particular speech from users 101 , 102 and 103 , and produce an output 135 . For example, in a case where system 100 is employed in an automobile (not shown), output 135 could be a signal that controls an air conditioner or navigation device in the automobile.

[0043] … This method is also not constrained to only two models, or any particular kind of model (e.g., classical n-gram, Recurrent Neural Network (RNN), Long Short-Term Memory (LSTM), . . . ).
 
  • Like
  • Sad
Reactions: 16 users

TECH

Top 20
Not reading into it anymore than the significance of the face value of the situation.

The fact is, the son of the chairperson of the scientific advisory board at Brainchip is a software engineering manager at Apple....

It cannot be a bad thing.

I made the forum aware of that a year or two ago, but check out his nieces occupation, you may discover something or not.

Dots sometimes have meaning and sometimes are simply just that, a plain old boring dot, but Akida considers a dot as an
event on an otherwise blank piece of A4 paper.

Enjoy the day...Tech (y)
 
  • Like
  • Haha
  • Thinking
Reactions: 8 users

stockninja

Emerged
Definitely. tesla is the future of EVs. The most innovative automotive brand. Elon and his team will make Tesla a leading EV brand in the near future.
The day Tesla or Elon post one thing or a like on Brainchip Mercedes jump will seem like a small blip in the ocean. One day people, one day
 
Definitely not us.

Cerence:
US2022415318A1 VOICE ASSISTANT ACTIVATION SYSTEM WITH CONTEXT DETERMINATION BASED ON MULTIMODAL DATA

View attachment 38000

A vehicle system for classifying spoken utterance within a vehicle cabin as one of system-directed and non-system directed may include at least one microphone to detect at least one acoustic utterance from at least one occupant of the vehicle, at least one camera to detect occupant data indicative of occupant behavior within the vehicle corresponding to the acoustic utterance, and a processor programmed to receive the acoustic utterance, receive the occupant data, determine whether the occupant data is indicative of a vehicle feature, classify the acoustic utterance as a system-directed utterance in response to the occupant data being indicative of a vehicle feature, and process the acoustic utterance.

[0016] The vehicle 104 may be configured to include various types of components, processors, and memory, and may communicate with a communication network 110 . The communication network 110 may be referred to as a “cloud” and may involve data transfer via wide area and/or local area networks, such as the Internet, Global Positioning System (GPS), cellular networks, Wi-Fi, Bluetooth, etc. The communication network 110 may provide for communication between the vehicle 104 and an external or remote server 112 and/or database 114 , as well as other external applications, systems, vehicles, etc. This communication network 110 may provide navigation, music or other audio, program content, marketing content, internet access, speech recognition, cognitive computing, artificial intelligence, to the vehicle 104 .



US2021043195A1 AUTOMATED SPEECH RECOGNITION SYSTEM

View attachment 38001




There is provided an automated speech recognition system that applies weights to grapheme-to-phoneme models, and interpolates pronunciations from combinations of the models, to recognize utterances of foreign named entities for naive, informed, and in-between pronunciations.

[0013] Memory 125 is a tangible, non-transitory, computer-readable storage device encoded with a computer program. In this regard, memory 125 stores data and instructions, i.e., program code, that are readable and executable by processor 120 for controlling operation of processor 120 ...

[0014] Program module 130 contains instructions for controlling processor 120 to execute methods described herein. For example, under control of program module 130 , processor 120 will receive and analyze audio signals from microphone 110 , and in particular speech from users 101 , 102 and 103 , and produce an output 135 . For example, in a case where system 100 is employed in an automobile (not shown), output 135 could be a signal that controls an air conditioner or navigation device in the automobile.

[0043] … This method is also not constrained to only two models, or any particular kind of model (e.g., classical n-gram, Recurrent Neural Network (RNN), Long Short-Term Memory (LSTM), . . . ).
I do miss seeing the ogre.
 
  • Haha
  • Like
Reactions: 5 users

Jchandel

Regular
WIth BrainChip, we propose to capitalise on innovations that have revolutionised the use of smart phones such as in micro-opto-electronics, chip and wireless technologies We will engineer a wireless and fully implantable smart Neuroprobe-on-a-chip, a device that can decode and manipulate neural activity in real time. This disruptive technical advancement will allow a radical increase in a subject’s freedom of movement while preserving state-of-the-art quality of recordings of neural activity. We have an ideal team to achieve this by combining expertise from the Microsystem and Nanotechnology Lab at SINTEF with neuroscientists at UiO (medical faculty). BrainChip will develop and test the Neuroprobe in a translational project of freely moving, focusing on mouse models of dementia and sleep. Our long-term goal is to establish the Neuroprobe-on-a-chip beyond brain research and contribute towards low-cost and high-precision ambulatory instrumentation for early detection, prevention, and ultra-long-term monitoring of brain disorders in patients.

Click on Summary on the below page:
 
  • Like
  • Love
  • Fire
Reactions: 76 users
D

Deleted member 118

Guest
Not reading into it anymore than the significance of the face value of the situation.

The fact is, the son of the chairperson of the scientific advisory board at Brainchip is a software engineering manager at Apple....

It cannot be a bad thing.
My aunts, brothers, uncles, sisters, mums, cousin also knows a software engineer at apple, does that count
 
  • Haha
Reactions: 3 users

keyeat

Regular
  • Like
  • Haha
Reactions: 10 users

Quatrojos

Regular
WIth BrainChip, we propose to capitalise on innovations that have revolutionised the use of smart phones such as in micro-opto-electronics, chip and wireless technologies We will engineer a wireless and fully implantable smart Neuroprobe-on-a-chip, a device that can decode and manipulate neural activity in real time. This disruptive technical advancement will allow a radical increase in a subject’s freedom of movement while preserving state-of-the-art quality of recordings of neural activity. We have an ideal team to achieve this by combining expertise from the Microsystem and Nanotechnology Lab at SINTEF with neuroscientists at UiO (medical faculty). BrainChip will develop and test the Neuroprobe in a translational project of freely moving, focusing on mouse models of dementia and sleep. Our long-term goal is to establish the Neuroprobe-on-a-chip beyond brain research and contribute towards low-cost and high-precision ambulatory instrumentation for early detection, prevention, and ultra-long-term monitoring of brain disorders in patients.

Click on Summary on the below page:
2.75M AUD awarded. Nice find, Jchandel. Skål!
 
  • Like
  • Fire
  • Love
Reactions: 21 users
WIth BrainChip, we propose to capitalise on innovations that have revolutionised the use of smart phones such as in micro-opto-electronics, chip and wireless technologies We will engineer a wireless and fully implantable smart Neuroprobe-on-a-chip, a device that can decode and manipulate neural activity in real time. This disruptive technical advancement will allow a radical increase in a subject’s freedom of movement while preserving state-of-the-art quality of recordings of neural activity. We have an ideal team to achieve this by combining expertise from the Microsystem and Nanotechnology Lab at SINTEF with neuroscientists at UiO (medical faculty). BrainChip will develop and test the Neuroprobe in a translational project of freely moving, focusing on mouse models of dementia and sleep. Our long-term goal is to establish the Neuroprobe-on-a-chip beyond brain research and contribute towards low-cost and high-precision ambulatory instrumentation for early detection, prevention, and ultra-long-term monitoring of brain disorders in patients.

Click on Summary on the below page:
Great find @Jchandel

Knew I recalled the source name.

The Norwegians obviously know of and interested in Akida.

I posted last year about eX3 and guess who funds them as well.

IMG_20230608_165210.jpg
IMG_20230608_165310.jpg
IMG_20230608_165425.jpg
 
  • Like
  • Fire
  • Love
Reactions: 63 users

HopalongPetrovski

I'm Spartacus!
WIth BrainChip, we propose to capitalise on innovations that have revolutionised the use of smart phones such as in micro-opto-electronics, chip and wireless technologies We will engineer a wireless and fully implantable smart Neuroprobe-on-a-chip, a device that can decode and manipulate neural activity in real time. This disruptive technical advancement will allow a radical increase in a subject’s freedom of movement while preserving state-of-the-art quality of recordings of neural activity. We have an ideal team to achieve this by combining expertise from the Microsystem and Nanotechnology Lab at SINTEF with neuroscientists at UiO (medical faculty). BrainChip will develop and test the Neuroprobe in a translational project of freely moving, focusing on mouse models of dementia and sleep. Our long-term goal is to establish the Neuroprobe-on-a-chip beyond brain research and contribute towards low-cost and high-precision ambulatory instrumentation for early detection, prevention, and ultra-long-term monitoring of brain disorders in patients.

Click on Summary on the below page:
Thank you for posting.
Nice to see us involved with cutting edge research and applications such as this.
Not commercial atm but potentially a huge future market that many including myself may benefit from, not just financially but perhaps even cognitively. Love to see us moving in these beneficial areas. 😍
 
  • Like
  • Love
  • Fire
Reactions: 31 users
  • Like
  • Thinking
  • Fire
Reactions: 22 users
utionised the use of smart phones such as in micro-opto-electronics, chip and wireless technologies We will engineer a wireless and fully implantable smart Neuroprobe-on-a-chip, a device that can decode and manipulate neural activity in real time. This disruptive technical advancement will allow a radical increase in a subject’s freedom of movement while preserving state-of-the-art quality of recordings of neural activity. We have an ideal team to achieve this by combining expertise from the Microsystem and Nanotechnology Lab at SINTEF with neuroscientists at UiO (medical faculty). BrainChip will de
WIth BrainChip, we propose to capitalise on innovations that have revolutionised the use of smart phones such as in micro-opto-electronics, chip and wireless technologies We will engineer a wireless and fully implantable smart Neuroprobe-on-a-chip, a device that can decode and manipulate neural activity in real time. This disruptive technical advancement will allow a radical increase in a subject’s freedom of movement while preserving state-of-the-art quality of recordings of neural activity. We have an ideal team to achieve this by combining expertise from the Microsystem and Nanotechnology Lab at SINTEF with neuroscientists at UiO (medical faculty). BrainChip will develop and test the Neuroprobe in a translational project of freely moving, focusing on mouse models of dementia and sleep. Our long-term goal is to establish the Neuroprobe-on-a-chip beyond brain research and contribute towards low-cost and high-precision ambulatory instrumentation for early detection, prevention, and ultra-long-term monitoring of brain disorders in patients.

Click on Summary on the below page:


While on first pass it looks like our company, unfortunately a second reading (to me) shows that it's a neurological implant (a la Musk's Neuralink) brain-computer interface.

@Fullmoonfever As for the HiSilicon's KunPeng chip hosting 4 Akida nodes, I would imagine if that were the case, there would have been a price sensitive IP licensing announcement seeing that the chip is slated for sale this year.

Happy to be wrong though.
 
Last edited:
  • Like
  • Wow
Reactions: 3 users

HopalongPetrovski

I'm Spartacus!
While on first pass it looks like our company, unfortunately a second reading (to me) shows that it's a neurological implant (a la Musk's Neuralink) brain-computer interface.

As for the HiSilicon's KunPeng chip hosting 4 Akida nodes, I would imagine if that were the case, there would have been a price sensitive IP licensing announcement.

Happy to be wrong though.
Hi MMH.
Just wondering why you think it's not an Akida enabled device because it's implantable?
Parts of the cochlea hearing device are implanted and there has been supposition in the past that we may be involved in future evolved versions of that.
 
  • Like
Reactions: 11 users

Boab

I wish I could paint like Vincent
While on first pass it looks like our company, unfortunately a second reading (to me) shows that it's a neurological implant (a la Musk's Neuralink) brain-computer interface.

@Fullmoonfever As for the HiSilicon's KunPeng chip hosting 4 Akida nodes, I would imagine if that were the case, there would have been a price sensitive IP licensing announcement seeing that the chip is slated for sale this year.

Happy to be wrong though.
When they say "BrainChip will develop and test the Neuroprobe" i feel they are talking about the Company not Akida.
If they were using a Brain Chip aka Neuralink I feel they would have said Neuralink??
We shall see
Regards
 
  • Like
  • Fire
  • Thinking
Reactions: 11 users
Top Bottom