BRN Discussion Ongoing

Diogenese

Top 20
🤔
Just came across this press release by Tachyum dated August 15 - I had to google EDA tools (which they seem to focus on here) and found out they have to do with software, but then the following sentence obviously refers to changes in hardware, doesn’t it? Please correct me, if I am wrong.

“After the Prodigy design team had to replace IPs, it also had to replace RTL simulation and physical design tools.”

I should, however, add that I also found two articles in German whose authors are both very sceptical about Tachyum’s claims and describe the second generation of the supposed Prodigy wonder chip that - just like the first generation (which was never taped out despite several announcements) - so far only exists on paper, as a castle in the sky and too good to be true. One of the authors remarks that there is one thing Tachyum is even better in than raising money and developing processors, and that is writing press releases on a weekly basis.





So while I am not sure what to make of this press release (and have never looked into the company before), I wanted to share it nevertheless, especially since Tachyum liked Brainchip on LinkedIn a couple of months ago.

If their processor upgrade is indeed about switching to Akida IP (I suppose that would have to be through Renesas or MegaChips then, since there has been no new signing of an IP license?), that would explain both the postponement of their universal processor’s tape-out as well as their claims of “industry leading performance” and “potential breakthrough for satisfying the world’s appetite for computing at a lower environmental cost” that a lot of tech experts have been questioning. Tachyum states that “Delivery of the first Prodigy high-performance processors remains on track by the end of the year.” We will see. In various ways.



View attachment 42431





  • Aug 15, 2023 4 minutes to read

Tachyum Achieves 192-Core Chip After Switch to New EDA Tools​

LAS VEGAS, August 15, 2023 – Tachyum® today announced that new EDA tools, utilized during the physical design phase of the Prodigy®Universal Processor, have allowed the company to achieve significantly better results with chip specifications than previously anticipated, after the successful change in physical design tools – including an increase in the number of Prodigy cores to 192.
64 Cores Added

After RTL design coding, Tachyum began work on completing the physical design (the actual placement of transistors and wires) for Prodigy. After the Prodigy design team had to replace IPs, it also had to replace RTL simulation and physical design tools. Armed with a new set of EDA tools, Tachyum was able to optimize settings and options that increased the number of cores by 50 percent, and SERDES from 64 to 96 on each chip. Die size grew minimally, from 500mm2 to 600mm2 to accommodate improved physical capabilities. While Tachyum could add more of its very efficient cores and still fit into the 858mm2 reticle limit, these cores would be memory bandwidth limited, even with 16 DDR5 controllers running in excess of 7200MT/s. Tachyum cores have much higher performance than any other processor cores.

Other improvements realized during the physical design stage are:
  • Increase of the chip L2/L3 cache from 128MB to 192MB
  • Support of DDR5 7200 memory in addition to DDR5 6400
  • More speed with 1 DIMM per channel
  • Larger package accommodates additional 32 serial links and as many as 32 DIMMs connected to a single Prodigy chip
At every step of the process in bringing Prodigy to market, our innovation allows us to push beyond the limits of traditional design and continue to exceed even our lofty design goals,” said Dr. Radoslav Danilak, founder and CEO of Tachyum. “We have achieved better results and timing with our new EDA PD tools. They are so effective that we wish we had used them from the beginning of the process but as the saying goes, ‘Better now than never.’ While we did not have any choice but to change EDA tools, our physical design (PD) team worked hard to redo physical design and optimizations with the new set of PD tools, as we approach volume-level production.”

As a universal processor, the patented Prodigy architecture enables it to switch seamlessly and dynamically from normal CPU tasks to AI/ML workloads, so it delivers high AI/ML performance in both training and inference. AI/ML is increasingly important in the banking industry, and used to iden
tify fraud and cyberattacks before serious financial damage can be done.

Prodigy delivers unprecedented data center performance, power, and economics, reducing CAPEX and OPEX significantly. Because of its utility for both high-performance and line-of-business applications, Prodigy-powered data center servers can seamlessly and dynamically switch between workloads, eliminating the need for expensive dedicated AI hardware and dramatically increasing server utilization. Tachyum’s Prodigy delivers performance up to 4x that of the highest performing x86 processors (for cloud workloads) and up to 3x that of the highest performing GPU for HPC and 6x for AI applications.

With the achievement of this latest Prodigy milestone, Tachyum’s next steps are to complete the substrate package and socket design to accommodate more SERDES lines. Delivery of the first Prodigy high-performance processors remains on track by the end of the year.

Follow Tachyum​

https://twitter.com/tachyum
https://www.linkedin.com/company/tachyum
https://www.facebook.com/Tachyum/

About Tachyum​

Tachyum is transforming the economics of AI, HPC, public and private cloud workloads with Prodigy, the world’s first Universal Processor. Prodigy unifies the functionality of a CPU, a GPGPU, and a TPU in a single processor that delivers industry-leading performance, cost, and power efficiency for both specialty and general-purpose computing. When hyperscale data centers are provisioned with Prodigy, all AI, HPC, and general-purpose applications can run on the same infrastructure, saving companies billions of dollars in hardware, footprint, and operational expenses. As global data center emissions contribute to a changing climate, and consume more than four percent of the world’s electricity—projected to be 10 percent by 2030—the ultra-low power Prodigy Universal Processor is a potential breakthrough for satisfying the world’s appetite for computing at a lower environmental cost. Prodigy, now in its final stages of testing and integration before volume manufacturing, is being adopted in prototype form by a rapidly growing customer base, and robust purchase orders signal a likely IPO in late 2024. Tachyum has offices in the United States and Slovakia. For more information, visit https://www.tachyum.com/.
Hi Frangipani,

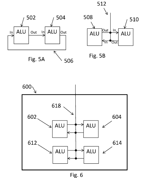
Here's a peek at a couple of Tachyum patents:

US10915324B2 System and method for creating and executing an instruction word for simultaneous execution of instruction operations 20180816 DANILAK RADOSLAV




1692539516199.png


a processing architecture and related methodology that utilizes location-aware processing that assigns Arithmetic Logic Units (ALU) in a processor to instruction operations based on prior allocations of ALUs to prior instruction operations. Such embodiments minimize the influence of internal transmission delay on wires between ALUs in a processor, with a corresponding significant increase in clock speed, reduction in power consumption and reduction in size.

A methodology for creating and executing instruction words for simultaneous execution of instruction operations is provided. The methodology includes creating a dependency graph of nodes with instruction operations, the graph including at least a first node having a first instruction operation and a second node having a second instruction operation being directly dependent upon the outcome of the first instruction operation; first assigning the first instruction operation to a first instruction word; second assigning a second instruction operation: to the first instruction word upon satisfaction of a first at least one predetermined criteria; and to a second instruction word, that is scheduled to be executed during a later clock cycle than the first instruction word, upon satisfaction of a second at least one predetermined criteria; and executing, in parallel by the plurality of ALUs and during a common clock cycle, any instruction operations within the first instruction word.


As you can see, Tachyum are big on ALUs.

It also seems to be unasynchronous.

This one is more recent:


EP3979070A1 SYSTEM AND METHOD OF POPULATING AN INSTRUCTION WORD 20190815

1692540044432.png


1692539802479.png



A methodology for populating an instruction word for simultaneous execution of instruction operations by a plurality of arithmetic logic units, ALUs), in a data path includes creating a dependency graph of instruction nodes, and initially designating any in the dependency graph as global, whereby the corresponding instruction node is expected to require inputs from outside of a predefined limited physical range of ALUs smaller than the full extent of the data path. A first available instruction node is selected from the dependency graph and assigned to the instruction word. Also selected are any available instruction nodes that are dependent upon a result of the first available instruction node and do not violate any predetermined rule, including that the instruction word may not include an available dependent instruction node designated as global. Available dependent instruction nodes are assigned to the instruction word, and the dependency graph updated to remove any assigned nodes from further assignment consideration.


In their blurb, they claim to have designed an all-in-one CPU-GPU-TPU, which they claim performs better than CPUs and GPUs. They need the ALUs to do the CPU/GPU work, but ALUs work on multi-bit numbers, not spikes.

Tachyum’s Prodigy delivers performance up to 4x that of the highest performing x86 processors (for cloud workloads) and up to 3x that of the highest performing GPU for HPC and 6x for AI applications.

Taking Tachyum at their word, this is very commendable, but doing Al/ML on even the best organized CPU/GPU/ALU arrangement will always be inferior to Akida.

(I think that, to accommodate 8-bit weights and actuations, Akida does include a couple of ALUs in the input layer NPUs, but the internal layers only process up to 4-bit weights & actuations)
 

Attachments

  • 1692540024832.png
    1692540024832.png
    28.7 KB · Views: 106
  • Like
  • Fire
  • Love
Reactions: 19 users

Cardpro

Regular
How can you expect meaningful revenue yet?
Where is it coming from?
If Renesas/Megachips have secretly rushed the products to market with Akida nodes inside can you please provide the links to products?
Otherwise I must have missed the ASX ann of a new IP license up front fee, can you provide the link to that?

Another day, another set of unhinged posts from those over-invested in BRN
Sorry, to clarify, I agree that we don't have (or ever had) any meaningful revenue.

I thought we would have them within couple of years after releasing the Akida Gen 1 which we've waited for a long time after multiple failed products.

Yes, Sean said this and that but our revenue is still close to nothing and our MC has dropped so hard and getting close to nothing or around 2015 level day by day. I know you like to blame shorters but truth is that we haven't had anything to prove our worth for the past two years at least (yes we formed partnerships and joined ecosystems but we haven't had any price sensitive announcements relating to revenues or future revenues).

Yes, I get that we have an amazing tech and it takes time to be adopted. But at the same time, we see multiple AI start ups specialising in edge-ai (some using SNN as well) landing deals and partnering with big tech companies listing them on their websites, fundings from big tech companies, etc...

I truely hope Gen 2 is successful and can actually land some IP deals...
 
  • Like
  • Fire
  • Love
Reactions: 13 users

Frangipani

Top 20
Hi Frangipani,

Here's a peek at a couple of Tachyum patents:

US10915324B2 System and method for creating and executing an instruction word for simultaneous execution of instruction operations 20180816 DANILAK RADOSLAV




View attachment 42445

a processing architecture and related methodology that utilizes location-aware processing that assigns Arithmetic Logic Units (ALU) in a processor to instruction operations based on prior allocations of ALUs to prior instruction operations. Such embodiments minimize the influence of internal transmission delay on wires between ALUs in a processor, with a corresponding significant increase in clock speed, reduction in power consumption and reduction in size.

A methodology for creating and executing instruction words for simultaneous execution of instruction operations is provided. The methodology includes creating a dependency graph of nodes with instruction operations, the graph including at least a first node having a first instruction operation and a second node having a second instruction operation being directly dependent upon the outcome of the first instruction operation; first assigning the first instruction operation to a first instruction word; second assigning a second instruction operation: to the first instruction word upon satisfaction of a first at least one predetermined criteria; and to a second instruction word, that is scheduled to be executed during a later clock cycle than the first instruction word, upon satisfaction of a second at least one predetermined criteria; and executing, in parallel by the plurality of ALUs and during a common clock cycle, any instruction operations within the first instruction word.


As you can see, Tachyum are big on ALUs.

It also seems to be unasynchronous.

This one is more recent:


EP3979070A1 SYSTEM AND METHOD OF POPULATING AN INSTRUCTION WORD 20190815

View attachment 42450

View attachment 42448


A methodology for populating an instruction word for simultaneous execution of instruction operations by a plurality of arithmetic logic units, ALUs), in a data path includes creating a dependency graph of instruction nodes, and initially designating any in the dependency graph as global, whereby the corresponding instruction node is expected to require inputs from outside of a predefined limited physical range of ALUs smaller than the full extent of the data path. A first available instruction node is selected from the dependency graph and assigned to the instruction word. Also selected are any available instruction nodes that are dependent upon a result of the first available instruction node and do not violate any predetermined rule, including that the instruction word may not include an available dependent instruction node designated as global. Available dependent instruction nodes are assigned to the instruction word, and the dependency graph updated to remove any assigned nodes from further assignment consideration.


In their blurb, they claim to have designed an all-in-one CPU-GPU-TPU, which they claim performs better than CPUs and GPUs. They need the ALUs to do the CPU/GPU work, but ALUs work on multi-bit numbers, not spikes.

Tachyum’s Prodigy delivers performance up to 4x that of the highest performing x86 processors (for cloud workloads) and up to 3x that of the highest performing GPU for HPC and 6x for AI applications.

Taking Tachyum at their word, this is very commendable, but doing Al/ML on even the best organized CPU/GPU/ALU arrangement will always be inferior to Akida.

(I think that, to accommodate 8-bit weights and actuations, Akida does include a couple of ALUs in the input layer NPUs, but the internal layers only process up to 4-bit weights & actuations)

Thank’s for looking up those Tachyum patents and for your detailed explanation, @Diogenese. While semiconductor tech in general is very much over my head, I do understand you are practically excluding that Akida is involved. 😃

Now that your ogre has long since retired, may I suggest an alternative in the form of an illustration by German humorist, poet, illustrator, and painter Wilhelm Busch (1832-1908), whose most famous work, Max und Moritz – Eine Bubengeschichte in sieben Streichen (Max and Moritz: A Story of Seven Boyish Pranks), was published in 1865. Busch’s black humorous tale, written entirely in rhymed couplets, was illustrated by the author himself and remains a beloved classic of German literature to this day.

A lesser known of his tales is called Diogenese and The Bad Boys of Corinth (1864), about another terrible duo, harassing your namesake, the ancient Greek philosopher, who was quietly lying in his barrel, thinking, when the mischiefs arrived on the scene.
Well, those bad boys ultimately meet their untimely demise, just like Max and Moritz do (https://en.m.wikipedia.org/wiki/Max_and_Moritz), and the old cynic crawls back into his barrel, chuckling contently.

The story’s penultimate illustration would serve well as a replacement for the ogre, whenever you feel pestered by us non-techies... 😂


BACBF7A7-9120-40BB-8B9A-0FD7C7E992A1.jpeg
FDCAC93D-F707-48BD-B40C-0DCD11B785C0.jpeg

BD35DEA8-E765-41E8-B454-77BABA92B6C1.jpeg
 
  • Haha
  • Like
  • Wow
Reactions: 13 users

Frangipani

Top 20
Anyone online that recalls the name of the space industry thingamabob company we recently collaborated with. Ant-something ?

ANT61


Can someone please forward this to @Rise from the ashes , as he purportedly put me on the ignore list a couple of weeks ago…
 
  • Haha
  • Like
  • Fire
Reactions: 11 users

cosors

👀
  • Like
  • Fire
Reactions: 6 users

cosors

👀
  • Like
  • Thinking
Reactions: 2 users

cosors

👀
Last edited:
  • Like
Reactions: 1 users

cosors

👀
One thing is/are (please correct me) personal opinions that can be bulky or complicated. That's why Jamo has rented us a bar, also for music. What takes place there remains there is my suggestion.
I give the poster before absolutely right the whole concerns we know and know and know and know and know again should also land in the appropriate thread.
 
Last edited:
  • Like
  • Love
Reactions: 5 users

cosors

👀
One thing is personal opinions that can be bulky or complicated. That's why Jamo has rented us a bar, also for music. What takes place there remains there is my suggestion.
I give the poster before absolutely right the whole concerns we know and know and know and know and know again should also land in the appropriate thread.
Our burning container is for those who do not want to 'hear'.
 
  • Like
Reactions: 3 users

IloveLamp

Top 20

"While it was no secret Softbank intended to retain a majority control over Arm, Bloomberg reports that as few as 10 percent of the company's shares will be available for purchase. Several Big Tech players, including Nvidia, Apple, Samsung, and Amazon have all expressed interest in becoming anchor investors in the company's IPO. ®"
 
  • Like
  • Fire
Reactions: 14 users

Esq.111

Fascinatingly Intuitive.
Anyone online that recalls the name of the space industry thingamabob company we recently collaborated with. Ant-something ?
Morning Rise,

Ant61 is the name of the space mob.

Regards,
Esq.
 
  • Like
  • Love
Reactions: 11 users

cosors

👀
  • Like
  • Haha
Reactions: 7 users

wilzy123

Founding Member
Yes, I get that we have an amazing tech and it takes time to be adopted. But at the same time, we see multiple AI start ups specialising in edge-ai (some using SNN as well) landing deals and partnering with big tech companies listing them on their websites, fundings from big tech companies, etc...

Equating tangible growth by Brainchip to a series of general vagaries you've stumbled across on the interwebs is not exactly a fair or well considered comparison. Sounds like more bad research or lies.
 
  • Like
  • Fire
Reactions: 8 users

TheFunkMachine

seeds have the potential to become trees.
For those of you who haven’t read the Wevolver 2023 Edge AI technology report here are the slides that mentions Brainchip by Name. I’m confident there are indirect information in the report that is very much relevant to brainchip, however it’s a 117 page pdf so you would have to do the reading yourself.
 

Attachments

  • CBF2FC13-1C22-4501-AABD-7926510098B2.png
    CBF2FC13-1C22-4501-AABD-7926510098B2.png
    845.7 KB · Views: 128
  • E89C38D8-E149-48F0-99E3-F3EB7A48E363.png
    E89C38D8-E149-48F0-99E3-F3EB7A48E363.png
    1 MB · Views: 129
  • FFA68986-8CB2-41A5-AC10-88D000D10CA3.png
    FFA68986-8CB2-41A5-AC10-88D000D10CA3.png
    1.9 MB · Views: 134
  • DA23FF49-EFD5-4411-919B-75F3DAFCA5F0.png
    DA23FF49-EFD5-4411-919B-75F3DAFCA5F0.png
    940.4 KB · Views: 134
  • 13A45210-5350-40AD-8998-144563B23A61.png
    13A45210-5350-40AD-8998-144563B23A61.png
    986.8 KB · Views: 129
  • 750DC5B3-D693-4B0A-BCB4-609E9646C6A9.png
    750DC5B3-D693-4B0A-BCB4-609E9646C6A9.png
    1 MB · Views: 117
  • 68736483-652E-4CCD-944E-01EC4BDA2ED7.png
    68736483-652E-4CCD-944E-01EC4BDA2ED7.png
    1.1 MB · Views: 130
  • E7F0B054-001C-41B6-B372-5278BEEF4551.png
    E7F0B054-001C-41B6-B372-5278BEEF4551.png
    819.6 KB · Views: 123
  • D2D03DD0-9B7D-4AE7-8DEB-7092B4131A0A.png
    D2D03DD0-9B7D-4AE7-8DEB-7092B4131A0A.png
    1 MB · Views: 132
  • 3E0E4F58-B07B-47CC-A860-C536CBE2CB31.png
    3E0E4F58-B07B-47CC-A860-C536CBE2CB31.png
    1.2 MB · Views: 125
  • Like
  • Love
  • Fire
Reactions: 42 users

TheFunkMachine

seeds have the potential to become trees.
For those of you who haven’t read the Wevolver 2023 Edge AI technology report here are the slides that mentions Brainchip by Name. I’m confident there are indirect information in the report that is very much relevant to brainchip, however it’s a 117 page pdf so you would have to do the reading yourself.
 

Attachments

  • 3A37D185-BE11-4246-9916-9E9892ADF196.png
    3A37D185-BE11-4246-9916-9E9892ADF196.png
    1.2 MB · Views: 169
  • Like
  • Love
  • Fire
Reactions: 17 users

robsmark

Regular
simon cowell facepalm GIF
 
  • Haha
  • Sad
  • Like
Reactions: 8 users

Neuromorphia

fact collector
Last edited:
  • Like
  • Fire
Reactions: 20 users

Diogenese

Top 20
Thank’s for looking up those Tachyum patents and for your detailed explanation, @Diogenese. While semiconductor tech in general is very much over my head, I do understand you are practically excluding that Akida is involved. 😃

Now that your ogre has long since retired, may I suggest an alternative in the form of an illustration by German humorist, poet, illustrator, and painter Wilhelm Busch (1832-1908), whose most famous work, Max und Moritz – Eine Bubengeschichte in sieben Streichen (Max and Moritz: A Story of Seven Boyish Pranks), was published in 1865. Busch’s black humorous tale, written entirely in rhymed couplets, was illustrated by the author himself and remains a beloved classic of German literature to this day.

A lesser known of his tales is called Diogenese and The Bad Boys of Corinth (1864), about another terrible duo, harassing your namesake, the ancient Greek philosopher, who was quietly lying in his barrel, thinking, when the mischiefs arrived on the scene.
Well, those bad boys ultimately meet their untimely demise, just like Max and Moritz do (https://en.m.wikipedia.org/wiki/Max_and_Moritz), and the old cynic crawls back into his barrel, chuckling contently.

The story’s penultimate illustration would serve well as a replacement for the ogre, whenever you feel pestered by us non-techies... 😂


View attachment 42452 View attachment 42453
View attachment 42454

Hi Frangipani,

Thanks for the suggested replacement for the superannuated ogre. I'll be sure to leave a couple of projecting nails.

The ogre's work is largely done, as it primarily consisted in debunking suggestions that Akida was already incorporated in various third party products. Apart from the Qualcomm fanperson(s) (whom we would all wish to be proven correct), we now have a much clearer understanding of when Akida will be produced and by whom. Also Akida's dance behind the numerous NDA veils will soon reach its denouement.

There are a couple of reasons to suppose that Akida is not in Prodigy 2.

1. Tachyum attribute the improvements in Prodigy 2 to the EDA PD tools;

2. They also talk about using their patented architecture for both CPU and AI/ML tasks:

"As a universal processor, the patented Prodigy architecture enables it to switch seamlessly and dynamically from normal CPU tasks to AI/ML workloads, so it delivers high AI/ML performance in both training and inference."

As we have seen, their patents cover arrays of ALUs, which are essential for CPU/GPU tasks, but have small importance for Akida, and that only as a concession to the quasi-standard 8-bit model libraries.

That is not to say that Akida could not improve Prodigy 2, but if they want to have a CPU/GPU/TPU all-in-one, they would need to relent on using the same processors for CPU/GPU as they use for the TPU functions.
 
  • Like
  • Fire
  • Love
Reactions: 16 users
Someone here should develop something like this to sell to the government 🤔👿
I'm sure they'd jump at the just to bleed the citizens of more cash.
Had the same system where I live last week.

SC
 
  • Like
Reactions: 3 users

Xray1

Regular
Let's revisit your post in a week Esq. I hope you're right but I'm personally not anticipating anything substantial. Maybe the last 18 months of expectations not being realised has worn me down somewhat. I've become ambivalent to podcasts, partnership announcements, research papers, staff hires, LinkedIn likes - all fluff really if no money is generated as a result. Gen 2 was made specifically to address customer requests. Some of those customers have had about 6 months? early access, the rest will have access soon. Now is when the Gen2 rubber meets the road so there had better be significant fanfare for its release and committed, signed customers (who wanted this iteration of Akida) poste haste, or my current ambivalence will turn into doubt and genuine concern about the actual market penetration of AKIDA and the ability of our team to build meaningful commercial ecosystems. There is no harm in stating that 'yes Gen 2 is being adopted by commercial customers to create world first neuromorphic products' (NDA's or not). Unfortunately until such an emphatic statement is made it's easy to assume that we have no revenue producing customers. That's what the ASX thinks. IMO
I wish I could give you lots of extra red hearts for this very incisive post.
 
  • Like
  • Love
Reactions: 4 users
Top Bottom