BRN Discussion Ongoing

Dhm

Regular
Hopefully.

That's the prob with the NDAs etc as we know.

Is all conjecture without formal notification unfortunately.
MB is not an NDA but rather an EAP. I suppose NVIDIA is an NDA. Gets confusing though.
 
  • Like
  • Fire
  • Thinking
Reactions: 8 users

GStocks123

Regular
Valeo and Mobileye partnership hmmm

 
  • Like
  • Thinking
  • Fire
Reactions: 21 users

Getupthere

Regular

Neuromorphic Computing in Healthcare: Innovations and Applications 2023​

PRESS RELEASE
Published September 5, 2023
Newsmantraa
The Neuromorphic Computing Market research report provides an in-depth overview of the industry including market segmentation by technology, industry vertical, application, and geography. Analysis of the global market with special focus on high growth application in each vertical and fast-growing market segments. Neuromorphic computing is an exciting and revolutionary approach to computer architecture that draws inspiration from the human brain to create more efficient and versatile computing systems. Unlike traditional digital computers, which rely on binary logic and sequential processing, neuromorphic computing seeks to mimic the parallel, energy-efficient, and adaptive nature of biological neural networks.

At its core, neuromorphic computing is all about building hardware and software that can process information in a manner akin to the human brain. This involves using artificial neurons and synapses to perform tasks like pattern recognition, sensory processing, and decision-making. These artificial neurons can mimic the behavior of biological neurons, allowing for parallel processing and distributed computation.

Request Free Sample Report @ https://www.marketdigits.com/request/sample/540


One of the key advantages of neuromorphic computing is its potential for energy efficiency. Traditional digital computers consume a significant amount of power, especially when dealing with complex tasks. In contrast, neuromorphic systems can operate on much lower power levels, making them well-suited for applications where energy conservation is crucial, such as mobile devices and edge computing.

Furthermore, neuromorphic computing holds immense promise for tasks that involve processing sensory data, like vision and audio recognition. These systems can adapt and learn from their environment, just like the human brain, making them highly versatile and capable of handling complex real-world scenarios.

Several research projects and initiatives have been dedicated to advancing neuromorphic computing, with a focus on hardware development and software algorithms. IBM's TrueNorth and Intel's Loihi are notable examples of neuromorphic hardware, while software frameworks like NEST and SpiNNaker have been developed to support the simulation of large-scale neural networks.

In conclusion, neuromorphic computing represents a significant paradigm shift in the world of computing. By taking inspiration from the human brain, it offers the potential for more energy-efficient, adaptive, and versatile computing systems that can excel in tasks ranging from artificial intelligence to sensor processing and beyond. As research and development in this field continue to progress, we can expect to see increasingly innovative applications and solutions that leverage the power of neuromorphic computing.

The research covers the current and historic neuromorphic computing market size and its growth trend with company outline of key players/manufacturers: Hewlett-Packard, Samsung Electronics Co. Ltd., Intel Corporation, HRL Laboratories, Vicarious FPC, Inc., Numenta, Inc., CEA-Leti, IBM Corporation, Qualcomm Inc., Brain Corporation, and General Vision Inc. among others.

“Samsung Electronics Puts Forward a Vision To ‘Copy and Paste’ the Brain on Neuromorphic Chips”
With Harvard Researchers, Samsung introduces a new approach to reverse engineer the brain on a memory chip, in a Perspective paper published in Nature Electronics


Request For Discount @ https://www.marketdigits.com/request/discount/540

Major classifications are as follows: By Technology
  • Hardware
  • Software
By Industry Vertical
  • IT & Telecom
  • Medical
  • Consumer Electronics
  • Aerospace & Defense
  • Automotive
  • Industrial
  • Others
By Application
  • Data Mining
  • Image Recognition
  • Object Detection
  • Signal Recognition
Enquire about the report @ https://www.marketdigits.com/request/enquiry-before-buying/540

The field of neuromorphic computing has been rapidly evolving, driven by advancements in hardware, software, and applications. Several key developments are shaping the neuromorphic computing market:


Hardware Advancements: The development of specialized neuromorphic hardware accelerators has been a significant driver. Companies like Intel (Loihi), IBM (TrueNorth), and BrainChip (Akida) have made strides in creating chips designed to mimic the behavior of biological neurons. These developments have increased the computational power and energy efficiency of neuromorphic systems.

Increased Investment: Both public and private investments in neuromorphic computing have surged. Governments, research institutions, and tech giants are allocating significant resources to advance research and development in this field. This influx of funding has accelerated progress and expanded the market.

AI and Machine Learning Integration: Neuromorphic computing is finding applications in AI and machine learning. Researchers are exploring ways to integrate neuromorphic hardware into existing AI algorithms and frameworks. This integration enhances AI's ability to process sensory data and perform complex tasks more efficiently.

Cross-Industry Adoption: Neuromorphic computing is not limited to one industry. Its applications span robotics, healthcare (neuromorphic chips for medical devices and diagnostics), automotive (for autonomous vehicles and driver assistance systems), and more. This cross-industry adoption is diversifying the market.

Neuromorphic Software Ecosystem: The development of software tools and frameworks tailored for neuromorphic systems is crucial. These include simulators, programming languages, and neural network libraries specifically designed for neuromorphic hardware. An emerging software ecosystem supports easier development and deployment of neuromorphic applications.

Neuromorphic Sensors: Neuromorphic sensors, which mimic the human senses, are gaining attention. These sensors can process data locally, reducing the need for extensive data transmission and central processing. Applications include visual and auditory processing for IoT devices and edge computing.

Partnerships and Collaborations: Companies and research institutions are increasingly forming partnerships and collaborations to pool resources and expertise in neuromorphic computing. This collaborative approach expedites research and development and opens new opportunities for market growth.

Quantum Neuromorphic Computing: The intersection of quantum computing and neuromorphic computing is an emerging area of interest. Quantum neuromorphic systems could potentially offer even more powerful and energy-efficient computation capabilities, although this field is still in its infancy.


Read more: https://www.digitaljournal.com/pr/n...novations-and-applications-2023#ixzz8CQTy7FuP
 
  • Like
  • Fire
  • Love
Reactions: 19 users

Foxdog

Regular
Valeo and Mobileye partnership hmmm

Aren't mobileye a direct competitor for BRN?
 
  • Like
  • Sad
Reactions: 3 users

rayzor

Regular
Top movers on ASX 200 index


In the news today. Top and Bottom movers for the day A little positive news how 1/2 cent can make your day
 
  • Like
  • Love
  • Fire
Reactions: 13 users

Diogenese

Top 20
MB is not an NDA but rather an EAP. I suppose NVIDIA is an NDA. Gets confusing though.
Hi dhm,

Most EAPs would be NDAs.

I think (& hope) MB is very much an NDA. They will have the right to control the release of information. They told us about "Hey Mercedes!" but nothing else.

Lots we don't know:

Driver monitoring system
in-cabin occupancy
Driver recognition
ADAS (lidar, camera, ultrasound, ...)

Is Akida in the EQE?

Is the Luminar lidar hooked up to Akida in CLA?
 
  • Like
  • Fire
  • Thinking
Reactions: 45 users

Foxdog

Regular

I must have missed it. I didn't hear neuromorphic, Brainchip or AKIDA mentioned, yet there are lots of fire emojis and hearts, likes etc. Can someone please tell me why this interview suggests BRN is still involved
 
  • Like
  • Fire
Reactions: 8 users

suss

Regular
Hi dhm,

Most EAPs would be NDAs.

I think (& hope) MB is very much an NDA. They will have the right to control the release of information. They told us about "Hey Mercedes!" but nothing else.

Lots we don't know:

Driver monitoring system
in-cabin occupancy
Driver recognition
ADAS (lidar, camera, ultrasound, ...)

Is Akida in the EQE?

Is the Luminar lidar hooked up to Akida in CLA?
+Drivetrain monitoring
 
  • Like
Reactions: 1 users

robsmark

Regular
MB is not an NDA but rather an EAP. I suppose NVIDIA is an NDA. Gets confusing though.
Hey Dhm,

I can tell you without a shadow of a doubt that if MB are an EAP customer, they’re under an NDA. I’ve signed countless NDAs as a consultant and they are usually at a very early stage of any contractual discussion.

With a tech like Akida, Brainchip would have all EAP customers signing a watertight NDA. This would protect their IP should the customer decide against using Akida (also applicable if they do). The conditions attached to that NDA are anyone’s guess, but the tweet last year tells me one of two things:

1. MB aren’t an NDA customer (for what it’s worth I believe they are); or
2. There is nothing in the NDA prohibiting about referencing the Akida generally, and it solely focuses on technical attributes.

It could also be that MB received a “please explain” from Brainchip last year following the tweet, resulting in their continued silence since.

Just some rambling thoughts.
 
Last edited:
  • Like
  • Fire
  • Love
Reactions: 22 users

Diogenese

Top 20
Valeo and Mobileye partnership hmmm


This is one of Mobileye's radar patent applications:


WO2023067385A2 RADAR-CAMERA FUSION FOR VEHICLE NAVIGATION 20211018


1693911094347.png



Systems and methods for navigating a host vehicle based on RADAR-camera fusion are disclosed. In one implementation, a system includes a processor configured to receive images acquired by a camera onboard the host vehicle; identify a representation of a target vehicle in one of the images; receive from a RADAR system an indicator of a range between the host vehicle and the target vehicle; based on analysis of the images, identify in the image a ground intersection point associated with the target vehicle and a road surface; and determine an elevation value for the road surface based on the indicator of the range between the host vehicle and the target vehicle, the determined ground intersection point, and an angle of inclination between an optical axis of the camera and a ray directed toward a location of the ground intersection point.

And this is their NN processor:
US2022215226A1 NEURAL NETWORK PROCESSOR

1693912834815.png


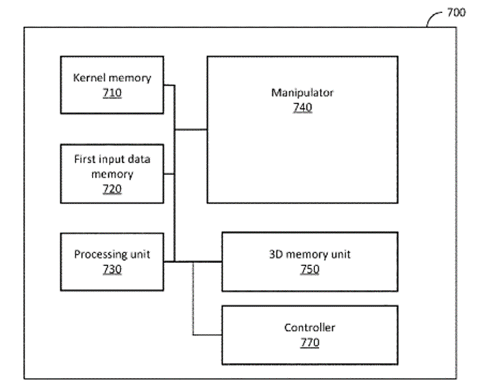
[0103] The neural network processor 700 includes kernel memory 710 , a first input data memory 720 , a 3D memory unit 750 , a hardware processing unit 730 , a manipulator 740 , and a controller 770 . The controller 770 is configured to control the neural network processor 700 . Kernel memory 710 is configured to store a group of kernels utilized in neural network processing. The first input data memory 720 is configured to store first layer input data, such as the 2D first input values 401 illustrated above with respect to FIG. 4. In some embodiments, the 3D memory unit 750 includes the structure illustrated with respect to FIG. 9. In these embodiments, the 3D memory unit 750 includes data paths between at least some corresponding storage elements in adjacent rows of the 3D memory unit 750 , as illustrated above with respect to FIG. 9 and data path 661.
[0104] The hardware processing unit 730 is configured to perform neural network processing operations, for example, convolution, maxpool (or any other reduction function), multiplying, adding, subtracting, and the like. The hardware processing unit 730 may include, adder 652 A and multiplier 650 A of FIG. 6 and addr 652 B and multiplier 650 B of FIG. 7 in at least some embodiments.

Can't help feeling there must be a better way of doing this?!
 
  • Like
  • Thinking
  • Fire
Reactions: 13 users
This is one of Mobileye's radar patent applications:


WO2023067385A2 RADAR-CAMERA FUSION FOR VEHICLE NAVIGATION 20211018


View attachment 43946


Systems and methods for navigating a host vehicle based on RADAR-camera fusion are disclosed. In one implementation, a system includes a processor configured to receive images acquired by a camera onboard the host vehicle; identify a representation of a target vehicle in one of the images; receive from a RADAR system an indicator of a range between the host vehicle and the target vehicle; based on analysis of the images, identify in the image a ground intersection point associated with the target vehicle and a road surface; and determine an elevation value for the road surface based on the indicator of the range between the host vehicle and the target vehicle, the determined ground intersection point, and an angle of inclination between an optical axis of the camera and a ray directed toward a location of the ground intersection point.

And this is their NN processor:
US2022215226A1 NEURAL NETWORK PROCESSOR

View attachment 43948

[0103] The neural network processor 700 includes kernel memory 710 , a first input data memory 720 , a 3D memory unit 750 , a hardware processing unit 730 , a manipulator 740 , and a controller 770 . The controller 770 is configured to control the neural network processor 700 . Kernel memory 710 is configured to store a group of kernels utilized in neural network processing. The first input data memory 720 is configured to store first layer input data, such as the 2D first input values 401 illustrated above with respect to FIG. 4. In some embodiments, the 3D memory unit 750 includes the structure illustrated with respect to FIG. 9. In these embodiments, the 3D memory unit 750 includes data paths between at least some corresponding storage elements in adjacent rows of the 3D memory unit 750 , as illustrated above with respect to FIG. 9 and data path 661.
[0104] The hardware processing unit 730 is configured to perform neural network processing operations, for example, convolution, maxpool (or any other reduction function), multiplying, adding, subtracting, and the like. The hardware processing unit 730 may include, adder 652 A and multiplier 650 A of FIG. 6 and addr 652 B and multiplier 650 B of FIG. 7 in at least some embodiments.

Can't help feeling there must be a better way of doing this?!

Hi @Diogenese

Would I be right in reading the patent date of 18/10/2021 ?

Reading the Valeo/MobileEye partnership announcement I thought it left the door open to Valeo supplying the hardware?

“Valeo will lead the system design of the new imaging radar product by integrating Mobileye’s groundbreaking imaging radar technology and corresponding software and algorithms embedded in the Mobileye Radar chipset into Valeo’s automotive software and hardware radar solutions. Leveraging Valeo’s expertise in producing the latest automotive technologies at scale and its global industrial footprint, the complete Imaging radar solution will be produced by Valeo.”

But then again if that were the case what would they need Mobileye for so maybe I’m wrong on that?
 
  • Like
  • Thinking
Reactions: 4 users

Quatrojos

Regular
Hey Dhm,

I can tell you without a shadow of a doubt that if MB are an EAP customer, they’re under an NDA. I’ve signed countless NDAs as a consultant and they are usually at a very early stage of any contractual discussion.

With a tech like Akida, Brainchip would have all EAP customers signing a watertight NDA. This would protect their IP should the customer decide against using Akida (also applicable if they do). The conditions attached to that NDA are anyone’s guess, but the tweet last year tells me one of two things:

1. MB aren’t an NDA customer (for what it’s worth I believe they are); or
2. There is nothing in the NDA prohibiting about referencing the Akida generally, and it solely focuses on technical attributes.

It could also be that MB received a “please explain” from Brainchip last year following the tweet, resulting in their continued silence since.

Just some rambling thoughts.
The NDA is likely one-sided.

Why would BRN want to ensure that Mercedes remains quiet about their tech?

Also rambling...
 
  • Like
Reactions: 6 users

IloveLamp

Top 20
Hi dhm,

Most EAPs would be NDAs.

I think (& hope) MB is very much an NDA. They will have the right to control the release of information. They told us about "Hey Mercedes!" but nothing else.

Lots we don't know:

Driver monitoring system
in-cabin occupancy
Driver recognition
ADAS (lidar, camera, ultrasound, ...)

Is Akida in the EQE?

Is the Luminar lidar hooked up to Akida in CLA?
Yes and yes. You're welcome 😜
 
  • Like
  • Haha
Reactions: 2 users

IloveLamp

Top 20
Last edited:
  • Like
  • Fire
  • Thinking
Reactions: 11 users

robsmark

Regular
The NDA is likely one-sided.

Why would BRN want to ensure that Mercedes remains quiet about their tech?

Also rambling...
If MB are working with Brainchip to test integration of Akida into their product, who knows what sensitive information they could potentially be exposed to. I can almost guarantee that the NDA would not be one sided. Both parties would have their own agreements.
 
  • Like
Reactions: 18 users

There was very little detail on the new Series 3 platform itself (you could call this a pre-announcement). But Johnson said things like, “this is a watershed moment,” and “this would increase the adoption of IoT to the next level.” He also emphasized that the new platform wasn’t just an incremental step but a massive step–in terms of enabling 100× improvement in compute performance for AI/ML workloads, more security and greater power efficiency.

In his Q&A session with media, Johnson said that the AI/ML-workload-performance improvement is enabled by architectural design innovation, using proprietary compute engines developed with efficiency for the edge in mind.
@Tothemoon24

Was just reading that article you posted and the interesting statement I'm pondering :unsure:

A couple of ML Dev tools they offer / partner with just happen to also be Edge Impulse and TensorFlow.

Never know :)

He added, “Our Series 3 platform is built for a more connected world that demands development flexibility and that more intelligence be pushed to the edge.”

The new platform will move to a 22-nm process technology mode and leverage non-volatile memory tech and off-the-shelf IP blocks.
 
  • Like
  • Fire
  • Wow
Reactions: 23 users

cosors

👀
Last post from me here and if someone who has contact with zee can you tell him to check email
Regards to deletion of my account.
I'll leave you with this as a parting gift.
View attachment 43902
Rise!
Whatever comes I wish you a good time! I for one will miss you very much and thank you for all the information you shared with us, but also for the good conversation in the bar and here! Your heart is in/at (?) the right place.

And of course I hope that zee doesn't receive your mail because it ends up in the junk and you can still sneak around here. It would be pitty if you didn't.
So hopefully see you again and please say hello to Bacon for me if you are still in contact.
At the latest when the SNN jacket Akida-inside from your post is available in the shops I expect you in the bar for a beer with homemade bread and good tunes from DJ Esq. Whether with your current avatar because your mail has rotted in zee's junk-bin or fresh with a new avatar. Have a good time, enjoy the time and enjoy the ride on this infinitely spinning ball!

See you then!
 
Last edited:
  • Love
  • Like
Reactions: 28 users

Jasonk

Regular
I hope qualcomm are buying akida from ARM while they are one of the top clients.
Screenshot_20230905_224231_Chrome.jpg


Screenshot_20230905_230144_Chrome.jpg
 
Last edited:
  • Like
  • Thinking
  • Sad
Reactions: 20 users
Couple years old but interesting slide from a presso on ADAS sensor trends etc

Can see who is or were possibly playing with neuromorphic cameras.

EXECUTIVE LENS
Summarized insights for ADAS
Sensors w.r.t. trends in technology,
market and players
H1 2020

IMG_20230905_235047.jpg
 
  • Like
  • Fire
  • Love
Reactions: 16 users

TECH

Top 20
Good morning,

18 business days left in the month.....looking forward to more positive news, for example, an IP license/s announced to coincide with
the release of AKD II....now that would be exciting, don't hold your breath, but that would be a great silencer to muzzle the no-believers.

Not an easy period that we are ALL going through at present, we are ALL being tested, including the staff, I'm sure that they ALL want to
see real results on the board as well.

Tech (NZ) :coffee::geek:
 
  • Like
  • Love
  • Fire
Reactions: 50 users
Top Bottom