BRN Discussion Ongoing

alwaysgreen

Top 20
The following is who Millennium are:

“Overview​

Update this profile
Investor Type
  • Venture Capital
Status
  • Active
Professionals
  • 7
Investments
  • 120
Portfolio
  • 20
Exits
  • 79

Description​

Founded in 2002, Millennium Technology Value Partners has served as a pioneer and force for innovation within the venture community, providing extraordinary companies and their teams with the most flexible forms of capital imaginable. Millennium invests in best-in-class technology companies, including companies developing and implementing deep tech themes, such as artificial intelligence, machine learning, autonomous machines, cybersecurity, and robotics and sensors, and others”

They are Venture Capitalists like LDA Capital.

LDA Capital said great things about Brainchip.

Millennium are saying great things about Syntiant.

Both want to make a profit from the companies they have funded.

Who did Mercedes speak about in glowing terms Brainchip or Syntiant?

Who did MegaChips speak about in glowing terms Brainchip or Syntiant?

Who did Socionext say we’re going to keep them ahead in the technology race Brainchip or Syntiant?

Who did NASA fund to have Vorago Hardsil their chip Brainchip or Syntiant?

My opinion only DYOR
FF

AKIDA BALLISTA

I don't disagree but a number of the quotes at the link are from Renasas' management. They seem to have gone quiet on Brainchip and have focused a lot of their attention (including funds) into Syntiant as an investor.

Time will tell if they are still planning on implementing Akida in their products.
 
  • Like
Reactions: 4 users

miaeffect

Oat latte lover
Yes well done, I did 20% last September, October got in for $0.46 c
My super has never looked so good.
I have about 7 years to I retire
So it will be an interesting ride to that day
That with the other 166000 shares I hold
Who knows where we will be in 7 years.
I just wonder if we will look back on this day sp in the small 90’s and go wow I didn’t think we would 1000x it
Enjoy your investment your on the right track.
Ferrari or Lambo or Bentley or Rolls or Aston
For you!!!
 
  • Like
  • Haha
Reactions: 3 users
I don't disagree but a number of the quotes at the link are from Renasas' management. They seem to have gone quiet on Brainchip and have focused a lot of their attention (including funds) into Syntiant as an investor.

Time will tell if they are still planning on implementing Akida in their products.
Well we will all have great actions against Peter van der Made and Sean Hehir if you are right or they could be telling the truth in which event the Renesas MCU incorporating AKIDA technology IP will be in the market this year.

Those who do not believe that they can rely on the CEO and Founder of a company should invest elsewhere.

My opinion only DYOR
FF

AKIDA BALLISTA
 
  • Like
  • Fire
Reactions: 36 users

Diogenese

Top 20
Hi Vanman,

We've looked at Syntiant a couple of times here and "there".

They have a Frankenstein neural arrangement blending analog and digital circuitry.

We looked at Syntiant earlier this (last) year, but they are worth another look.

Many of their patents relate to the computerized design of analog or digital circuits, voice and image recognition.
They started with analog NNs until 2017, progressed through hybrid analog/digital NNs:

US2019034790A1 Systems And Methods For Partial Digital Retraining

https://worldwide.espacenet.com/pat...5/publication/US2019034790A1?q=US2019034790A1



[0007] Disclosed herein is a neuromorphic integrated circuit including, in some embodiments, a multi-layered analog-digital hybrid neural network. The neural network includes a number of analog layers configured to include synaptic weights between neural nodes of the neural network for decision making by the neural network. The neural network also includes at least one digital layer. The digital layer is configured for programmatically compensating for weight drifts of the synaptic weights of the neural network, thereby maintaining integrity of the decision making by the neural network.



[0050] Since the analog multiplier array 200 is an analog circuit, input and output currents can vary in a continuous range instead of simply on or off. This is useful for storing weights of the neural network as opposed to digital bits; however, such weights are subject to weight drifts on account of, for example, electrostatic discharge from cells including transistors programmed with the weights. (See FIG. 4 and accompanying programming description.) In operation of the analog multiplier array 200 , the weights are multiplied by input currents to provide output currents that are combined to arrive at a decision of the neural network. Should the analog layers of the neural network begin to arrive at incorrect decisions (e.g., incorrectly classifying one or more test images of cats to be dogs or incorrectly estimating a person's age from a photograph) on account of weight drifts in the analog layers of the neural network, the digital layer of the neural network can be programmed to correct for the weight drifts allowing the neural network to arrive at correct decisions (e.g., correctly classifying the one or more test images of the cats to be cats or correctly estimating a person's age from a photograph)
.

View attachment 3405


View attachment 3406

[0056] FIG. 5 illustrates a multi-layered hybrid analog-digital neural network 500 in accordance with some embodiments. As shown, the hybrid neural network 500 includes a number of data inputs, a number of analog layers, a digital layer, and a number of data outputs. The number of analog layers is disposed between the number of data inputs and the digital layer. The digital layer is disposed between the number of analog layers and a number of data outputs. Programmable cells including transistors (e.g., cells including transistors M 1 and M 2 of FIG. 4) in the number of analog layers can be programmed with an initial set of weights as set forth herein for one or more classification problems, one or more regression problems, or a combination thereof. During operation of the number of analog layers, which are disposed in an analog multiplier array (e.g., the analog multiplier array 300 ), the weights are multiplied by input currents to provide output currents that are combined to arrive at a decision of the hybrid neural network 500 by means of one or more of the number of data outputs. Decision making for the regression problems includes predicting continuous quantities corresponding to data input into the number of data inputs (e.g., estimating a person's age from a photograph). Decision making for the classification problems includes predicting discrete classes corresponding to data input into the number of data inputs (e.g., classifying an image as an image of a cat or a dog).

###########################################################


PROCESSING MODULES AND METHODS THEREOF
https://worldwide.espacenet.com/pat...8/publication/WO2020028693A1?q=WO2020028693A1

View attachment 3407


This describes primary and secondary NNs, but they don't describe the circuit layout for individual neuromorphic processing units.

BrainChip uses 2 NNs, a "watchdog" NN, and a classifier NN in its key word spotting patent:

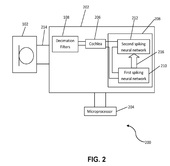
US2017229117A1 LOW POWER NEUROMORPHIC VOICE ACTIVATION SYSTEM AND METHOD


View attachment 3411


a system and method for controlling a device by recognizing voice commands through a spiking neural network. The system comprises a spiking neural adaptive processor receiving an input stream that is being forwarded from a microphone, a decimation filter and then an artificial cochlea. The spiking neural adaptive processor further comprises a first spiking neural network and a second spiking neural network. The first spiking neural network checks for voice activities in output spikes received from artificial cochlea. If any voice activity is detected, it activates the second spiking neural network and passes the output spike of the artificial cochlea to the second spiking neural network that is further configured to recognize spike patterns indicative of specific voice commands. If the first spiking neural network does not detect any voice activity, it halts the second spiking neural network.


#############################################

Syntiant also work with Renesas:

Advanced voice and image processing capabilities at the edge are provided through a unique
combination of low-power, multi-modal, multi-feature AI inference capabilities
This solution combines Renesas’ RZ/V2M vision AI microprocessor unit (MPU) and Syntiant’s
NDP120 Neural Decision Processo
r™

View attachment 3409
############################################
Syntiant Introduces Second Generation NDP120 Deep Learning Processor for Audio and Sensor Apps
https://www.syntiant.com/post/syntiant-introduces-second-generation-ndp120-deep-learning-processor-for-audio-and-sensor-apps
“The NDP120 is the first of a family of semiconductors using our next generation Syntiant Core 2 tensor processor platform that brings performance levels previously found in plugged-in devices to a power level suitable to run on batteries,” said Kurt Busch, CEO of Syntiant. “We took years of real world, low-power edge deep learning experience to develop this architecture into a scalable design optimized to bring neural processing to power constrained deployments
.”

The Syntiant® NDP200™ is a special-purpose processor for deep learning and is ideal for always-on applications in battery-powered devices. The NDP200 applies neural processing to run multiple applications simultaneously with minimal battery power consumption. Built using the Syntiant Core 2™ programmable deep learning architecture, NDP200 is designed to natively run deep neural networks (DNN) on a variety of architectures, such as CNN, RNN, and fully connected networks, and it performs vision processing with highly accurate inference at under 1mW. NDP200 brings a level of ML performance that delivers 25x the tensor throughput than the Syntiant Core 1™ found in the Syntiant NDP100™ that are currently shipping in high volume. A programmable Tensilica Hifi3 DSP Is also added for feature extraction and signal processing.


View attachment 3412


View attachment 3413

An Easy-to-Use Powerful Neural Network
The Syntiant Core 2 moves larger neural networks into always-on domains with capacity to generate shared embeddings, run ensembles, and other neural architectures concurrently or in cascades. The Syntiant Core 2 is a tensor processing core built from the ground up to support energy efficient inference without compromising ease of programming. This second generation architecture delivers 25x the tensor throughput of the Syntiant Core 1™ found in the Syntiant® NDP100™ and Syntiant® NDP101™ devices that are currently shipping in high volumes.

Graph Native:
The Syntiant Core 2 is built around a highly optimized tensor-based memory and processing system designed to avoid inefficiencies in stored program architectures. Each layer independently controls its parameter, input, and output tensors consistent with graph-based execution, enabling neural designers with full control of multiple concurrent independent networks, or swapping network configurations depending on operating conditions.

Framework Support:
The Syntiant Core 2 training development kit includes tools for running bit-exact simulations directly within high-level modeling languages, such as Tensorflow and Keras. All major frameworks can port to the Syntiant Core 2 runtime, including native support for multiple types of convolutional kernels, kernel striding, kernel dilation, downsampling layers, fully connected layers, pointwise operations, and a variety of activations.

Compression When You Want It:

The evolving practice of neural compression is natively supported by the Syntiant Core 2. Network architectures can mix 1-, 2-, 4-, and 8-bit weights and higher precision bias terms. For the most challenging tasks, the Syntiant Core 2 supports high precision modes, including 16-bit inputs and outputs. Quantize inference when wanted, but not just because the edge processor requires it.

Secret Sauce:
The Syntiant Core 2 supports a variety of task-dependent under the hood optimizations for sparsity and time series that speed up inference and reduce power requirements without extensive post-training network optimization. With design tools supplied by Syntiant, it is possible to explore the complete power, latency, memory, and parameter requirements on the Syntiant Core 2 interactively, and perform large scale hardware-aware hyperparameter searches with the same tools. The Syntiant Core 2 can shorten time-to-product by months or years as compared to more constrained and power-intensive solutions. “Syntiant’s highly configurable deep neural network provides enormous flexibility for low-power audio applications and feature extraction,” said Clark Peng, vice president, head of product management at MSI, a world leader in gaming. “The NDP120’s programmable DSP combined with its highly accurate inference engine are ideal for creating high performance voice command applications that can run across both traditional and machine learning algorithms.”

This article provides an english translation: https://www.enterpriseai.news/2021/01/08/syntiant-aims-new-ai-chip-at-always-on-edge/ Syntiant Aims New AI Chip at ‘Always-On’ Edge January 8, 2021 by George Leopold

Under review as a conference paper at ICLR 2020

HIGH-PERFORMANCE RNNS WITH SPIKING NEURONS


One of the trolls at the crapper posted this link.


I'm not going to lie, this line is a little concerning.

“We have researched dozens of edge AI chip companies, and Syntiant is the first we have seen to develop a software-centric turnkey solution that is already being deployed at scale,” said Jay Chong, partner at Millennium Technology Value Partners. “When it comes to semiconductors, benchmarking hardware performance is always important, but ease of integration and implementation are equally important.”

What are everyone's thoughts? Plenty of room for both?
Hi ag,

The Syntiant 2-stage key-word detector, PCT application:

WO2020028693A1 SENSOR-PROCESSING SYSTEMS INCLUDING NEUROMORPHIC PROCESSING MODULES AND METHODS THEREOF

1. A sensor-processing system, comprising:

a sensor;

one or more sample pre-processing modules configured to process raw sensor data for use in the sensor-processing system;

one or more sample-processing modules configured to process pre-processed sensor data including extracting features from the pre-processed sensor data;

one or more neuromorphic ICs, each neuromorphic IC including at least one neural network configured to arrive at actionable decisions of the neural network from the features extracted from the pre-processed sensor data; and

a microcontroller including at least one central-processing unit (“CPU”) along with memory including instructions for operating the sensor-processing system
.

has run afoul of BrainChip's:

US2017229117A1 LOW POWER NEUROMORPHIC VOICE ACTIVATION SYSTEM AND METHOD
equivalent to US10157629B2 Low power neuromorphic voice activation system and method

1. A neuromorphic system for controlling an electronic device through voice control commands, the system comprising:

a spiking neuron adaptive processor comprising a hierarchical arrangement of a first spiking neural network and a second spiking neural network,

wherein the first spiking neural network is configured to:

receive output spikes from an artificial cochlea,

wherein the artificial cochlea is configured to produce the output spikes based on a pulse code modulation signal,

wherein one or more decimation filters convert a pulse density modulation signal into the pulse code modulation signal, and

wherein one or more microphones convert a voice signal into the pulse density modulation signal;

perform a cognitive and learning function that detects spike patterns in the output spikes,

wherein the spike patterns indicate a presence of a voice activity in the output spikes; and

activate the second spiking neural network through a digital interface from a low energy halted or off state based on the presence of the voice activity in the output spikes
.

in the International Search Report.




1648555426334.png



Note that category "X" citations are considered by the patent examiner to wholly anticipate the listed claims on their own, while category "Y" citations are considered to anticipate the listed claims when combined with other category "Y" citations.

The equivalent Syntiant application in the US has not yet been examined by the USPTO, but, for US origin applications, the ISR is performed by the USPTO examiners.

The Syntiant arrangement may have been designed to circumvent the BrainChip patent, but the drawings illustrate an arrangement which may infringe the BrainChip patent. If the Syntiant NDP 100 conforms to Figure 3 of their patent application, BrainChip may well closely scrutinize the NDP 100.
1648556678260.png


.
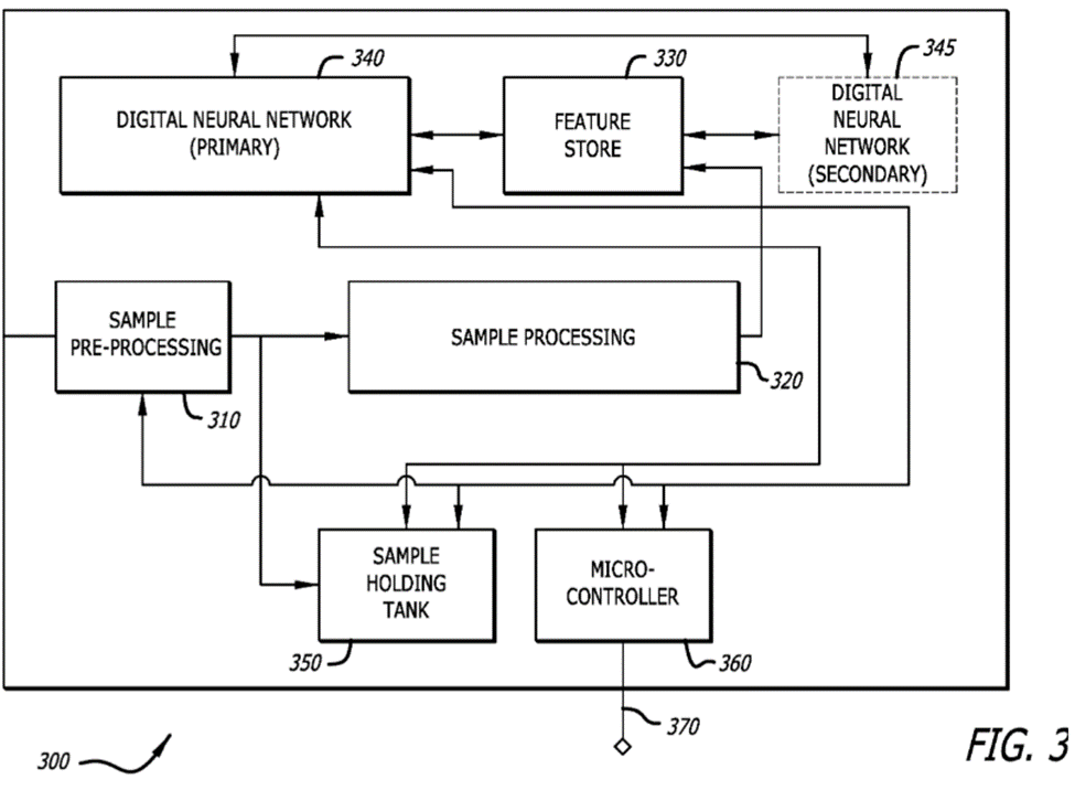
[0055] In many embodiments, the sensor-processing system 300 can include an input 305 which feeds into a sample pre-processing unit 310. A sample processing unit 320 can be commutatively coupled with a feature store 330 and the sample pre-processing unit 310. In further embodiments, a digital neural network 340 can be a primary network within the sensor processing system. In certain embodiments, a digital neural network 345 can act as a secondary network and be in communication with the primary digital neural network 340. The sensor processing system 300 may also include a micro-controller 360 which can provide a general purpose input/output 370 connection. In additional embodiments, a sample holding tank 350 may be implemented with the sample processing 320 and pre-processing 310 units.
 

Attachments

  • 1648555409765.png
    1648555409765.png
    90.6 KB · Views: 123
  • Like
  • Fire
Reactions: 30 users

Kachoo

Regular
What I'm trying to wrap my head around is what the payroll for 100 plus employees will be annually. We are looking at 15 to 20 million. I am thinking we will soon see a lift in revenue possibly q3.
 
  • Like
  • Fire
Reactions: 15 users

Slade

Top 20
Taken from the MegaChips website, the text below shows that BrainChip is an important part of MegaChip's business model in the US. This is a strategic move made by a successful Japanese company. I believe a great deal of research would have been conducted by MegaChips prior to them selecting BrainChip as one of their two AI IP providers.

Moving to the US
MegaChips came to the United States in 1995, but kept a low profile. However it has made a number of strategic investments in the US. It acquired SiTime Corp, located in Santa Clara CA, in 2014 and then spun it out as a public company in 2019. In July 2021, MegaChips invested in SiliconBrite, a company focused on analog and mixed-signal technologies. Later in 2021, MegaChips struck a strategic partnership with Motus-Labs to work jointly on products for the robotics and automated equipment.
In a much more aggressive move, in mid-2020, founder and Chairman, Masahiro Shindo, identified AI/ML technology to be critical to Megachips’ future and asked the US operation to take a leadership position in moving the company in that direction.

MegaChips began an internal training program to allow a group of dedicated engineers to become experts in this important technology. The company made significant investments in the US to identify key partners, build relationships with local universities, and acquire key talent in this space. In 2021, the company made multi-million-dollar investments in two key AI/IP partners, Brainchip and Quadric, to bolster its offerings in the Edge AI market. The company is now positioned to make an aggressive move into the US ASIC market, using its skills in Edge AI as a key component of that move.

1648562244723.png

Masahiro Shindo
 
  • Like
  • Fire
  • Love
Reactions: 72 users

Esq.111

Fascinatingly Intuitive.
Hi ag,

The Syntiant 2-stage key-word detector, PCT application:

WO2020028693A1 SENSOR-PROCESSING SYSTEMS INCLUDING NEUROMORPHIC PROCESSING MODULES AND METHODS THEREOF

1. A sensor-processing system, comprising:

a sensor;

one or more sample pre-processing modules configured to process raw sensor data for use in the sensor-processing system;

one or more sample-processing modules configured to process pre-processed sensor data including extracting features from the pre-processed sensor data;

one or more neuromorphic ICs, each neuromorphic IC including at least one neural network configured to arrive at actionable decisions of the neural network from the features extracted from the pre-processed sensor data; and

a microcontroller including at least one central-processing unit (“CPU”) along with memory including instructions for operating the sensor-processing system
.

has run afoul of BrainChip's:

US2017229117A1 LOW POWER NEUROMORPHIC VOICE ACTIVATION SYSTEM AND METHOD
equivalent to US10157629B2 Low power neuromorphic voice activation system and method

1. A neuromorphic system for controlling an electronic device through voice control commands, the system comprising:

a spiking neuron adaptive processor comprising a hierarchical arrangement of a first spiking neural network and a second spiking neural network,

wherein the first spiking neural network is configured to:

receive output spikes from an artificial cochlea,

wherein the artificial cochlea is configured to produce the output spikes based on a pulse code modulation signal,

wherein one or more decimation filters convert a pulse density modulation signal into the pulse code modulation signal, and

wherein one or more microphones convert a voice signal into the pulse density modulation signal;

perform a cognitive and learning function that detects spike patterns in the output spikes,

wherein the spike patterns indicate a presence of a voice activity in the output spikes; and

activate the second spiking neural network through a digital interface from a low energy halted or off state based on the presence of the voice activity in the output spikes
.

in the International Search Report.




View attachment 3430


Note that category "X" citations are considered by the patent examiner to wholly anticipate the listed claims on their own, while category "Y" citations are considered to anticipate the listed claims when combined with other category "Y" citations.

The equivalent Syntiant application in the US has not yet been examined by the USPTO, but, for US origin applications, the ISR is performed by the USPTO examiners.

The Syntiant arrangement may have been designed to circumvent the BrainChip patent, but the drawings illustrate an arrangement which may infringe the BrainChip patent. If the Syntiant NDP 100 conforms to Figure 3 of their patent application, BrainChip may well closely scrutinize the NDP 100.
View attachment 3431

.
[0055] In many embodiments, the sensor-processing system 300 can include an input 305 which feeds into a sample pre-processing unit 310. A sample processing unit 320 can be commutatively coupled with a feature store 330 and the sample pre-processing unit 310. In further embodiments, a digital neural network 340 can be a primary network within the sensor processing system. In certain embodiments, a digital neural network 345 can act as a secondary network and be in communication with the primary digital neural network 340. The sensor processing system 300 may also include a micro-controller 360 which can provide a general purpose input/output 370 connection. In additional embodiments, a sample holding tank 350 may be implemented with the sample processing 320 and pre-processing 310 units.
Morning Diogenese,

Great work, as per usual.

Thankyou for your expertise.

Legendary.

Regards,
Esq.
 
Last edited:
  • Like
  • Love
  • Wow
Reactions: 19 users

Slade

Top 20
MegaChips acquired SciTime Corp in the US. A company that provide timing devices for every industry and application.

Akira Takata from MegaChips is on the SciTime board of directors (Even his name is almost Akida)
Akira Takata has served as a member of our board of directors since November 2014. Mr.Takata is one of the startup members of MegaChips, the second largest fabless semiconductor company based in Japan. Since June 2019, Mr. Takata has been the senior managing director of MegaChips board. Prior to this, he served in various roles at MegaChips, including as president and chief executive officer from 2011 to June 2019, officer of business strategy office, officer of alliance strategy office, director of product business, executive officer, director of production management, general manager of LSI business unit, and as a director. Since 2014, Mr. Takata has been serving on the board of directors of Global Semiconductor Alliance, a leading industry organization. Mr. Takata received a bachelor's degree in electronics engineering from Osaka University in Japan.

SciTech are listed on the Nasdaq with a market capital over $5 billion. I like their chart. Looks like MegaChips have been pretty successful listing it on the stock exchange. I keep thinking, these guys know what they are doing and they have chosen us! Looks like they opened at around $17 a share back in 2019 and our now trading at $276.

1648563709815.png



In July 2021, MegaChips also invested in SiliconBrite, a global fabless analog and mixed-signal semiconductor solutions provider. Remember, the MegaChips and BrainChip announcement was after this in November 2021. And they now proudly display us on their website.

1648564703645.png

Finally, MegaChips strikes a deal with Motus-Labs. They provide robotics motion technology.


I gain a lot of confidence knowing more about MegaChips and knowing they chose BrainChip.
 
  • Like
  • Fire
  • Love
Reactions: 39 users

Slade

Top 20
MegaChips doesn't disclose much information about who their customers are but from their latest company disclosure you can see the industries that they are targeting and their strategy. We are in the third slide. You will note their appears to be two distinct use case that differ for BrainChip and the other AI provider Quadric (or i could be interpreting that incorrectly and that both use cases apply to both companies).

1648565799260.png


1648565916225.png

1648565983655.png
 
Last edited:
  • Like
  • Fire
Reactions: 35 users
 
  • Like
  • Fire
Reactions: 42 users

BaconLover

Founding Member
Most of us would remember Edge Impulse and Zach Shelby.

For those who jumped in recently, this is a podcast https://brainchipinc.com/episode-7-a-deep-dive-into-ai-ecosystems-with-edge-impulse-ceo-zach-shelby/ where Rob talks AI with Zach.

Now, Edge Impulse does post a lot of their stuff on Twitter. They love a tease. Since I couldn't take it anymore, a few of us asked questions, and this is what Zach replied;

So the initial post;

Screenshot_20220330-055208_Twitter.jpg



And his reply;

Screenshot_20220330-055217_Twitter.jpg


I reckon he knows I am no verification engineer like our @chapman89 so now I am stuck.

He replied after 9 hours of my post, so I have plenty of time to reply.

@uiux @Fact Finder @Diogenese What do you think of Edge Impulse? Have we already looked into them previously?

Is this an ogre award moment?

1648511601_will-smith-chris-rock-slap.jpg
 
  • Like
  • Haha
  • Fire
Reactions: 25 users
D

Deleted member 118

Guest
Just stumbled across some interesting development from NASA and VOC which I’ve posted on the BrainChip + Nanose page
 
Last edited by a moderator:
  • Like
  • Fire
Reactions: 10 users

Bravo

If ARM was an arm, BRN would be its biceps💪!
  • Haha
  • Like
  • Love
Reactions: 42 users

BaconLover

Founding Member
  • Haha
  • Like
  • Wow
Reactions: 28 users
D

Deleted member 118

Guest
I defy anyone to spot even the smallest crease on that tablecloth. It’s smoother than cream cheese on a bagel!

 
  • Like
  • Haha
Reactions: 9 users
D

Deleted member 118

Guest
  • Haha
  • Like
Reactions: 12 users

Bravo

If ARM was an arm, BRN would be its biceps💪!


I’m not sure if that qualifies as a fully fledged crease Bacon. After analysing it for the last 10 minutes, I’d describe it more as a ruck caused by that box thing on the edge of the table. But in case I’m wrong, you better call Rob Telson and get him to fire up the iron quick-smart!
 
  • Haha
  • Like
  • Love
Reactions: 12 users

uiux

Regular
Most of us would remember Edge Impulse and Zach Shelby.

For those who jumped in recently, this is a podcast https://brainchipinc.com/episode-7-a-deep-dive-into-ai-ecosystems-with-edge-impulse-ceo-zach-shelby/ where Rob talks AI with Zach.

Now, Edge Impulse does post a lot of their stuff on Twitter. They love a tease. Since I couldn't take it anymore, a few of us asked questions, and this is what Zach replied;

So the initial post;

View attachment 3439


And his reply;

View attachment 3440

I reckon he knows I am no verification engineer like our @chapman89 so now I am stuck.

He replied after 9 hours of my post, so I have plenty of time to reply.

@uiux @Fact Finder @Diogenese What do you think of Edge Impulse? Have we already looked into them previously?

Is this an ogre award moment?

View attachment 3441


this is not Akida, it even tells you its running on a cortex m7 arduino
 
  • Like
  • Sad
  • Fire
Reactions: 12 users

BaconLover

Founding Member
That must be worth at least 10 cent fall in our SP today lol
Used to it. I am just numb atm nothing can affect me lol
I’m not sure if that qualifies as a fully fledged crease Bacon. After analysing it for the last 10 minutes, I’d describe it more as a ruck caused by that box thing on the edge of the table. But in case I’m wrong, you better call Rob Telson and get him to fire up the iron quick-smart!
Emailing Rob to remove all the things from the table, so the cloth remains beautiful without creases. I am all for tablecloth rights.
 
  • Like
  • Haha
  • Fire
Reactions: 21 users

yogi

Regular
Post from LinkedIn Markus Schäfer
Sorry it has posted before, this Vision EQXX
 
  • Like
Reactions: 9 users
Top Bottom