This is NVIDIA's next big thing, slated for automotive use in 2025.View attachment 45950![]()
DENZA Unwraps Smart Driving Options for N7 Model Lineup, Powered by NVIDIA DRIVE Orin
DENZA is debuting new intelligent driving features for its entire N7 model lineup, powered by the NVIDIA DRIVE Orin system-on-a-chip (SoC).blogs.nvidia.com
Didn’t RT say at one point that they saw Nvidia as more of a partner than a competitor (apologies but I can’t remember the context)?This is NVIDIA's next big thing, slated for automotive use in 2025.
DRIVE Thor at 2000 teraflops of the best "GPU" technology on the planet..
"Designed with the best of NVIDIA GPU technology, DRIVE Thor is truly an AV SoC of heroic proportions"
Nothing about the power needed, or heat produced by this SOC..
![]()
NVIDIA DRIVE Thor Strikes AI Performance Balance, Uniting AV and Cockpit on a Single Computer
During the GTC keynote, NVIDIA founder and CEO Jensen Huang unveiled DRIVE Thor, a superchip of epic proportions.blogs.nvidia.com
Global warming, sea levels rising..
Maybe it will be for an underwater car, where cooling won't be a problem..
Al Martin and Rob Telson discuss Brainchip and Edge at 28min35secDidn’t RT say at one point that they saw Nvidia as more of a partner than a competitor (apologies but I can’t remember the context)?
I am sorry for your loss . On another note, I do enjoy your quality posts .I do agree with your views, but I would like to add another dynamic, maybe just maybe two things are or were at play this week, the ASX didn't accept the way the company's planned announcement was presented or there is a material aspect to the announcement/s that wasn't accepted in the way it was presented for release, personally I'm happy with my earlier view of something within the first 2 weeks of October, time shall tell.
The company could be erring on the side of caution as AKD 2.0 wasn't quite ready for release, and that's a mature and responsible approach also.
Go BrisbaneRegards...Tech
Morning Chippers ,
Little article onnew walki talki.
She's Hot .... dam hot, apparently.
Regards,
Esq.
Damn boy all posts I had to read from you so far are salty and sound like you‘re still mad at your past self for not jumping out earlier. Give yourself a break and Switch your phone of for a whileSpoken by someone who doesn't have much skin in the game. Maybe stick to photography or other leisure time pursuits. Maybe take Sean with you.
Yes, but neuromorphic and 2000 GPU/CPU teraflops are two completely different ways to skin a cat..Didn’t RT say at one point that they saw Nvidia as more of a partner than a competitor (apologies but I can’t remember the context)?
I doubt it . They are smarter than getting sucked into the hype . I have a business with a water frontage for the last 40 years and the sea level has not risen at all . Insurance does not cover me from water entering from that direction. ( Act of God ) I have been successful in claiming flood water entering from the street and sewerage entering through my floor waste . It must be for some thing else .This is NVIDIA's next big thing, slated for automotive use in 2025.
DRIVE Thor at 2000 teraflops of the best "GPU" technology on the planet..
"Designed with the best of NVIDIA GPU technology, DRIVE Thor is truly an AV SoC of heroic proportions"
Nothing about the power needed, or heat produced by this SOC..
![]()
NVIDIA DRIVE Thor Strikes AI Performance Balance, Uniting AV and Cockpit on a Single Computer
During the GTC keynote, NVIDIA founder and CEO Jensen Huang unveiled DRIVE Thor, a superchip of epic proportions.blogs.nvidia.com
Global warming, sea levels rising..
Maybe it will be for an underwater car, where cooling won't be a problem..
Evening Diogenese,This is Apple's toaster patent:
US2022222510A1 MULTI-OPERATIONAL MODES OF NEURAL ENGINE CIRCUIT 20210113
View attachment 45961
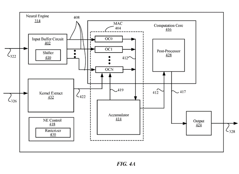
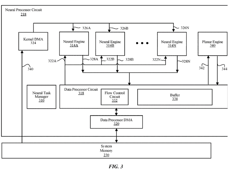
[0052] Referring to FIG. 3, an example neural processor circuit 218 may include, among other components, neural task manager 310 , a plurality of neural engines 314 A through 314 N (hereinafter collectively referred as “neural engines 314 ” and individually also referred to as “neural engine 314 ”), kernel direct memory access (DMA) 324 , data processor circuit 318 , data processor DMA 320 , and planar engine 340
[0053] Each of neural engines 314 performs computing operations for machine learning in parallel. Depending on the load of operation, the entire set of neural engines 314 may be operating or only a subset of the neural engines 314 may be operating while the remaining neural engines 314 are placed in a power-saving mode to conserve power. Each of neural engines 314 includes components for storing one or more kernels, for performing multiply-accumulate operations, for performing parallel sorting operations, and for post-processing to generate an output data 328 , as described below in detail with reference to FIGS. 4A and 4B. Neural engines 314 may specialize in performing computation heavy operations such as convolution operations and tensor product operations. Convolution operations may include different kinds of convolutions, such as cross-channel convolutions (a convolution that accumulates values from different channels), channel-wise convolutions, and transposed convolutions.
View attachment 45962
[0063] FIG. 4A is a block diagram of neural engine 314 , according to one embodiment. Specifically, FIG. 4A illustrates neural engine 314 perform operations including operations to facilitate machine learning such as convolution, tensor product, and other operations that may involve heavy computation in the first mode. For this purpose, neural engine 314 receives input data 322 , performs multiply-accumulate operations (e.g., convolution operations) on input data 322 based on stored kernel data, performs further post-processing operations on the result of the multiply-accumulate operations, and generates output data 328 . Input data 322 and/or output data 328 of neural engine 314 may be of a single channel or span across multiple channels.
It has 16 neural engines each with an array of MAC (multiply accumulate) processors.
They need to find some sort of neural processor which does not rely on MACs.
Google Pixel 8 releases next Wednesday, with the new Tensor G3 AI TPU. Possible chance that this could coincidr with the AKIDA2 release?
Anythings possible. Its interesting during the AFL game today their was a preview commercial for the new pixel 8, and one thing that struck me was that there was an emphasis on the word "edge".![]()
Mouth watering thought.
But I'm going to say it very unlikely![]()
Perhaps this is a good omen to keep your mouth watering..........![]()
Mouth watering thought.
But I'm going to say it very unlikely![]()
That's harsh. Your friend thinks it's a good thing if we don't make the scheduled announcement till maybe November! But that's not the CEO's job, and the reasons given are risible. Better the CEO let us know what the new timeframe is for Akida 2 IP to go on sale, if that's okay with you.Damn boy all posts I had to read from you so far are salty and sound like you‘re still mad at your past self for not jumping out earlier. Give yourself a break and Switch your phone of for a while
So about 3 million left to raise to meet their commitment.The obligation is for the 15 million AUD, it could have been completed earlier this year, but the trading in the shares went below the Company's set lower limit.
This is from the March 4C and quarterly results.
"In January 2023, BrainChip submitted a capital call notice to LDA Capital Limited and LDA Capital LLC (“LDA Capital”) to subscribe for up to 30,000,000 shares with an option for LDA Capital to subscribe up to an additional 10,000,000 shares subject to the approval of BrainChip. Subsequent to the quarter end, A$12,232,543 was received from LDA Capital upon the issue of 20,756,540 shares. Funds raised through this capital call notice will be deployed to strengthen the Company’s global sales capabilities and engineering support team ahead of the release of Akida 2.0 later this year" Which is now!![]()
Interesting codenamePerhaps this is a good omen to keep your mouth watering..........
View attachment 45975
![]()
Google Pixel 8a allegedly leaks, shows off massive bezels
Images of what appears to be the Google Pixel 8a have leaked. The leak shows a more rounded device with sizeable bezels.www.androidauthority.com
potarto/potatoPerhaps this is a good omen to keep your mouth watering..........
View attachment 45975
![]()
Google Pixel 8a allegedly leaks, shows off massive bezels
Images of what appears to be the Google Pixel 8a have leaked. The leak shows a more rounded device with sizeable bezels.www.androidauthority.com