BRN Discussion Ongoing

buena suerte :-)

BOB Bank of Brainchip
Hoping for a nice ⬆️ run up ⬆️ the next couple of days!! 🙏 Go BRN 🙏



1728512078956.png


1728512105187.png
 
Last edited:
  • Like
  • Fire
  • Love
Reactions: 23 users

mcm

Regular
You don't say!

So, Bhowmik left his job as Intel’s vice president of computational perception to take up this opportunity to create a new set of hearing aids which mimic the human brains ability to process signals.

Unless I'm mistaken Bhowmik couldn't have incorporated Loihi in to these hearing aids because it's still a research chip, so that leaves... let me see...

Anyway, it says here that Starkey are miles ahead of the competition now with this transformational new product and that their only competitor on the horizon is APPLE.

Imagine if this is our technology, due to go head to head with APPLE's technology in the near future!

IMO. DYOR.

Extract 1
View attachment 70641


Extract 2
View attachment 70642





OCT 9, 2024

Hearing Aid Giant Starkey Bet Big on AI, and It’s Paying Off

Starkey, the US’s largest hearing aid producer, just announced a new AI-powered device.

BY BEN SHERRY, STAFF REPORTER @BENLUCASSHERRY
In 2017, hearing aid market leader Starkey, the only major American company in the industry, was at a crossroads. Facing a stagnating product line, the company’s newly promoted president, Brandon Sawalich, saw three options before him: “Lead, adapt, or die.”

Sawalich ultimately decided to lead, and began what he describes as an ambitious “moonshot” to revolutionize hearing aid technology with artificial intelligence. Seven years and millions of R&D dollars later, that moonshot has resulted in Edge AI, the company’s brand-new flagship hearing aid. Starkey claims Edge AI represents a significant leap forward for the entire hearing aid industry, with greatly enhanced ability to detect speech and reduce background noise.
starkey-hearing-aid-inline-inc.jpg
Starkey President Brandon Sawalich. Photo: Starkey
Edge AI is the followup to Starkey’s previous flagship model, Genesis AI, which Sawalich says is now one of the company’s best-selling products ever. Sawalich credits much of Starkey’s AI success to chief technology officer Achin Bhowmik, an expert at digitally replicating the human brain’s method of processing signals. After becoming Starkey’s president in 2017, Sawalich convinced Bhowmik to leave his job as Intel’s vice president of computational perception by promising him the opportunity to create a product as transformational for hearing aids as the iPhone was for mobile phones.
One year later in 2018, Starkey released Livio AI, its first attempt at an AI-powered hearing aid. These devices mostly used AI to track health metrics, like how many steps you take in a day, but also featured enhanced sound processing. Livio was successful enough that Sawalich pushed ahead with a plan that Bhowmik estimated would take several years and over $100 million dollars of R&D to achieve: Begin a “new era for Starkey,” by building advanced AI at the core of all future products.

Starkey established an advanced research technology team in Tel Aviv (“we went where the talent is,” says Bhowmik), tasked with creating a processing chip small enough to fit inside a hearing aid, but powerful enough to run a deep neural network model entirely on-device. The neural network, which mimics the brain’s ability to focus on specific noises, was trained on a wide database of sounds, enabling it to automatically adjust the hearing aid’s settings to adapt to the current noise environment like a human brain.
Half a decade of this R&D resulted in the Starkey Neuro Processor. Unlike other AI-powered hearing aids, which include a coprocessor to accelerate the main chip’s processing power, the Neuro Processor fully integrates the accelerator unit within the main chip. Because Starkey’s devices don’t need to bounce information between two chips, they can process sound up to nine times faster than the competition.
Starkey’s new device, Edge AI, greatly enhances “Edge Mode,” a function first seen in the Genesis AI device. When using Edge Mode, the device scans its environment and automatically adapts to the soundscape, either prioritizing clearer speech or listening comfort. The device can also perform a medical-grade balance assessment, using AI to determine if a user is at risk of falling.

edge-ai-inline-inc.jpg
Photo: Starkey
Sawalich’s hope is that through enhanced technology, Starkey can “chip away” at the stigma that hearing aids are clunky, difficult devices only used by the elderly. “If you think about the five senses, the ear is the most important to the brain,” says Sawalich, “because the ear is constantly feeding information to the brain, keeping it exercised and engaged.” That’s why Sawalich doesn’t see his devices as just assisting those with disabilities, but also those looking to acquire new abilities. “We want to use in-ear technology to make the brain as sharp as it can be,” he says, “so people can be the best versions of themselves.”
While Starkey claims to be miles ahead of the competition, there are still threats on the horizon, most notably from Apple, which recently announced that AirPods Pro 2, the latest version of its’ popular wireless earbuds, will be updated with multiple hearing health features later this fall–including the ability to act as a hearing aid.
For many businesses, an Apple invasion is the stuff of nightmares, but Starkey’s first-mover advantage, plus a 2022 FDA rule change that enabled over-the-counter sales of hearing aids (over 4 million commercial units were sold in the United States in 2023), have put the company in a solid position relative to the tech titan.

Guess this doesn’t utilise Akida. Shame.
 
  • Like
  • Thinking
Reactions: 3 users

Tezza

Regular
  • Like
  • Fire
Reactions: 8 users

buena suerte :-)

BOB Bank of Brainchip
Would be nice if Sean helped. It's getting close to the end of our make or break year. Cmon BRN I have faith.
I agree....C'mon Sean !!...... I'm feeling positive that something will happen very soon!....🙏
 
  • Like
  • Fire
Reactions: 12 users

Bravo

If ARM was an arm, BRN would be its biceps💪!
Guess this doesn’t utilise Akida. Shame.


This is my current thinking.

The previous generation, Starkey Genesis AI (generation 2023) used bluetooth 5.2 apparently.

As you can see below this new Edge AI product offers the next generation of Bluetooth, so I was thinking that might be Bluetooth 5.3.

Lets not forget that Renesas sampled our technology in 22nm and full market launch was expected to be in Q4 2023, so we have been waiting patiently since then.

Who knows? I may be way off the mark, so please feel free to correct me if you think I'm heading in the wrong direction.






1.

Screenshot 2024-10-10 at 9.46.23 am.png



2.
Screenshot 2024-10-10 at 9.49.36 am.png

3.
Screenshot 2024-10-10 at 9.50.11 am.png



4.
Screenshot 2024-10-10 at 9.56.52 am.png
 
  • Like
  • Love
  • Fire
Reactions: 23 users

buena suerte :-)

BOB Bank of Brainchip
Nice open :) :)

1728515425795.png
 
  • Fire
  • Like
  • Love
Reactions: 13 users

Bravo

If ARM was an arm, BRN would be its biceps💪!
giddy-up-lachy-wiggle.gif



My bunions are playing up a bit today, but I'm still very committed.

work-out.gif
 
Last edited:
  • Haha
  • Love
  • Fire
Reactions: 21 users

Diogenese

Top 20
Some of these comments are very interesting...

  • "Continuing to introduce technology that has never been seen or heard before"
  • "Equipped with a groundbreaking Neural Processing Unit (NPU) with unmatched Deep Neural Network (DNN) processing capabilities"
  • "With the industry's only neural processing unit fully integrated into the chip, Edge AI is our most powerful noise management system."
  • "By far the most advanced integrated circuit in any hearing aid available, the G2 Neuro Processor features the industry's only NPU fully integrated into the chip."


EDEN PRAIRIE, Minn., Oct. 9, 2024 /PRNewswire/ -- Starkey, a leader in hearing technology, has once again set a new standard with the introduction of Edge AI, innovative hearing technology designed to take patient care to unparalleled heights. Building on the success of Genesis AI, which transformed the industry, Edge AI represents the next leap in intelligent hearing technology.


The Future of Innovative Hearing Technology: Starkey Unveils Edge AI​

Photo of Starkey's Edge AI hearing aids.'s Edge AI hearing aids.
"Starkey remains the industry leader in innovation, continuing to introduce technology that has never been seen or heard before," said Brandon Sawalich, President and CEO at Starkey. "We were the first to bring AI technology to the hearing industry and, last year, we redefined flagship technology with an all-new processor, new hearing experience, and new possibilities. Now, with the launch of Edge AI, the era of excellence continues at the speed of innovation. Our vision to be the best endures as we push the edge of what's possible to bring better hearing for all."
Unmatched Performance and Processing Power
Edge AI introduces the G2 Neuro Processor, the next generation of advanced technology from Starkey. Equipped with a groundbreaking Neural Processing Unit (NPU) with unmatched Deep Neural Network (DNN) processing capabilities, Starkey's Edge AI ensures superior performance without compromising its industry-leading battery life. By far the most advanced integrated circuit in any hearing aid available, the G2 Neuro Processor features the industry's only NPU fully integrated into the chip. This efficiency means that the waterproof* Edge AI RIC RT can continue to offer patients up to 51 hours of battery life. Additionally, building on the foundation of the sound management system in the Neuro Sound Technology, the 2.0 edition enhanced with DNN processing is 30% more accurate at identifying speech compared to previous generations, appropriately classifies the most challenging listening situations like multi-talker babble, and significantly enhances the signal to noise ratio.
"Building on the success of Genesis AI, Neuro Sound Technology 2.0 lets Starkey offer patients and providers the most innovative and best-sounding products in the industry," said Achin Bhowmik, Ph.D., Chief Technology Officer and Executive Vice President of Engineering. "With the industry's only neural processing unit fully integrated into the chip, Edge AI is our most powerful noise management system."
Next-Level Connectivity with Bluetooth LE Audio

Edge AI introduces the next generation of Bluetooth connectivity through Low Energy (LE) Audio, supporting a broader range of devices with fewer dropouts and enhanced performance. LE Audio also features Auracast™ broadcast streaming, enabling users to connect to an expanded variety of audio sources seamlessly.
Starkey is also launching the new StarLink Edge TV Streamer, 60% smaller than previous versions. It uses LE Audio for high-fidelity streaming from televisions to LE Audio-enabled hearing aids like Edge AI.
Health and Wellness Innovations
Starkey has led the industry in incorporating overall health and wellness into the hearing aid, as we were the first to integrate 3D sensors; the first to enable counting steps; the first to track and encourage social engagement; and the first and only manufacturer with a fall detection and alert system in hearing aids. Edge AI features the world's first and only use of sensors onboard the hearing aid to perform a self-guided balance assessment exercise. Further ensuring that patients already at an increased risk of falls are identified and managed before a fall becomes reality.
Enhanced Mobile Experience
The My Starkey Mobile Application continues to receive enhancements to make the patient's experience easier and support the new streaming capabilities. Included with Edge AI is Apple Watch support as an extension of the My Starkey app. Patients can adjust volume, programs, or control the Edge Mode+ settings, all from their wrist.
For more information on Starkey, please visit Starkey.com.
*Up to one meter
About Starkey
Starkey is a privately held, global hearing technology company headquartered in Eden Prairie, Minnesota. Founded by Bill Austin in 1967, Starkey is known for its innovative design, development and distribution of comprehensive digital hearing systems. Led today by President and CEO Brandon Sawalich, Starkey is the only American-owned provider of hearing technologies. The company has more than 5,000 employees, operates 29 facilities and does business in more than 100 markets worldwide. Learn more at starkey.com.
Starkey hearing aids can be adjusted via Apple Watch.
Starkey logo. (PRNewsfoto/Starkey Laboratories, Inc.)
Cision
View original content to download multimedia:https://www.prnewswire.com/news-rel...nology-starkey-unveils-edge-ai-302271551.html
SOURCE Starkey Laboratories, Inc.

Hi Bravo,

As always, I was ready to apply the wet blanket, and I would ov too, until Sean disclosed our algorithm product line:

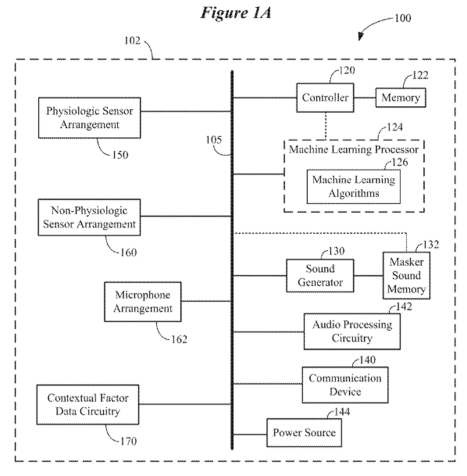
US2022210586A1 AUTOMATIC TINNITUS MASKER FOR AN EAR-WEARABLE ELECTRONIC DEVICE 20220630 Starkey
1728516191948.png


[0075] … the controller comprises, or is operatively coupled to, a processor configured with instructions to classify, via a first neural network, the acoustic environment of the wearer as a specified one of a plurality of disparate acoustic environments, and process one or more of the physiologic sensor signals, the non-physiologic sensor signals, and the contextual factor data, via a second neural network, to adjust the tinnitus masking sound produced by the sound generator using the one or more of the physiologic sensor signals, the non-physiologic sensor signals, and the contextual factor data, and parameter values associated with the specified acoustic environment.

[0080] Example Ex44. The device according to Ex43, wherein the neural network comprises one or more of a deep neural network (DNN), a feedforward neural network (FNN), a recurrent neural network (RNN), a long short-term memory (LSTM), gated recurrent units (GRU), light gated recurrent units (LiGRU), a convolutional neural network (CNN), and a spiking neural network
.

[0095] In accordance with any of the embodiments disclosed herein, the controller 120 can include, or be coupled to, a machine learning processor 124 configured to execute computer code or instructions (e.g., firmware, software) including one or more machine learning algorithms 126 . The machine learning processor 124 is configured to process one or more of the physiologic sensor signals, non-physiologic sensor signals, microphone signals, and contextual factor data via one or more machine learning algorithms 126 to detect one or more of presence, absence, and severity of tinnitus of the wearer of the hearing device 100 . Sensor, contextual factor data, and/or wearer input (e.g., manual overrides) received by the machine learning processor 124 are used to inform and refine one or more machine learning algorithms 126 executable by the machine learning processor 124 to automatically enhance and customize tinnitus detection and mitigation implemented by the hearing device 100 for a particular hearing device wearer.
 
  • Like
  • Fire
  • Wow
Reactions: 56 users

Bravo

If ARM was an arm, BRN would be its biceps💪!
Hi Bravo,

As always, I was ready to apply the wet blanket, and I would ov too, until Sean disclosed our algorithm product line:

US2022210586A1 AUTOMATIC TINNITUS MASKER FOR AN EAR-WEARABLE ELECTRONIC DEVICE 20220630 Starkey
View attachment 70667

[0075] … the controller comprises, or is operatively coupled to, a processor configured with instructions to classify, via a first neural network, the acoustic environment of the wearer as a specified one of a plurality of disparate acoustic environments, and process one or more of the physiologic sensor signals, the non-physiologic sensor signals, and the contextual factor data, via a second neural network, to adjust the tinnitus masking sound produced by the sound generator using the one or more of the physiologic sensor signals, the non-physiologic sensor signals, and the contextual factor data, and parameter values associated with the specified acoustic environment.

[0080] Example Ex44. The device according to Ex43, wherein the neural network comprises one or more of a deep neural network (DNN), a feedforward neural network (FNN), a recurrent neural network (RNN), a long short-term memory (LSTM), gated recurrent units (GRU), light gated recurrent units (LiGRU), a convolutional neural network (CNN), and a spiking neural network
.

[0095] In accordance with any of the embodiments disclosed herein, the controller 120 can include, or be coupled to, a machine learning processor 124 configured to execute computer code or instructions (e.g., firmware, software) including one or more machine learning algorithms 126 . The machine learning processor 124 is configured to process one or more of the physiologic sensor signals, non-physiologic sensor signals, microphone signals, and contextual factor data via one or more machine learning algorithms 126 to detect one or more of presence, absence, and severity of tinnitus of the wearer of the hearing device 100 . Sensor, contextual factor data, and/or wearer input (e.g., manual overrides) received by the machine learning processor 124 are used to inform and refine one or more machine learning algorithms 126 executable by the machine learning processor 124 to automatically enhance and customize tinnitus detection and mitigation implemented by the hearing device 100 for a particular hearing device wearer.


I don't know if I'm more shocked at the promising content of this patent or that I avoided getting another dose of that wet blanket of yours.

d153f53e506cb9fc3b48f32982ceb990.gif
 
  • Haha
  • Like
  • Wow
Reactions: 26 users

buena suerte :-)

BOB Bank of Brainchip
  • Like
  • Love
  • Fire
Reactions: 45 users

AARONASX

Holding onto what I've got
Excited Lets Go GIF

Let's F*****G GO!!!!
 
  • Like
  • Love
  • Haha
Reactions: 28 users

TheDrooben

Pretty Pretty Pretty Pretty Good
20240304_120649.gif
 
  • Like
  • Love
  • Fire
Reactions: 15 users

HopalongPetrovski

I'm Spartacus!
Now Sean.......drop the announcement now..........🤣
3rd_monty-python_s-flying-circus.jpg
 
  • Haha
  • Like
  • Fire
Reactions: 29 users

Diogenese

Top 20
  • Like
  • Haha
  • Love
Reactions: 15 users

Bravo

If ARM was an arm, BRN would be its biceps💪!
Time to throw my thongs and my caution to the wind.

It's party time!


we-all.gif




Screenshot 2024-10-10 at 10.42.58 am.png
 
  • Like
  • Love
  • Haha
Reactions: 23 users

JB49

Regular
Hi Bravo,

As always, I was ready to apply the wet blanket, and I would ov too, until Sean disclosed our algorithm product line:

US2022210586A1 AUTOMATIC TINNITUS MASKER FOR AN EAR-WEARABLE ELECTRONIC DEVICE 20220630 Starkey
View attachment 70667

[0075] … the controller comprises, or is operatively coupled to, a processor configured with instructions to classify, via a first neural network, the acoustic environment of the wearer as a specified one of a plurality of disparate acoustic environments, and process one or more of the physiologic sensor signals, the non-physiologic sensor signals, and the contextual factor data, via a second neural network, to adjust the tinnitus masking sound produced by the sound generator using the one or more of the physiologic sensor signals, the non-physiologic sensor signals, and the contextual factor data, and parameter values associated with the specified acoustic environment.

[0080] Example Ex44. The device according to Ex43, wherein the neural network comprises one or more of a deep neural network (DNN), a feedforward neural network (FNN), a recurrent neural network (RNN), a long short-term memory (LSTM), gated recurrent units (GRU), light gated recurrent units (LiGRU), a convolutional neural network (CNN), and a spiking neural network
.

[0095] In accordance with any of the embodiments disclosed herein, the controller 120 can include, or be coupled to, a machine learning processor 124 configured to execute computer code or instructions (e.g., firmware, software) including one or more machine learning algorithms 126 . The machine learning processor 124 is configured to process one or more of the physiologic sensor signals, non-physiologic sensor signals, microphone signals, and contextual factor data via one or more machine learning algorithms 126 to detect one or more of presence, absence, and severity of tinnitus of the wearer of the hearing device 100 . Sensor, contextual factor data, and/or wearer input (e.g., manual overrides) received by the machine learning processor 124 are used to inform and refine one or more machine learning algorithms 126 executable by the machine learning processor 124 to automatically enhance and customize tinnitus detection and mitigation implemented by the hearing device 100 for a particular hearing device wearer.
Am I misunderstanding, or did you guys potentially just find our first commercial product? :eek:
 
  • Like
  • Thinking
  • Love
Reactions: 28 users

DK6161

Regular
Wowzers! Look at her go, gents!
Who is organising the 50cent party???
50 cent laughing GIF
 
  • Like
  • Haha
Reactions: 7 users

TECH

Regular
Good day all,

Is Mercedes preparing to make that announcement at the Paris Motor show ?

They did say that an announcement was coming later this year about another partner or was that software that's so brilliant
that they know they and Nvidia just can't resist Brainchip's clear technological lead.

AKIDA ♦️♦️♦️♦️♦️♦️♦️....Tech.
 
  • Like
  • Thinking
  • Love
Reactions: 36 users
Top Bottom