BRN Discussion Ongoing

Hi Diogenese,

I'm going to go with "the yellow horse about to be revealed" ( see below). I suspect it's going to be a larger company, like TATA, Valeo or Mercedes maybe?

I say this because larger companies have more of an onus on them to stay ahead of the curve to demonstrate their ability to innovate and remain competitive in the market. And also because I really want it to be a larger company. 😂🤣😂

Time will tell.

B


View attachment 73944
I'm with you Bravo. I'm hanging out for Tata. They've been working on Akida for a fair while now. Now that would be cool.

SC
 
  • Like
  • Fire
Reactions: 24 users

Taproot

Regular
I'll take any sign of life at all :rolleyes:
Otherwise we might have to deploy the Defib.
 
  • Haha
  • Like
  • Fire
Reactions: 17 users

manny100

Top 20
Still waiting for the Quarterly
 
  • Like
  • Haha
Reactions: 4 users

Shadow59

Regular
  • Like
Reactions: 4 users

manny100

Top 20
Hi Manny, It's not due till late January.
Oops, sorry i meant the Quarterly podcast Episode 7 with TD and Sean. My communication error there.
 
  • Like
Reactions: 9 users

FiveBucks

Regular
You’re not up to date. The crybabies in the Crapper forum think the management and Akida are trash… so I guess I have to disappoint you if you think that professionals and experts who deal with Akida daily know more than the Tom and Jerrys of this world… *micdrop*

One thing Tom and Jerry and Sean have in common is that they have both signed the same amount of IP deals in the last two years.

🤭
 
  • Like
  • Haha
  • Sad
Reactions: 7 users
D

Deleted member 3781

Guest
Yes it's laughable over on the crapper.
Anyone that shows any BRN support is labelled a 'happy clapper'.
The joke is that the opposite of 'happy clapper' is 'Nappy crapper' and there are plenty over there.
A Nappy crapper describes someone who behaves like a spoilt brat or baby and craps in there own nest. See it every where day to day.
At work the employee who non stop bags the boss.
Keen footy member bags players and the team non stop.
Non stop partner bagging.
And BRN holders who non stop bag the CEO, IR and the company.
and the list goes on and on.
It’s funny how all the shorters and sellers complain about the falling share price or pretend to be concerned, even though they’re the main ones responsible for the downward movement. What a bunch of clowns.
 
  • Like
  • Sad
Reactions: 7 users
D

Deleted member 3781

Guest
One thing Tom and Jerry and Sean have in common is that they have both signed the same amount of IP deals in the last two years.

🤭
Wow, and I bet you’d achieve a historic result for the company in just two months through licensing agreements with every company wanting to use AI, right? You should apply quickly, genius!
 

jrp173

Regular
It’s funny how all the shorters and sellers complain about the falling share price or pretend to be concerned, even though they’re the main ones responsible for the downward movement. What a bunch of clowns.
You look at this issue too simply. For some reason you don't seem (or want) to comprehend that someone can believe in the technology but still be very unhappy with management (eg huge renumeration without verifiable results, lack of communication/IR and over promising and under delivering just to name a few).

I for one want to believe this is the year for BRN, but unfortunately I've heard it all before.

It's time from BRN to actually demonstrate real commercial success to shareholders.
 
Last edited:
  • Like
  • Fire
  • Love
Reactions: 10 users
The sustained buying after another predominantly agreed pretty shite quarterly has Larry thinking this is more than just a pump and dump........Larry thinks there is something coming in the next week or two which will take us past the 50c mark.......in Larry's opinion


View attachment 72639

HAPPY AS LARRY
Sure was another pump and dump and the mother f..kers sure making some $$&$ out of em.
 
  • Like
Reactions: 5 users

Diogenese

Top 20
https://www.connectedpapers.com/mai...e-Devices-using-Spiking-Neural-Networks/graph

This.must be a possibility. Our old mates from TCS. Apologies if already posted.

SC

This is one of the linked papers by Dey et al:


In recent times, in many industrial domains, the need for in-situ processing of time series data from sensors have grown extensively, to ensure low-latency real-time responses, making embedded edge AI an important area of work. Most current techniques, being computationally intensive, are not suited for edge implementation; and in real world scenarios, connectivity to the cloud for processing sensed data leads to higher latency and often less reliability. Neuromorphic systems, coupled with spiking neural networks (SNN) offer a solution to such problems.

This paper explores this evolving paradigm to address the need for low-footprint efficient time series classifiers implementable on edge, and targeted for predictive maintenance scenarios.

A reservoir-based SNN architecture is designed and tried for classification of different vibration time series datasets. While the system is found to obtain at par classification accuracy for each of the datasets compared to prior arts, it is also observed to be more efficient in terms of synaptic operations per timestep (13% to 38%) using Gaussian temporal spike encoding scheme compared to Poisson rate encoding. Moreover, the system is found to be robust with respect to learning with reduction in training data (upto 20%)
.

Tata have a patent application for the reservoir-based SNN:

US2024176987A1 METHOD AND SYSTEM OF SPIKING NEURAL NETWORK-BASED ECG 20221125

This disclosure relates generally to method and system for spiking neural network based ECG classifier for wearable edge devices. Employing deep neural networks to extract the features from ECG signal have high computational intensity and large power consumption. The spiking neural network of the present disclosure obtains a training dataset comprising a plurality of ECG time-series data. The spiking neural network comprise a reservoir-based spiking neural network and a feed forward based spiking neural network. Each of the spiking neural network having a logistic regression-based ECG classifier are trained to classify one or more class labels. The peak-based spike encoder of each spiking neural network obtains a plurality of encoded spike trains from the plurality of ECG time-series. The peak-based spike encoder provides high performance for classifying one or more labels. Efficacy of the peak-based spike encoder for classification is experimentally evaluated with different datasets.

[0037] The SNN layer 304 obtains neuronal trace values of a plurality of feed forward neurons from the plurality of encoded spike trains. Further, a second set of spatio-temporal features are extracted based on the neuronal trace values of the plurality of feed forward neurons for each ECG time-series data from each feed-forward neuron.


The reservoir-based SNN sounds like some sort of LSTM (or TENNs?), while the feedforward SNN fits with Akida.
 
  • Like
  • Fire
  • Wow
Reactions: 25 users
It’s funny how all the shorters and sellers complain about the falling share price or pretend to be concerned, even though they’re the main ones responsible for the downward movement. What a bunch of clowns.


In my opinion, I do not believe they are genuine shareholders. They are most likely short sellers disguised as unhappy shareholders. The short sellers on the crapper site are acting like a pack of wolves. In fact, they are probably working for the same entity. My observation is that these short sellers are trying to psychologically "break" the long-term shareholders in order to get them to sell.
They are using the following tactics:
  1. Personally attacking the management – in particular, our CEO.
    One example is that the short sellers claim the CEO shows no confidence due to the recent share sales for tax purposes. My interpretation is that the CEO is very confident, as his shares are increasing year by year. Indeed, the CEO will become an extremely wealthy man if BRN rockets up to the moon! There is enough motivation for him to launch the company to the moon!
  2. Talking down the company's progress every day (including Saturday and Sunday). They are trying to bombard the long term share holders days and nights - with pretty much the same contents. The ultimate goal is to induce fear until people sell, so they can cover their short positions to make profits.
  3. Pretending to be a chart expert – claiming that the recent rally is a Dead Cat Bounce (DCB).
    As you are probably aware, all charts can be interpreted in different ways. In fact, if you go through the crapper forum on another stock 'ZIP', there have been self-proclaimed 'chartists' saying it was a DCB despite the fact that the share price itself has bounced more than 10 times in the last 12 months.
  4. Adding short positions. If you Google 'ASIC Short', you can see that BRN's aggregated short position has increased in the recent weeks, which coincides with the retracement of the share price from around 30 cents.
As Sean has said in a recent interview, 2025 will be a good year for BrainChip!
Once some announcements are dropped, I can see these short sellers will be severely burned – just like the GameStop short-squeeze scenario happened not long ago!!!

All in my opinion. DYOR!
Good luck to all long term investors!
 
Last edited:
  • Like
  • Love
  • Fire
Reactions: 33 users

FiveBucks

Regular
Wow, and I bet you’d achieve a historic result for the company in just two months through licensing agreements with every company wanting to use AI, right? You should apply quickly, genius!

Since you always like to give out life advice, here's some for you. Lighten up!
 
  • Haha
  • Like
  • Fire
Reactions: 5 users

Diogenese

Top 20
This is one of the linked papers by Dey et al:


In recent times, in many industrial domains, the need for in-situ processing of time series data from sensors have grown extensively, to ensure low-latency real-time responses, making embedded edge AI an important area of work. Most current techniques, being computationally intensive, are not suited for edge implementation; and in real world scenarios, connectivity to the cloud for processing sensed data leads to higher latency and often less reliability. Neuromorphic systems, coupled with spiking neural networks (SNN) offer a solution to such problems.

This paper explores this evolving paradigm to address the need for low-footprint efficient time series classifiers implementable on edge, and targeted for predictive maintenance scenarios.

A reservoir-based SNN architecture is designed and tried for classification of different vibration time series datasets. While the system is found to obtain at par classification accuracy for each of the datasets compared to prior arts, it is also observed to be more efficient in terms of synaptic operations per timestep (13% to 38%) using Gaussian temporal spike encoding scheme compared to Poisson rate encoding. Moreover, the system is found to be robust with respect to learning with reduction in training data (upto 20%)
.

Tata have a patent application for the reservoir-based SNN:

US2024176987A1 METHOD AND SYSTEM OF SPIKING NEURAL NETWORK-BASED ECG 20221125

This disclosure relates generally to method and system for spiking neural network based ECG classifier for wearable edge devices. Employing deep neural networks to extract the features from ECG signal have high computational intensity and large power consumption. The spiking neural network of the present disclosure obtains a training dataset comprising a plurality of ECG time-series data. The spiking neural network comprise a reservoir-based spiking neural network and a feed forward based spiking neural network. Each of the spiking neural network having a logistic regression-based ECG classifier are trained to classify one or more class labels. The peak-based spike encoder of each spiking neural network obtains a plurality of encoded spike trains from the plurality of ECG time-series. The peak-based spike encoder provides high performance for classifying one or more labels. Efficacy of the peak-based spike encoder for classification is experimentally evaluated with different datasets.

[0037] The SNN layer 304 obtains neuronal trace values of a plurality of feed forward neurons from the plurality of encoded spike trains. Further, a second set of spatio-temporal features are extracted based on the neuronal trace values of the plurality of feed forward neurons for each ECG time-series data from each feed-forward neuron.


The reservoir-based SNN sounds like some sort of LSTM (or TENNs?), while the feedforward SNN fits with Akida.
The patent seems to be directed more to the NN "software" models and operating methods, and not to the hardware.
 
  • Like
  • Fire
Reactions: 6 users

Diogenese

Top 20
The patent seems to be directed more to the NN "software" models and operating methods, and not to the hardware.
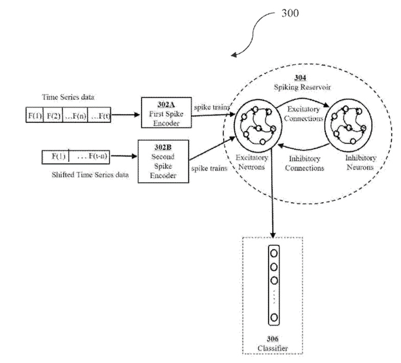
This is the patent application for the reservoir-based (LSTM/TENNs) SNN:

US2023334300A1 METHODS AND SYSTEMS FOR TIME-SERIES CLASSIFICATION USING RESERVOIR-BASED SPIKING NEURAL NETWORK 20220418

1733718723360.png


The present disclosure relates to methods and systems for time-series classification using a reservoir-based spiking neural network, that can be used at edge computing applications. Conventional reservoir based SNN techniques addressed either by using non-bio-plausible backpropagation-based mechanisms, or by optimizing the network weight parameters. The present disclosure solves the technical problems of TSC, using a reservoir-based spiking neural network. According to the present disclosure, the time-series data is encoded first using a spiking encoder. Then the spiking reservoir is used to extract the spatio-temporal features for the time-series data. Lastly, the extracted spatio-temporal features of the time-series data is used to train a classifier to obtain the time-series classification model that is used to classify the time-series data in real-time, received from edge devices present at the edge computing network.


The patent does not discuss the hardware circuitry of the SNN processor. Given our well known relationship with TATA, it is certainly possible that the hardware is Akida.
 
  • Like
  • Fire
  • Love
Reactions: 33 users

Guzzi62

Regular
In my opinion, I do not believe they are genuine shareholders - more like short sellers disguised themselves as unhappy shareholders. The short sellers on the crapper site are acting like a pack of wolves. In fact, they are probably working for the same entity. My observation is that these short sellers are trying to psychologically "break" the long-term shareholders in order to get them to sell.
They are using the following tactics:
  1. Personally attacking the management – in particular, our CEO.
    One example is that the short sellers claim the CEO shows no confidence due to the recent share sales for tax purposes. My interpretation is that the CEO is very confident, as his shares are increasing year by year. Indeed, the CEO will become an extremely wealthy man if BRN rockets up to the moon! There is enough motivation for him to launch the company to the moon!
  2. Talking down the company's progress every day (including Saturday and Sunday). They are trying to bombard the long term share holders days and nights - with pretty much the same contents. The ultimate goal is to induce fear until people sell, so they can cover their short positions to make profits.
  3. Pretending to be a chart expert – claiming that the recent rally is a Dead Cat Bounce (DCB).
    As you are probably aware, all charts can be interpreted in different ways. In fact, if you go through the crapper forum on another stock 'ZIP', there have been self-proclaimed 'chartists' saying it was a DCB despite the fact that the share price itself has bounced more than 10 times in the last 12 months.
  4. Adding short positions. If you Google 'ASIC Short', you can see that BRN's aggregated short position has increased in the recent weeks, which coincides with the retracement of the share price from around 30 cents.
As Sean said in a recent interview, 2025 will be a good year for BrainChip!
Once some announcements drop, I can see these short sellers will probably be severely burned – just like the GameStop short-squeeze scenario happened not long ago!!!

All in my opinion. DYOR!
Good luck to all long term investors!
I blocked all the clowns posting ONLY negative posts day after day.

I don't mind negative posts if they have merit, but being negative for the sake of being negative isn't right, and I have no use of their posts.

It's like they desperately want you to sell!

Ohh, and I blocked 007 for being a self important fool.
 
  • Like
  • Haha
Reactions: 8 users
D

Deleted member 3781

Guest
Since you always like to give out life advice, here's some for you. Lighten up!
Yeah, I can see you have your followers with you 😂 well, alright, I guess it’s your prerogative.
BUT…lightening….It’s not that simple to get things done, my friend. Even Buddhist monks can’t manage it, although they have no knowledge of CRAPPER and TSE. But how about this? How about you stop constantly complaining about things we have no influence over and trying to influence others? That sounds like a start.
 
  • Like
Reactions: 1 users
This is the patent application for the reservoir-based (LSTM/TENNs) SNN:

US2023334300A1 METHODS AND SYSTEMS FOR TIME-SERIES CLASSIFICATION USING RESERVOIR-BASED SPIKING NEURAL NETWORK 20220418

View attachment 73964

The present disclosure relates to methods and systems for time-series classification using a reservoir-based spiking neural network, that can be used at edge computing applications. Conventional reservoir based SNN techniques addressed either by using non-bio-plausible backpropagation-based mechanisms, or by optimizing the network weight parameters. The present disclosure solves the technical problems of TSC, using a reservoir-based spiking neural network. According to the present disclosure, the time-series data is encoded first using a spiking encoder. Then the spiking reservoir is used to extract the spatio-temporal features for the time-series data. Lastly, the extracted spatio-temporal features of the time-series data is used to train a classifier to obtain the time-series classification model that is used to classify the time-series data in real-time, received from edge devices present at the edge computing network.


The patent does not discuss the hardware circuitry of the SNN processor. Given our well known relationship with TATA, it is certainly possible that the hardware is Akida.
Hi @Diogenese

Don't know if you saw this post when done back in late July but curious on your thoughts on Arduino adding support for the Akida PCIe. If you had any?

This open up another mkt avenue I presume and would they do this due inbound requests or just for the hell of it?

 
  • Like
  • Love
Reactions: 5 users

equanimous

Norse clairvoyant shapeshifter goddess
I blocked all the clowns posting ONLY negative posts day after day.

I don't mind negative posts if they have merit, but being negative for the sake of being negative isn't right, and I have no use of their posts.

It's like they desperately want you to sell!

Ohh, and I blocked 007 for being a self important fool.
Screenshot_20241208_171845_Brave.jpg
 
  • Haha
  • Like
  • Love
Reactions: 25 users
Top Bottom