BRN Discussion Ongoing

cosors

👀
I continue to try to find out who the industrial leader in automation might be. The picture of a maybe KUKA is not enough for me.
It's an exciting journey all the way for exapmle to University of Waterloo and Chris Eliasmith. They, in turn, are a development partner of FESTO (control and automation technology group; 20,000 employees) for picking robots.
https://www.festo.com/us/en/e/about...-projects/flairop-research-project-id_948361/
They are very well known here, maybe someone knows the blue pneumatic hoses. I have not met a single factory hall where a system from them has not been installed. But I don't want to go into that, my search has no result yet and I continue joing the dots.

I just want to share with you some exciting development I found:


https://www.festo.com/de/de/e/ueber...t-id_326923/?siteUid=fox_de&siteName=Festo+DE




If they haven't heard of Akida through the University of Waterloo, it's high time they did. So, I have to keep looking for our automation leader. I'm heading back to the other side of the world to Japan. Our partners and some automation leaders are based there.

...but the development/evolution of robotics is exciting, isn't it?


brainchip-terminator-neuromorhic-chip.jpg

https://jwpm.com.au/industrial-marketing-blog/brn-brainchip-neuromorphic
 
Last edited:
  • Like
  • Fire
  • Love
Reactions: 31 users

Diogenese

Top 20
Evening Rocket577,

Cheers for sharing this article. Interesting , and no , myself atleast have not seen this before.

One for Diogenese, if he would be so kind to translate into English.

Thankyou in advance Diogenese.

Regards,
Esq.
Hi Esq,

I have a file on this from a month ago.

Researchers from IBM’s Zurich lab have argued that these recognition techniques could be improved by enhancing AI hardware. The goal is to use the well-known phase-change memory (PCM) technology to develop a new type of artificial synapse. The researchers employ a PCM memtransistive synapse, which combines memristors, a nonvolatile electronic memory element, and transistors into a single low-power device. This shows a non-Von Neumann in-memory computing architecture that offers various powerful cognitive frameworks for ML applications, such as short-term spike-timing-dependent plasticity and probabilistic Hopfield Neural Networks.

In-memory computing has become popular in the last year or two - an attempt to get around the von Neumann bottleneck on the bus from the memory to the processor as the processor attempts to retrieve data from the memory. Akida is similar in that the memory is distributed amongst its 80 NPUs (Neuromorphic Processing Units).

A phase change material is one whose resistance can be changed by applying a large voltage in one direction, and reversed by applying the voltage in the opposite direction. The change in resistance can be detected by sensing the size of the current when a lower voltage is applied.

IBM has been playing around with phase change-materials for over a decade.

US2010223220A1 ELECTRONIC SYNAPSE

1652440222192.png


They are familiar with STDP:

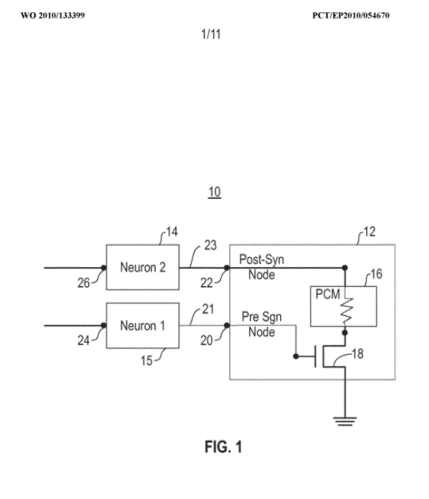
WO2010133399A1 ELECTRONIC LEARNING SYNAPSE WITH SPIKE-TIMING DEPENDENT PLASTICITY USING PHASE CHANGE MEMORY

1652440282305.png


They also claim unsupervised learning:

US11164080B2 Unsupervised, supervised and reinforced learning via spiking computation

1652440450608.png


Even when IBM did summon up the courage to dip their toes in the digital neuron pond, they still kept a lifeline firmly attached to the analog neuron anchor:

WO2014080300A1 NEURAL NETWORK
"0016] The term digital neuron as used herein represents an framework configured to simulate a biological neuron. An digital neuron creates connections between processing elements that are roughly functionally equivalent to neurons of a biological brain. As such, a neuromorphic and synaptronic computation comprising digital neurons, according to embodiments of the invention, may include various electronic circuits that are modeled on biological neurons. Further, a neuromorphic and synaptronic computation comprising digital neurons, according to embodiments of the invention, may include various processing elements (including computer simulations) that are modeled on biological neurons.

Although certain illustrative embodiments of the invention are described herein using digital neurons comprising digital circuits, the present invention is not limited to digital circuits. A neuromorphic and synaptronic computation, according to embodiments of the invention, can be implemented as a neuromorphic and synaptronic framework comprising circuitry and additionally as a computer simulation. Indeed, embodiments of the invention can take the form of an entirely hardware embodiment, an entirely software embodiment, or an embodiment containing both hardware and software elements
."

Like most of the NNs that I've seen coming from Switzerland, with one exception, they all use analog neurons/synapses. The analog neuron is a closer replica of the human neuron, but, in silicon, it is difficult to reproduce the neurons with sufficient accuracy, so that the threshold voltage for the neurons with "identical" inputs can differ between neurons. Analog neurons add the voltage or current of the spikes, but the amplitude of the voltage/current is not consistent between neurons because of manufacturing variations. Given that neurons can have hundreds of inputs, the errors accumulate to give inconsistent performance with analog neurons. With Akida's digital neurons this is not a problem because the digital bits are ON or OFF (1 or zero), and it was PvdM's recognition of this that has put us where we are today.
 
Last edited:
  • Like
  • Love
  • Fire
Reactions: 29 users

IloveLamp

Top 20
I wonder..........

Screenshot_20220513-212957_LinkedIn.jpg
 
  • Like
  • Thinking
  • Fire
Reactions: 67 users

TasTroy77

Founding Member
Wishing you a happy birthday @Fact Finder !
Now i hope you managed to step away from the Brainchip research to enjoy some quality family time.
Did you end up getting the PP watch ?
 
  • Like
Reactions: 7 users

JK200SX

Regular
  • Like
  • Fire
  • Wow
Reactions: 78 users
I am just watching a movie and a male actor removed ear buds and I remembered Kristopher Carlson briefly referencing the ear buds he was wearing and the potential to use a node to make them intelligent.

It struck me as a bit strange and off script so perhaps it might be something for the 1,000 Eyes to keep in mind.

My opinion only DYOR
FF

AKIDA BALLISTA
 
  • Like
  • Fire
  • Love
Reactions: 14 users

Esq.111

Fascinatingly Intuitive.
Hi Esq,

I have a file on this from a month ago.

Researchers from IBM’s Zurich lab have argued that these recognition techniques could be improved by enhancing AI hardware. The goal is to use the well-known phase-change memory (PCM) technology to develop a new type of artificial synapse. The researchers employ a PCM memtransistive synapse, which combines memristors, a nonvolatile electronic memory element, and transistors into a single low-power device. This shows a non-Von Neumann in-memory computing architecture that offers various powerful cognitive frameworks for ML applications, such as short-term spike-timing-dependent plasticity and probabilistic Hopfield Neural Networks.

In-memory computing has become popular in the last year or two - an attempt to get around the von Neumann bottleneck on the bus from the memory to the processor as the processor attempts to retrieve data from the memory. Akida is similar in that the memory is distributed amongst its 80 NPUs (Neuromorphic Processing Units).

A phase change material is one whose resistance can be changed by applying a large voltage in one direction, and reversed by applying the voltage in the opposite direction. The change in resistance can be detected by sensing the size of the current when a lower voltage is applied.

IBM has been playing around with phase change-materials for over a decade.

US2010223220A1 ELECTRONIC SYNAPSE

View attachment 6505

They are familiar with STDP:

WO2010133399A1 ELECTRONIC LEARNING SYNAPSE WITH SPIKE-TIMING DEPENDENT PLASTICITY USING PHASE CHANGE MEMORY

View attachment 6506

They also claim unsupervised learning:

US11164080B2 Unsupervised, supervised and reinforced learning via spiking computation

View attachment 6507

Even when IBM did summon up the courage to dip their toes in the digital neuron pond, they still kept a lifeline firmly attached to the analog neuron anchor:

WO2014080300A1 NEURAL NETWORK
"0016] The term digital neuron as used herein represents an framework configured to simulate a biological neuron. An digital neuron creates connections between processing elements that are roughly functionally equivalent to neurons of a biological brain. As such, a neuromorphic and synaptronic computation comprising digital neurons, according to embodiments of the invention, may include various electronic circuits that are modeled on biological neurons. Further, a neuromorphic and synaptronic computation comprising digital neurons, according to embodiments of the invention, may include various processing elements (including computer simulations) that are modeled on biological neurons.

Although certain illustrative embodiments of the invention are described herein using digital neurons comprising digital circuits, the present invention is not limited to digital circuits. A neuromorphic and synaptronic computation, according to embodiments of the invention, can be implemented as a neuromorphic and synaptronic framework comprising circuitry and additionally as a computer simulation. Indeed, embodiments of the invention can take the form of an entirely hardware embodiment, an entirely software embodiment, or an embodiment containing both hardware and software elements
."

Like most of the NNs that I've seen coming from Switzerland, with one exception, they all use analog neurons/synapses. The analog neuron is a closer replica of the human neuron, but, in silicon, it is difficult to reproduce the neurons with sufficient accuracy, so that the threshold voltage for the neurons with "identical" inputs can differ between neurons. Analog neurons add the voltage or current of the spikes, but the amplitude of the voltage/current is not consistent between neurons because of manufacturing variations. Given that neurons can have hundreds of inputs, the errors accumulate to give inconsistent performance with analog neurons. With Akida's digital neurons this is not a problem because the digital bits are ON or OFF (1 or zero), and it was PvdM's recognition of this that has put us where we are today.
Evening Diogenese,

Greatly appreciate your efforts here.

Gee wizz I love the PATENT moat Brainchip controls and is building upon.

Regards,
Esq.
 
  • Like
  • Love
  • Fire
Reactions: 14 users
Have a nice/ exciting/ wow Birthday FF. And well done. Good signs are immerging/spiking IMO.

Take care, It's Friday and 13th, so we all must be on guard.

WOW indeed


Akida Ballista as always

hotty...
Happy Birthday mate. Friday 13th. Hope your name isn't Jason.

SC
 
  • Haha
  • Like
Reactions: 6 users

TECH

Regular
Interesting but a long way to go:

“The team’s findings are more exploratory than demonstrations at the system level. While they intend to develop this method further, they also feel that the current proof-of-concept results already reveal substantial scientific interest in the broader areas of neuromorphic engineering — in computing and a better understanding of the brain through more faithful emulations. The devices are straightforward to construct and operate and are based on well-researched technology. The at-scale implementation, which involves tying together all the computing primitives and other hardware pieces, is the researchers’ main problem. The current findings demonstrate the value of mixed-plasticity neural computations in neuromorphic engineering. This not only makes, for example, visual cognition more human-like, but it also saves money on costly training methods”

My opinion only DYOR
FF

AKIDA BALLISTA

Interesting but a long way to go:

“The team’s findings are more exploratory than demonstrations at the system level. While they intend to develop this method further, they also feel that the current proof-of-concept results already reveal substantial scientific interest in the broader areas of neuromorphic engineering — in computing and a better understanding of the brain through more faithful emulations. The devices are straightforward to construct and operate and are based on well-researched technology. The at-scale implementation, which involves tying together all the computing primitives and other hardware pieces, is the researchers’ main problem. The current findings demonstrate the value of mixed-plasticity neural computations in neuromorphic engineering. This not only makes, for example, visual cognition more human-like, but it also saves money on costly training methods”

My opinion only DYOR
FF

AKIDA BALLISTA
IBM, Intel and the rest are trying very hard to close the gap, lots of different ways of saying, we chose to go left at the fork in the road, meanwhile, our founder, Peter, some 20 years ago chose to go RIGHT...and history will tell us that he was RIGHT, our guiding light and that's the reason why he and Anil are leading Brainchip in the Brain's department.

Enjoy the upcoming AGM if you are attending in person, I think it will be special this year, and I hope you haven't eaten all the birthday cake, I'm sure that your grandchildren can count the slices you have consumed...🎂🍰🎂

God Bless you and the wife.....Tech x
 
  • Like
  • Love
Reactions: 45 users

Bravo

If ARM was an arm, BRN would be its biceps💪!
I am just watching a movie and a male actor removed ear buds and I remembered Kristopher Carlson briefly referencing the ear buds he was wearing and the potential to use a node to make them intelligent.

It struck me as a bit strange and off script so perhaps it might be something for the 1,000 Eyes to keep in mind.

My opinion only DYOR
FF

AKIDA BALLISTA


What was that FF? I can't ear you! 🥴😂

I'm thinking Nokia Bell Labs ‘earable’ could be a contender as described here... #8,177
 
Last edited:
  • Like
  • Fire
  • Love
Reactions: 12 users

cosors

👀
  • Like
  • Love
  • Fire
Reactions: 9 users

GStocks123

Regular
  • Like
  • Love
  • Fire
Reactions: 13 users

Bravo

If ARM was an arm, BRN would be its biceps💪!
Before I continue my search, I would like to leave some information for those who are interested, or clean up the browser a bit. At the moment KUKA uses NPU units from Siemens (that would be something) SIMATIC S7-1500 TM NPU and they in turn use MyriadTMX Vision processing units from Intel MovidiusTM.
I recommend this slightly outdated report for further insight
=> Industrial Robot Grasping with Deep Learning using a Programmable Logic Controller (PLC)


Hi Cosors,

I'm pretty sure Siemens are aware of what Akida can do. Valeo recently (Feb 2022) signed an agreement with Siemens to acquire Siemens' 50% stake in Valeo Siemens eAutomotive (who supplied the motor for the Mercedes EQXX).
 
Last edited:
  • Like
  • Love
  • Fire
Reactions: 16 users

SERA2g

Founding Member
HAPPY BIRTHDAY FF!
Hope you have a nice day/year ahead

No official Announcement yet, but who needs Ann when we know the below;
Some of you may remember this post from Crapper last year, but I have added/edited a few so this is V2.

View attachment 6436
Happy birthday dearest @Fact Finder

I think I can speak for all when I say we appreciate all that you do around here for the 1000 eyes and hope that you and your family had a wonderful day!

Cheers!
 
  • Like
  • Love
  • Fire
Reactions: 32 users
View attachment 6465 View attachment 6466
one sec getting the info
Its a Flexifinger pulse crop lifter and the are all over the world one sec im just checking it.
It appears drone related.. one sec
APPEARS TO HAVE BEEN TAKEN BY ROADRUNNER DRONEWORKS
TAKEN...WITH PHANTON 4!!! or with the Inspire 1. but still checking
for maybe agrinova quebec... still checking..

wait!!! Visiovitis!!! has the picture on their home page!
That is a Claas Harvester
 
  • Like
  • Fire
Reactions: 6 users

dippY22

Regular
  • Like
  • Love
Reactions: 8 users

VictorG

Member
The world markets are on fire. NASDAQ is up almost 4%, Dow also up almost 2%.
Imagine going into the weekend while holding short positions.
I think BRN may top $1.25 at Monday open.
Have a good weekend shorters, hope you have sleepless nights and suffer in your jocks.

Still laughing 😃
 
  • Like
  • Haha
  • Fire
Reactions: 50 users

Yak52

Regular
Brainchip gave the world a sign. 😎

Kristopher Carlson gave a sermon. 😎

Jerome Nadel published a verse. 😎

And all true believers turned away from the siren call of the traders and shorts on the steps of the temple while @Yak52 kicked over their tables and cast them out.😎

My opinion only DYOR
FF

AKIDA BALLISTA
Ha, ha....... thats just so funny FF ! Lov it.

And for those wondering,......... we are currently up 9% in US and 7.55% in Germany. (1:30am AEST)

PERFECT conclusion to your Birthday FF. Enjoy it.

Yak52
 
Last edited:
  • Like
  • Love
  • Fire
Reactions: 31 users
Top Bottom