No patents for AnotherBrain but there are a few for Another Brain.
https://worldwide.espacenet.com/patent/search/family/069024225/publication/WO2021058466A1?q=pa = "another brain"
Maisonnier: this seems to be one of his last inventions for Softbank Robotics:
US10481270B2 Device for detecting an obstacle by means of intersecting planes and detection method using such a device
The nearest it gets to NNs is a reference to "analytic means".
A bit of background on Maisonnier:
https://robohub.org/bruno-maisonnier-moves-on-from-aldebaran/
Bruno Maisonnier moves on from Aldebaran
20150223
F
arewell and thank you to Bruno Maisonnier, the founder and CEO of Aldebaran Robotics, which is now 95% owned by Softbank. Softbank had previously acquired a majority stake in the ground breaking French robotics company which created the humanoid NAO. Together Aldebaran and Softbank Robotics developed Pepper, the ‘world’s first robot that reads emotions’. Pepper is on display in Softbank and Nestle stores in Japan and there are somewhat delayed plans for Pepper’s sale in the US later in 2015.
...
Maisonnier has agreed to sell his remaining shares in Aldebaran, step down as CEO and will become a Special Advisor to Masayoshi Son, the President of Softbank Corp. In a press release from Aldebaran, February 23rd, Maisonnier says that he wants to step back from the day to day operations of growing a robotics company and reflect on the changes that have occurred in the world, analyzing and integrating them back into the world of robotics.
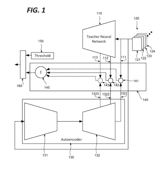
WO2021156271A1 ANOMALY DETECTOR, METHOD OF ANOMALY DETECTION AND METHOD OF TRAINING AN ANOMALY DETECTOR
Priority: 20200205
View attachment 10588
1. A
method of constructing an anomaly detector for detecting an anomaly in a digital sample of a predetermined type and predetermined first resolution, said method comprising:
- exposing a teacher neural network trained to extract features from digital data sets, to a plurality of digital samples of a training dataset of said predetermined type, to extract features representing each said digital sample at one or more levels;
- exposing an auto-encoder to each said digital sample to reconstruct features representing said digital sample at one or more levels;
- determining a difference value reflecting the difference between said extracted features and respective said reconstructed features for each said sample; and
- repeating said steps of reconstructing features representing said training dataset with further said parameters until a minimal said difference value is obtained across said training dataset.
A
n anomaly detector uses two neural networks, the first, a general purpose classifying convolutional neural network operates as a teacher neural network, while a second neural network in an auto-encoder type configuration. Each of the two neural networks receives the same input stream, and generates respective feature outputs at different levels, corresponding to different resolutions for image data. The respective outputs of the two neural networks are compared at each level, and the resulting difference values consolidated across the difference levels to obtain a final difference value. In a training phase this difference value is used to drive the determination of the weights and biases of the auto-encoder, so as to obtain a auto-encoder trained for a particular input type, under the influence of the teacher neural network. In an operational mode, the difference value is compared to a threshold to determine whether a particular sample is anomalous or not. In certain embodiments, difference values a different levels may be scaled so as to be superimposed at a common resolution, thereby providing an error map indicating the location of anomalous values across the sample.