Media

anbuck

Regular
Thx for the commentary DAH! And I would never call you an idiot, that term I reserve for myself as I get plenty of things wrong with conviction ;)

On the point you make, Mark makes it look like the issue with reusing graphite is the chemical cleaning. Which is a tough problem for sure but not THE problem. I can be completely off the rails here and I forget where I got the original information from, so I can't verify any more if my opinion is correct. But I thought the graphite crystals/particles disintegrate into smaller pieces during use of the battery and you simply can't put them back together again during recycling. Since this kind of damage can't be fixed, it appeared to me that it's impossible to recycle graphite anode into graphite anode. Maybe there is a way to filter out the good particles from the broken ones and use them, but I don't know. Or maybe talga is able to bake little graphite cakes that doesn't increase the surface area to much when recycling.. or the original problem is simply not true and I got this completely wrong.

In any case, I am happy to see that talga deemed to have found a way around it, I am cautious though because it is at odds with my understanding of reality.
I agree about the structure of the graphite being degraded overtime as being the hardest problem for recycling, at least based on my limited understanding, so I share you skepticism Semmel. At the very least, I'm confused.
 
  • Like
  • Thinking
Reactions: 2 users

Diogenese

Top 20
I agree about the structure of the graphite being degraded overtime as being the hardest problem for recycling, at least based on my limited understanding, so I share you skepticism Semmel. At the very least, I'm confused.
This paper suggests that graphite can be reused in batteries under some circumstances.

https://onlinelibrary.wiley.com/doi/epdf/10.1002/admt.202200368

The number of lithium-ion batteries (LIBs) from hybrid and electric vehicles that are produced or discarded every year is growing exponentially, which may pose risks to supply lines of limited resources. Thus, recycling and regeneration of end-of-life LIBs (EoL-LIBs) is becoming an urgent and critical task for a sustainable and environmentally friendly future. In this regard, much attention, especially in industry, is expended for developing recycling of cathode materials and the other valuable materials, but not much attention is dedicated to the recycling and reuse of graphite (Gr) from EoL-LIBs. Herein, the current status of EoL-LIB regeneration is summarized, with a focus on the recycling and purification of Gr, a state-of-the-art anode material for most of the commercial LIBs. According to the recent advances regarding Gr recycling, three major regeneration processes of Gr are categorized ,including
i) washing Gr with different solvents,
ii) thermal treatment process, and
iii) hybrid (chemical and thermal) treatment processes.

Depending on the source of the LIBs, and the method and quality of separation and purification, the recycled Gr can be reutilized as an active material for battery industries, including graphene production, as well as many other alternative applications, which are also addressed here


1722818840349.png
 
  • Like
  • Love
  • Fire
Reactions: 5 users

cosors

👀
Last edited:
  • Wow
  • Thinking
Reactions: 2 users

cosors

👀
😲
Japan's Nikkei 225 stock index sinks 12.4% as investors dump a wide range of shares
 
  • Wow
Reactions: 3 users

DAH

Regular
This paper suggests that graphite can be reused in batteries under some circumstances.

https://onlinelibrary.wiley.com/doi/epdf/10.1002/admt.202200368

The number of lithium-ion batteries (LIBs) from hybrid and electric vehicles that are produced or discarded every year is growing exponentially, which may pose risks to supply lines of limited resources. Thus, recycling and regeneration of end-of-life LIBs (EoL-LIBs) is becoming an urgent and critical task for a sustainable and environmentally friendly future. In this regard, much attention, especially in industry, is expended for developing recycling of cathode materials and the other valuable materials, but not much attention is dedicated to the recycling and reuse of graphite (Gr) from EoL-LIBs. Herein, the current status of EoL-LIB regeneration is summarized, with a focus on the recycling and purification of Gr, a state-of-the-art anode material for most of the commercial LIBs. According to the recent advances regarding Gr recycling, three major regeneration processes of Gr are categorized ,including
i) washing Gr with different solvents,
ii) thermal treatment process, and
iii) hybrid (chemical and thermal) treatment processes.

Depending on the source of the LIBs, and the method and quality of separation and purification, the recycled Gr can be reutilized as an active material for battery industries, including graphene production, as well as many other alternative applications, which are also addressed here


View attachment 67583
Thanks for this Diogenese. @Semmel let's hope your scepticism isn't needed 😄

I really like this opportunity as clearly there's going to be a huge market, and if MT likes the numbers then I reckon we will too.
 
  • Like
Reactions: 3 users

Semmel

Top 20
On family vacation.. will read when an opportunity arises, but can't promise for the next weeks ;) hope paper addresses breaking up of graphite particles.. the graphics with heating to 2500 to 3000 deg C worries me, as it indicates a synthetic graphite forming process using recycled graphite as feedstock, which would ruin the entire process. But will read before forming an opinion.
 
  • Like
  • Love
Reactions: 3 users

Semmel

Top 20
This paper suggests that graphite can be reused in batteries under some circumstances.

https://onlinelibrary.wiley.com/doi/epdf/10.1002/admt.202200368

I finally read the paper. Its a good overview of existing approaches. My impression is, that the main issue targeted at moment is the purification of graphite from the spend battery source materials. The paper discusses a lot of different methods which are mixed and matched in different stages and degrees. Think of a childs chemistry experimental box. Fun to play with but it appears to me that there is no clear process that is better than the others. Its a colorful mix of different steps which are used to get something out. Nothing appears to be at industrial scale when it comes to use of spend barttery anode material for new batteries.

The disintegration of anode particles is mentioned I think twice in connection to repair the damage using the high temperature re-crystalization using a simiar process as in the synthetic anode world. But it seems this is not always necessary or used. However it appears to be required for high purity applications, especially because it evaporates other residual metals, which might be in the mix after purification, completing the process. However, this just replaces the source material for the synthetic process and is probably only viable when subsidized significantly.

It appears we are not yet at a point where a clear winner is visible that can take on graphite in spend batteries. Hence the discussion of many approaches and methods.

If Talga has an edge here, good. But I dont have high hopes that this becomes economically viable. Sorry.
 
  • Fire
  • Like
Reactions: 6 users

DAH

Regular
I finally read the paper. Its a good overview of existing approaches. My impression is, that the main issue targeted at moment is the purification of graphite from the spend battery source materials. The paper discusses a lot of different methods which are mixed and matched in different stages and degrees. Think of a childs chemistry experimental box. Fun to play with but it appears to me that there is no clear process that is better than the others. Its a colorful mix of different steps which are used to get something out. Nothing appears to be at industrial scale when it comes to use of spend barttery anode material for new batteries.

The disintegration of anode particles is mentioned I think twice in connection to repair the damage using the high temperature re-crystalization using a simiar process as in the synthetic anode world. But it seems this is not always necessary or used. However it appears to be required for high purity applications, especially because it evaporates other residual metals, which might be in the mix after purification, completing the process. However, this just replaces the source material for the synthetic process and is probably only viable when subsidized significantly.

It appears we are not yet at a point where a clear winner is visible that can take on graphite in spend batteries. Hence the discussion of many approaches and methods.

If Talga has an edge here, good. But I dont have high hopes that this becomes economically viable. Sorry.
Hi Semmel, I hope your family had a nice vacation. Hope you didn't bump into any Swedish judges enjoying the summer.

Thanks for reviewing this and sharing your educated opinion. I can only assume that Talga has cracked this, as they've previously stated their purification and process tech has been successful and there's a patent pending. The fact that they've gone public with the new recycled Tal-C product suggests they're confident and MT says the economics look good. It's not going to be a good look if this had to be walked back and scrubbed out. From memory they're updating the refinery plans to accommodate the recycling and the Q4 Scoping Study will tell us more. Fingers crossed. Cheers
 
  • Love
Reactions: 3 users

Diogenese

Top 20
I finally read the paper. Its a good overview of existing approaches. My impression is, that the main issue targeted at moment is the purification of graphite from the spend battery source materials. The paper discusses a lot of different methods which are mixed and matched in different stages and degrees. Think of a childs chemistry experimental box. Fun to play with but it appears to me that there is no clear process that is better than the others. Its a colorful mix of different steps which are used to get something out. Nothing appears to be at industrial scale when it comes to use of spend barttery anode material for new batteries.

The disintegration of anode particles is mentioned I think twice in connection to repair the damage using the high temperature re-crystalization using a simiar process as in the synthetic anode world. But it seems this is not always necessary or used. However it appears to be required for high purity applications, especially because it evaporates other residual metals, which might be in the mix after purification, completing the process. However, this just replaces the source material for the synthetic process and is probably only viable when subsidized significantly.

It appears we are not yet at a point where a clear winner is visible that can take on graphite in spend batteries. Hence the discussion of many approaches and methods.

If Talga has an edge here, good. But I dont have high hopes that this becomes economically viable. Sorry.
Hi Semmel,

Thanks for your comments.

I'm not up on the details of battery grade reconstituted graphite, but Neometals (ASX: NMT) is building a battery recycling plant with Mercedes in Germany using Primobius GMBH proprietary recycling method.

https://cdn-api.markitdigital.com/a...82&v=fc9bdb61fe50ea61f8225e24ce041a0e155a9400
1724330502685.png



https://www.neometals.com.au/en/products-and-markets/battery-recycling/

1724329912893.png




Primobius patents:

WO2023186889A1 PROCESS AND SYSTEM FOR OBTAINING GRAPHITE 20220329
WO2023186890A1 PROCESS AND SYSTEM FOR OBTAINING GRAPHITE 20220329

1724331058626.png



WO2024121225A1 COMMINUTER, BATTERY RECYCLING SYSTEM, USE AND COMMINUTING METHOD 20221208

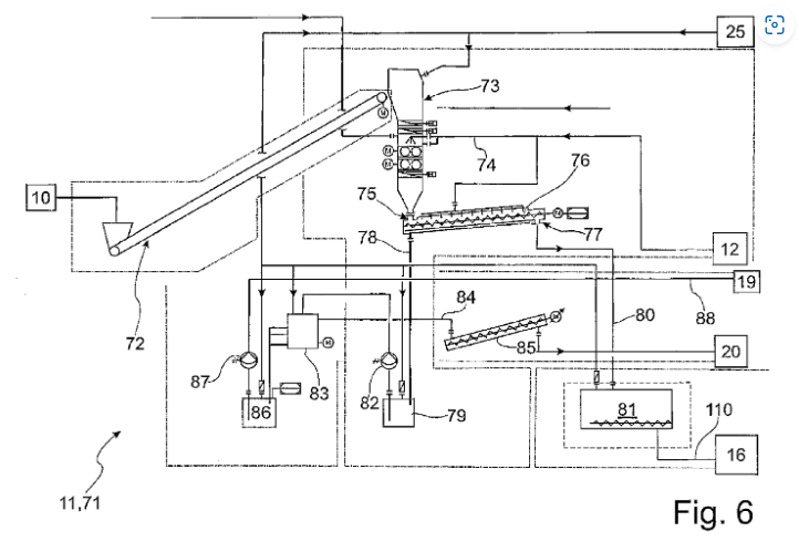
The process is limited to Li ion batteries which may have some residual charge, so the graphite is presumably in reasonable condition. It covers grinding, separating and filtering, but I don't think it covers high temperature reconstitution, but they may do that separately after filtering the small bits although Fig 6 shows them combining the two streams?
 
  • Love
  • Like
Reactions: 4 users

Semmel

Top 20
Hi Semmel, I hope your family had a nice vacation. Hope you didn't bump into any Swedish judges enjoying the summer.

Thanks for reviewing this and sharing your educated opinion. I can only assume that Talga has cracked this, as they've previously stated their purification and process tech has been successful and there's a patent pending. The fact that they've gone public with the new recycled Tal-C product suggests they're confident and MT says the economics look good. It's not going to be a good look if this had to be walked back and scrubbed out. From memory they're updating the refinery plans to accommodate the recycling and the Q4 Scoping Study will tell us more. Fingers crossed. Cheers

Yeah thx! If I bumped into any judges, at least I didn't identify them 😂 was a nice vacation and luckily I didn't thought about the stock market much, and even much less about work too. So all around a success!

In terms of Talga cracking it, I have no doubt that they have a working process, just as the paper presented working processes. But my impression from reading it is that the recycled graphite is either inferior or more expensive than new stuff.

Inferior if only cleaning and filtering is done and more expensive but better quality if heat treated to repair mechanical damage to graphite crystals. At least the paper didn't discuss a magic process that is good and cheap.

If Talga has something like that, great!! Hope it's good! But at this stage I remain cautious.
 
  • Love
  • Like
Reactions: 3 users

Semmel

Top 20
Hi Semmel,

Thanks for your comments.

I'm not up on the details of battery grade reconstituted graphite, but Neometals (ASX: NMT) is building a battery recycling plant with Mercedes in Germany using Primobius GMBH proprietary recycling method.

https://cdn-api.markitdigital.com/a...82&v=fc9bdb61fe50ea61f8225e24ce041a0e155a9400
View attachment 68358


https://www.neometals.com.au/en/products-and-markets/battery-recycling/

View attachment 68357



Primobius patents:

WO2023186889A1 PROCESS AND SYSTEM FOR OBTAINING GRAPHITE 20220329
WO2023186890A1 PROCESS AND SYSTEM FOR OBTAINING GRAPHITE 20220329

View attachment 68359


WO2024121225A1 COMMINUTER, BATTERY RECYCLING SYSTEM, USE AND COMMINUTING METHOD 20221208

The process is limited to Li ion batteries which may have some residual charge, so the graphite is presumably in reasonable condition. It covers grinding, separating and filtering, but I don't think it covers high temperature reconstitution, but they may do that separately after filtering the small bits although Fig 6 shows them combining the two streams?

I'm not at a level to give an opinion on this, sorry. Looks interesting for sure but no idea how practical and economic this is.
 
  • Like
Reactions: 1 users

Vigdorian

Regular
Lithium centered , EV Focused.


UBS mentioned. Pure speculation on my behalf, but maybe that's the reason they trimmed their Talga position recently ?

In its dire forecast for lithium prices, UBS said it had lowered its outlook for electric vehicle sales, “with significant implications for lithium demand’’.
“With global automotive battery demand now up to 10 per cent lower through to 2030 (partly as a result of about 10 per cent higher plug-in hybrid EV share across the same period, and partly reflecting lower outright EV demand) this has a similar impact for lithium demand,’’ UBS said.
 
  • Like
Reactions: 3 users

brewm0re

Regular
Lithium centered , EV Focused.


UBS mentioned. Pure speculation on my behalf, but maybe that's the reason they trimmed their Talga position recently ?

In its dire forecast for lithium prices, UBS said it had lowered its outlook for electric vehicle sales, “with significant implications for lithium demand’’.
“With global automotive battery demand now up to 10 per cent lower through to 2030 (partly as a result of about 10 per cent higher plug-in hybrid EV share across the same period, and partly reflecting lower outright EV demand) this has a similar impact for lithium demand,’’ UBS said.
Thanks Vigdorian. They have dropped back to round the April 2024 level of 5.6% voting power. Old saying of “Watch what they do, not what they say.” Interesting to see if they contradict and go back up to the recent prior level of 7.2% after such bearish sentiment…My thoughts is they are bullish, not bearish, but I could probably be completely wrong. A little tired of the ANNs back n forth, from their end 🤪
 
  • Like
Reactions: 5 users



Five Cambridge firms benefit as government contributes £88m to EV net zero goals
By Mike Scialom - mike.scialom@iliffemedia.co.uk
Published: 19:41, 19 September 2024

Dozens of cutting-edge, green vehicle technology projects, including ultra-lightweight vehicles, zero emission buses and new battery technology, are set to benefit from £88million of joint funding to take the UK a step closer to net zero.

Described by Minister for Industry and Decarbonisation Sarah Jones as “an important vote of confidence in the UK’s automotive industry”, the £88m has been awarded to 46 innovative projects, including the development of electric trucks for the NHS and Royal Mail, e-motorcycles and wireless charging solutions.

Nyobolt EV prototype electronicsNyobolt EV prototype electronics
Included in the funding – though details of specific grants were not available at the time of going to press – are Cambridge companies DeepForm, Molyon, FLIT, Talga and Nyobolt.

This funding is “an important vote of confidence in the UK’s automotive industry, creating thousands of green, skilled jobs up and down the country as the government continues to deliver its mission to get Britain moving and grow the economy for all”, the Department for Business and Trade said.

Minister for Industry and Decarbonisation Sarah Jones. Picture: Department for Energy Security and Net Zero (DESNZ)Minister for Industry and Decarbonisation Sarah Jones. Picture: Department for Energy Security and Net Zero (DESNZ)
Minister for Industry and Decarbonisation Sarah Jones said: “Labour is committed to boosting the jewel in the crown of our manufacturing base – the automotive industry. Working in partnership with industry, this fund will drive innovation and propel the development of next-generation zero emission vehicle technologies.

“From Royal Mail trucks delivering our post, to cleaner, greener bus journeys, this funding will back projects that will lower emissions across the country, while also supporting skilled jobs.”

The five Cambridge companies represent a spread of activities:


- DeepForm is a University of Cambridge spinout introducing a novel, patented sheet metal pressing technology that can significantly reduce the high levels of waste in automotive pressings, reducing cost and CO2 emissions

Chris Cleaver, CEO and co-founder, DeepFormChris Cleaver, CEO and co-founder, DeepForm
- Molyon is developing its patented cathode solution which enables next-generation high energy density batteries

- FLIT develops lightweight folding e-bikes for urban commuters

- Talga is a battery anode and advanced materials company accelerating the global transition towards sustainable growth

- Nyobolt’s ultra-fast-charging battery technology is capable of reducing vehicle charging from hours to minutes.

FLIT fold-up ebike. Picture: Kenisha van KeulenFLIT fold-up ebike. Picture: Kenisha van Keulen
DeepForm CEO Chris Cleaver said: “We’re really pleased to be getting this support. We’ve got ambitious plans to accelerate our impact – designing automotive pressings with up to 40 per cent less input material.”

Molyon co-founder Ismail Sami is a Research Fellow at the Faraday Institute. Picture: Keith HeppellMolyon co-founder Ismail Sami is a Research Fellow at the Faraday Institute. Picture: Keith Heppell
“It’s great to be backed by the government’s Technology Developer Accelerator Programme (TDAP).

“They are going to help us to not only continue building exciting new folding e-bikes, but also to keep those e-bikes on the road for as long as possible by making them easy to refurbish.

Nyobolt EV prototypeNyobolt EV prototype
“This will help to both reduce the resources used to build new e-bikes and also to make e-bikes more accessible by making high-quality second-hand e-bikes available to riders.”

- Cambridge ‘a hotspot for new automotive era’ - Cambridge Tech Week report.
 
Behind a pay wall if anyone can help?


Most electric-car batteries could soon be made by recycling old ones

Mining for raw materials may peak by the mid-2030s

Despite a slowdown in electric-vehicle (EV) sales in some countries, demand for batteries was up by around 40% globally last year, and seems likely to continue at a similar pace. Consequently, the world’s appetite for lithium, the vital ingredient in the lithium-ion (Li-ion) batteries that dominate the EV market, is expected to exceed 2.4m tonnes in 2030, more than twice its present level.

Where all this lithium will come from is a thorny question. Although 70% of the world’s reserves of lithium carbonate (from which it is mined) are in Argentina, Australia and Chile, processing it into a form suitable for use in batteries is a business currently dominated by China. As China also commands the processing of other important battery materials, including manganese, cobalt and nearly all battery-grade graphite, there is concern about the vulnerability of supply chains should China begin restricting supplies of certain raw materials, as it has done in the past. As a result, legislators and carmakers in Europe and North America have been trying to establish local supplies for batteries.

These efforts are about to be given a big boost. Recent breakthroughs in recycling, together with a spate of technological improvements, mean that within a decade or so most of the global demand for raw materials to build new batteries could be met by recycling old ones.

Lithium, manganese and cobalt are widely used to make electrodes called cathodes, the most expensive part of a Li-ion battery. When the battery is recharging, electrons are stripped from lithium atoms on the cathode to create charged particles called ions. The ions then migrate through an electrolyte, typically a liquid medium, to a second electrode called an anode. This is made from graphite, a pure form of carbon. Meanwhile, the electrons created at the cathode travel along the wires of the charging circuit towards the anode, where they reunite with the ions and are stored there. When the battery discharges, the process reverses, with electrons in the circuit powering a device—which in the case of an EV is its electric motor. Although different chemistries can be employed, manganese and cobalt are particularly good at stabilising and boosting the performance of a Li-ion battery.

At present battery recycling is mostly confined to recovering raw materials from the scrap produced by gigafactories. A much richer vein will soon present itself, however, as the first wave of EVs reach the end of their lives. By 2040, according to PwC, a professional-services firm, up to 60% of the materials used to make batteries in Europe could come from recycling old ones, helped along by innovations in recovery processes.

Other analysts take a similar view. Globally, the mining of raw ingredients for battery manufacturing could peak by the mid 2030s, reckons RMI, an American think-tank. This will be caused by a combination of better recycling and continuing advances in battery chemistry, which boosts the energy density of cells so that batteries can be made with fewer raw materials. This, RMI believes, might see mineral extraction for batteries being avoided altogether by 2050.

The ways in which batteries are recycled today pose many problems. Some are labour-intensive, whereas others need lots of energy or are environmentally harmful. But each hurdle is a spur to innovation. Stripping cells apart by physical means to remove their components, for example, takes a lot of effort. A process called pyrometallurgy can simplify the harvesting of metals like nickel and cobalt by roasting batteries at temperatures of up to 1,600°C, but this is no good for getting at the lithium. That metal instead requires a process called hydrometallurgy in which old batteries are crushed and the resulting “black mass” is treated with harsh chemicals known as lixiviants.

Some lixiviants use concentrated acids which can carry environmental and health risks. This means they have to be treated carefully before disposal, driving up recycling costs. More benign alternatives exist, such as the deep eutectic solvents (DES) developed by researchers at Rice University in Houston, Texas, which are biodegradable and non-toxic. But these solvents come with problems of their own. Because they generally require heating for a long period at around 200°C, during which time they can degrade and lose effectiveness, DES have so far not been proved to be commercially viable.

The Rice group has found a simple solution to the problem of heat-induced degradation: popping them into a microwave oven. It turns out that choline chloride, a DES ingredient which specifically leaches out lithium, is an excellent absorber of microwaves. This means the DES can rapidly heat up to the temperatures necessary to extract lithium from a black mass, says Sohini Bhattacharyya, one of the Rice team.

In a recent study published in Advanced Functional Materials, a journal, the group reports that by using microwaves a DES was able to recover some 50% of the lithium in a spent cathode in as little as 30 seconds. Recovering 87% took 15 minutes, an improvement on the 12 hours necessary to collect the same amount using a conventional electrically powered oil-bath. This discovery promises to make lithium recovery faster, cheaper and more effective (some conventional recycling processes extract as little as 5%). It should also be possible to tune DES solutions to speedily extract other metals, too.

Other researchers are taking an interest in non-metallic compounds. The graphite in an anode, for example, can represent about half of a battery by volume. Although graphite can also be mined, most of it is currently produced in a synthetic form by roasting needle coke, a by-product of some coal-processing and petrochemical plants. As graphite must be purified to above 99.95% in order to make anodes, recovering it from contaminated battery waste is extremely difficult.

Pure and simple
Talga, an Australian materials firm, has come up with a solution to that problem. It recently signed deals with two recyclers, Altilium, a British company, and Aurubis, a German one, to purify graphite recovered from scrap and end-of-life batteries so that it can be used again to make new anodes. Talga will use a chemical purification process, the details of which are being kept under wraps while patents are pending. It is, however, known to be based on a technique used at Europe’s first anode-production facility. This was set up by Talga in northern Sweden, where the company also operates a graphite mine.

As recycling technology continues to evolve, a circular supply chain may emerge. That should allow more localised battery production and avoid supply-chain vulnerabilities. It would also reduce the overall lifetime carbon emissions involved in the mining and refining of battery raw materials—allowing the drivers of EVs to more rightfully claim to be green.
 
Last edited:

DAH

Regular
Interesting article written in the Econonist on battery recycling, shared by Sproglett & Blondeaussie at HC. No link sorry (paid subscription) and cut and paste of a long article isn't working so here's the last 3 paragraphs that touch on anode and TLG.

Other researchers are taking an interest in non-metallic compounds. The graphite in an anode, for example, can represent about half of a battery by volume. Although graphite can also be mined, most of it is currently produced in a synthetic form by roasting needle coke, a by-product of some coal-processing and petrochemical plants. As graphite must be purified to above 99.95% in order to make anodes, recovering it from contaminated battery waste is extremely difficult.

Pure and simple
Talga, an Australian materials firm, has come up with a solution to that problem. It recently signed deals with two recyclers, Altilium, a British company, and Aurubis, a German one, to purify graphite recovered from scrap and end-of-life batteries so that it can be used again to make new anodes. Talga will use a chemical purification process, the details of which are being kept under wraps while patents are pending. It is, however, known to be based on a technique used at Europe’s first anode-production facility. This was set up by Talga in northern Sweden, where the company also operates a graphite mine.

As recycling technology continues to evolve, a circular supply chain may emerge. That should allow more localised battery production and avoid supply-chain vulnerabilities. It would also reduce the overall lifetime carbon emissions involved in the mining and refining of battery raw materials—allowing the drivers of EVs to more rightfully claim to be green.
 
  • Like
  • Love
Reactions: 10 users

Mining boom after critical metals: ”Sweden one of the most interesting countries ”​

Both foreign and Swedish mining projectors flock around the Swedish bedrock. They are interested in the critical metals and minerals that are a must for the green transition. "Rare earth metals have been very common in the applications," says Anders Jakobsson, administrator at Bergsstaten, to Afv.
today 9:47 AM
Mining boom after critical metals: ”Sweden one of the most interesting countries ” - mining boom
From 2022 to 2023, the number of applications for survey permits doubled at the Bergsstaten, where Anders Jakobsson is an administrator. Photo: Boliden and press image
Just a few years ago, it looked bad for Sweden's continued existence as a mining nation. When the Canadian think tank Phrases Institute presented its annual comparison index for the mining industry in 2021, Sweden had plummeted from a top ten ranking to number 36 and ended up together with countries that Mali and Ghana.
The number of survey permits to find new deposits to prospect was also down to record lows.
Now the wind has turned.
Today, more and more global mining inspectors are turning their eyes on the Swedish bedrock. What you are looking for is above all the critical metals and minerals that are essential ingredients for the green transition.

It is about metals and minerals with complicated names such as dysprosium, lanthanum, gallium, cobalt, scandium, graphite, yttrium and lithium. But these topics are a must, for example, to build permanent magnets for electric cars, solar panels or the battery parks that are currently growing so that it is cracking throughout Europe.

“Decisive for the green conversion ”​

It means that Bergsstaten, which is the authority that handles and approves the study permits, has urgent days. For the past one and a half years, the authority has approved 335 research permits. This is almost as many permits as the Bergs State granted in total between 2019 – 2022.
“In the last two years of applications for exploration permits, battery minerals such as cobalt and lithuim, as well as various rare earth metals, have been very common. What drives demand is the green transition ”, says Anders Jakobsson.

Anders_Jakobsson.jpg
Anders Jakobsson, administrator at Bergsstaten, handles and approves investigative permits. Photo: Bergsstaten

The EU is trying to catch up​

China was out early in the hunt for these critical topics. Already 1987 noted Deng Xiaoping, then chairman of the Chinese Communist Party, that ”The Middle East has its oil but China has rare earth metals ”.
Since then, metal and mineral policy have been a crucial part of Chinese growth and today the country controls the majority of both the mining and processing process of these important materials.
At the same time, the EU has been late on the ball.
It was not until May this year that the EU presented its response “Critical Raw Materials Regulation ” which sets out the EU's strategy to break China's dominance and build its own commodity chain. It aims to make EU countries more self-sufficient in the extraction of critical and strategic metals and raw materials.

The process of a new mine

  • Applying for a research permit is the first step.
  • The next step is to apply for a so-called processing concession. This means that the applicant is granted exclusive rights to the deposit.
  • The last part of the process is to apply for and obtain environmental permits to start a mine. That process can take a very long time.
Source: Svemin

Sweden has large deposits​

Here's the note Maria Sunér, CEO of the industry organization Svemin, that the Swedish bedrock is particularly interesting.
”Since the Act on Critical Raw Materials came into place in May, there is a very strong focus on Europe having to increase its self-sufficiency. In it, Sweden is one of the more interesting areas in Europe. ”
It is in particular the minerals and metals that the EU considers to be strategically important which arouses the interest of the projectors. Raw materials such as graphite, rare earth metals, lithium silicon consider the EU an absolute must in order to cope with the green future competitiveness.
The first round of applications to become just a strategic project was completed in August and totally applied 170 different projects, which was many more than the Commission expected, points out Maria Sunér.
Maria-Suner-900x600.jpg
Maria Sunér, CEO of the trade organization Svemin, notes that Sweden has many deposits with various critical and strategic minerals. Photo: Svemin
”Being a strategic project offers various benefits. There is a stricter limit on how long the permit processes may take and you can also get support in finding financiers. ”
Sweden is trying to hang on. For example, the mining company Talga, owned by the Australian mining giant Talga Group, in the process of starting a graphite mine in Vittangi in Kiruna.
The company has been given a clear sign for its environmental permit by both the first and second bodies. However, both judges have been appealed by Sami villages and the Nature Conservation Association and now the case lies with the Supreme Court. LKAB has also identified a large deposit of rare earth metals in the Kiruna area.
The major threat to the new mining boom is the long state processes, which are also unpredictable and non-transparent, according to the Fraser Institute.
An example of a company that has had to wait a long time is Canadian Leading Edge Materials who began the attempts to start a mine to break earth metals in North Kärr north of Gränna 15 years ago.

Critical and strategic minerals and metals

  • The EU identifies 34 minerals and metals as critical and / or strategic to society and welfare.
  • The critical raw materials are determined by their economic importance in relation to the risk of disruptions in the asset. The 16 so-called strategic raw materials are considered particularly important from this aspect.
  • There are clear global trends that show that both the need and demand for several critical raw materials will increase sharply.
  • An example is the manufacture of so-called permanent magnets used in wind turbines and in electric vehicles. For this, neodymium (Nd), dysprosium (Dy) and praseodymium (Pr) are needed, which are examples of rare earth metals. Demand for these substances is expected to increase by 250% during the period 2020 – 2030.
  • In Sweden, there are known occurrences of antimony, fluorspar (fluorite), phosphate mineral, graphite, cobalt, platinum group metals (PGM), rare earth metals (REE), bismuth and tungsten.
  • Today there are a total of 12 mines in Sweden.
Source: Swedish Geological Survey
 

cosors

👀

sorry for the bold...​


"Talgas CEO Martin Phillips has big plans for the graphite mine​

After four years and planned investments of SEK 6.6 billion, Talga is still waiting for the announcement from the government if there will be a graphite mine in Nunasvaara outside Vittangi.
NSD meets CEO Martin Phillips at the top of the mountain.
- I think people realize the value of mining, he says.
1728847396787.png

Martin Phillips believes that the Swedish government will give the go-ahead for graphite mining in Vittangi. The picture also shows Liz Asplund, community coordinator at Talga.

The rain hangs in the air in the autumn-clad forest. Underfoot, blueberries are still visible on the blueberry rice. - As we would say in Australia, you see that the mountain ridge goes like a boomerang, says Martin Phillips, CEO of Talga AB. He has taken us to the top of Nunasvaara. In this mountain, and in Niska a few kilometers to the north, the Australian company wants to start..."
rbPW​

 
  • Like
Reactions: 10 users
From HC
Go to the home page. Logo, New Technology

search




ADMISSION FROM TALK​

Talga changes the rules of the game for sustainable graphite production​

4297086.webp

The electrification of the automotive industry and other industries is necessary to create a sustainable future. At the same time, a new environmental challenge is emerging – the management of end-of-life batteries. To solve this, the sustainability innovator Talga has developed techniques that can streamline the recycling of an important but often overlooked battery component: graphite.​

Ricard Harryson
Published Monday, October 14, 2024 - 2:55 pm
Share on FacebookShare on TwitterEmail
This is an ad. It is not written by Ny Teknik's editorial staff. If you have any comments, please contact the advertiser.
Electrification is spreading rapidly around the world like an oiled flash. Especially in the automotive industry, but nowadays most industries have been hooked. The global increase in electric vehicles means, among other things, that the amount of waste from batteries will multiply in the coming years. At the same time, the solutions for recycling the batteries are still insufficient. Talga will change that.
– The graph is a clear example – while a lot of focus is placed on the recovery of cathode metals, the graphite inserts are surprisingly few, which we have chosen to address, says Karanveer S. Aneja, R&D Manager at Talga.
He is head of research and development at Talga, where he leads a team that develops and improves battery material through advanced technologies and innovative production methods. He holds a doctorate in materials science with a focus on carbon compound material from IIT Bombay and over seven years of experience at Talga. Karanveers S. Aneja's expertise includes both graph and graphite.
4297093.webp

Karanveer S. Aneja, R&D Manager at Talga.

Challenges in graphite production​

An electric car battery largely consists of graphite. The problem is that current production methods for synthetic graphite are far from sustainable. Almost 90 percent is produced in China with energy-intensive processes that have a high carbon footprint. In addition, the synthetic graphite based on coke – is a residual product from the oil industry that is heated in furnaces to over 3000 degrees for several days, which generates large amounts of carbon dioxide emissions. This means that batteries manufactured with this type of graphite are not as fossil-free as many may think.
– We see a need to challenge the general view that graphite is impossible to recycle. Moving production away from China and developing a sustainable production method in Europe is both a challenge and a great opportunity for us, says Karanveer S. Aneja.
To meet both the technical and sustainability-related challenges, Talga is working to integrate recycled graphite into its production line. It reduces dependence on fossil-based synthetic graphite and creates a stable and sustainable supply chain for European battery production.
– Only a few players globally have come so far as to develop ready-made solutions with tested and validated products, and we are proud to be among the leaders in this area, says Per-Inge Kruse, Group Director for Business Development & Strategic Alliances at Talga.
4297094.webp

Per-Inge Kruse, Group Director for Business Development & Strategic Alliances at Talga.

To enable recycling​

The method is to first separate graphite from other battery components. The material then undergoes a purification process similar to Talga's existing natural graphite production methods. Traditionally, graphite is purified using large amounts of toxic acids, which is still common in several unregulated markets. Talga has developed a significantly cleaner technology that minimizes emissions and waste, while maintaining high quality in the finished material. The process should ensure that the original structure of the graphite is restored and that the graphite can be used as anode material again.
The challenges of optimizing the processes for recycled graphite have required new innovations in purification and processing, which means that they can now offer high-performance recycled graphite with the same properties as natural ditto. Through these technologies, Talga wants to help close the battery material circle and create an efficient recycling flow for the European market.
– One of the biggest challenges we encountered was that many did not consider graphite worth recycling. In the beginning, there were few recycling companies that could even provide graphite material. It was a big part of our journey to change that perception and show that graphite recycling is a possible and necessary solution, says Karanveer S. Aneja.

To standardize graphite recovery​

Several recycling companies such as Altilium and Aurubis have now hooked arms around Talga's projects: Talga is now working with companies that work in metal recycling and sustainability to create a circular supply chain for battery materials.
– We strive to understand the differences in raw materials from different suppliers in order to ensure that the materials used in our production meet the same specifications. Achieving this requires collaboration with more than our two current partners, and we are also exploring opportunities in other parts of the world, says Per-Inge Kruse.
This is to broaden the perspectives and explore opportunities sitting in the backbone of Talga. Thanks to the company's integrated business model, the business has full control over the entire value chain – from mining and production to the purification and recycling of graphite.
– We do not define ourselves as a mining company or merely as a supplier of raw materials and purification. Instead, we see ourselves as a technology supplier that offers solutions in mining, purification and anode manufacturing. It is more than just vertical integration of these processes; we have several technology centers that enable us to deliver customized solutions to our customers, Kruse explains.

Circular battery material for a European market​

Talga has a clear vision of creating local and sustainable supply chains in Europe and in the long term becoming a global leader in sustainable battery materials. Reducing dependence on China is crucial, not only to create a stable and secure supply chain, but also to drastically reduce the environmental impact associated with synthetic graphite.
In the long term, the sustainability innovator wants to become a reliable partner for the European market, where sustainability and local production are key factors for the green transition of the future.
– With our natural access to graphite and our focus on recycling, we have the potential to grow internationally. We see Talga as a significant player in the global market in anodes and related metals, concludes Per-Inge Kruse.
Want to know more about how Talga drives the development of sustainable battery materials and reduces dependence on fossil raw materials? Read more about Talgas technologies and circular solutions here.
 

Gero

Regular

sorry for the bold...​


"Talgas CEO Martin Phillips has big plans for the graphite mine​

After four years and planned investments of SEK 6.6 billion, Talga is still waiting for the announcement from the government if there will be a graphite mine in Nunasvaara outside Vittangi.​

NSD meets CEO Martin Phillips at the top of the mountain.​

- I think people realize the value of mining, he says.​

View attachment 70972

Martin Phillips believes that the Swedish government will give the go-ahead for graphite mining in Vittangi. The picture also shows Liz Asplund, community coordinator at Talga.​

The rain hangs in the air in the autumn-clad forest. Underfoot, blueberries are still visible on the blueberry rice. - As we would say in Australia, you see that the mountain ridge goes like a boomerang, says Martin Phillips, CEO of Talga AB. He has taken us to the top of Nunasvaara. In this mountain, and in Niska a few kilometers to the north, the Australian company wants to start..."​

rbPW​


Thanks Cosors.

Translation of full article:

Talga's CEO Martin Phillips has big plans for the graphite mine

After four years and planned investments of SEK 6.6 billion, Talga is still waiting for the decision from the government whether there will be a graphite mine in Nunasvaara outside Vittangi. NSD meets CEO Martin Phillips at the top of the mountain.

"I think people realize the value of mining," he says.


The rain hangs in the air in the autumn-covered forest. Under your feet, blueberries can still be glimpsed on the blueberry bushes.

"As we in Australia would say, you see that the mountain ridge is boomerang," says Martin Phillips, CEO of Talga AB.

He has taken us to the top of Nunasvaara. In this mountain, and in Niska a few kilometers north, the Australian company wants to start mining graphite.

In the environmental permit that Talga has been approved by the Supreme Court for Land and Environment, the mining company will be able to mine 120,000 tonnes of graphite for one year. The mining itself is regulated to only take place during the summer but is worked throughout the year, so as not to disturb the winter grazing of the reindeer that have their winter grazing on the land.

"We have formulated our mining philosophy so that we can coexist with other stakeholders," says Martin Phillips.

In addition to reindeer grazing, water has been the environmental issue that has been debated most frequently. To be able to mine graphite, water must be added during ore processing. Pumping will also be required to be able to mine the ore from the open-pit mine. The water used in the mining process will flow into the Torne River, a river system that has been classified as a Natura-2000 area.

The mining company has been given several points to relate to if they are to live up to their environmental permit, including purifying the process water. They will also, in real time, keep track of the discharges into the water and report water samples to the county administrative board every month.

Even before any mining has taken place in Nunasvaara, the company has announced that they want an extended mining permit for the adjacent area of Niska.

"We have test drilled in both areas and we see large deposits down to a depth of 250-300 metres, and there is more than what we have found so far," says Martin Phillips.

What also makes the graphite in Nunasvaara and Niska special is that it is of very high quality, around 97 to 98 percent of the carbon in the soil has been turned into graphite, and the graphite content in the ore is on average 23.8 percent, which is very high. According to Martin Phillips, this means that a smaller amount of electricity and water needs to be used to reach the 99.9 percent graphite content needed for anode production.

One issue that Talga has highlighted is that the deposit can reduce the EU's stated need for metals from other parts of the world, mainly from China, which accounts for just over 80 percent of all graphite produced. But in order for the company to make a major difference, the company will need to scale up the mining in Nunasvaara in the future to also include Niska.

They are also looking into the possibility of eventually switching to underground mining, given that the graphite deposit looks set to continue down to depth. The necessary infrastructure and knowledge of mining underground is available in the immediate area, so Martin Phillips believes there is potential to scale up production in the future.

He believes that it is possible to mine 2 million tonnes of graphite in a year, compared to the 120,000 tonnes for which they have been given the green light. The mine would then also need to employ more than the 50 who will work shifts to have ore mining at all hours of the day.

Since its inception, the company has stated that they also want to refine so-called battery anodes in a factory on Hertsön in Luleå. In order for the mine and factory to become a reality, Martin Phillips estimates that the company will need to spend about 600 million euros, equivalent to about 6.6 billion Swedish kronor.

But despite the fact that the company has two approved environmental permit notices, the mining company has not been able to start any construction in the mining area. This is because Kiruna municipality's politicians have denied planning permission and thus stopped the detailed plan process.

That decision may be reversed by the government, which has the final say on this matter. But that question is still being prepared inside the Government Offices.

"I think people realize the value of mining and that there is a local supply of graphite. I also think that the government sees the benefit of it. We also do not ask the Swedish state for resources and we have also been able to justify the existence of the mine with both a mining concession and an environmental permit. We can also show that there is a larger ore reserve that can be extracted and turned into batteries, and with a good profit margin," says Martin Phillips.
 
  • Like
  • Love
  • Fire
Reactions: 14 users
Top Bottom