BRN Discussion Ongoing

Glen

Regular
Don't do drugs kids
I am an investor from the US in Brchf. We were still trading today. I did notice last week we had 1.6 million shares traded in one day and the averages have gotten larger.
 
  • Like
  • Wow
  • Fire
Reactions: 28 users

cosors

👀
I am an investor from the US in Brchf. We were still trading today. I did notice last week we had 1.6 million shares traded in one day and the averages have gotten larger.
I have also noticed on several occasions that a trading halt on ASX stocks does not apply here in Germany and that we can still trade.
 
  • Like
  • Wow
Reactions: 9 users
D

Deleted member 3781

Guest
What I don’t understand is: now that the cat’s out of the bag, why don’t they just release the announcement? Everyone already knows what they’re up to. It makes no sense.
 
  • Like
Reactions: 6 users

Fiendish

Regular
What I don’t understand is: now that the cat’s out of the bag, why don’t they just release the announcement? Everyone already knows what they’re up to. It makes no sense.
Possibly more to come!
 
  • Like
Reactions: 4 users
D

Deleted member 3781

Guest
Possibly more to come!
I just think they don’t know how to handle ASX announcements—we’ve seen that in the past. The trading halt is overdone and will influence the market when trading resumes if nothing further positive comes out. Just my opinion. And plenty of posters here have kept getting it wrong, claiming something big is coming because “this time is different” whenever some event happens.
 
  • Like
  • Fire
Reactions: 5 users

Fiendish

Regular
I just think they don’t know how to handle ASX announcements—we’ve seen that in the past. The trading halt is overdone and will influence the market when trading resumes if nothing further positive comes out. Just my opinion. And plenty of posters here have kept getting it wrong, claiming something big is coming because “this time is different” whenever some event happens.
I think we already have plenty of comfirmation that somethingS big is coming. Too many big partnerships emerging, too much neuromorphic buzz across the web. Our time is coming and soon imo.
 
  • Like
  • Fire
  • Thinking
Reactions: 20 users

Bravo

Meow Meow 🐾
ABR and BrainChip are distinct companies that signed a joint development and marketing agreement in 2016.
This partnership allows BrainChip to be part of the ABR software ecosystem, and ABR's Nengo software can be used to develop models for the Akida hardware, among other platforms.

Hi @Sirod69,

Great to see you back! 🥰

I thought I remembered Tony Lewis talking about Applied Brain Research (ABR) as a competitor and I just found the article after a bit of searching.

Here's an extract from the EE Times article, dated 7 February 2025.

Tony says there is one other competitor being able to run state-space models at the edge, which is Applied Brain Research with Chris Eliasmith. ABR is also partnered with Mercedes.

Tony said at the time that says he thought we might be ahead.

On keeping the lead, he says "And so we just hope that we can maintain a lead".



Screenshot 2025-11-07 at 10.05.05 am.png





 
Last edited:
  • Like
  • Love
  • Sad
Reactions: 12 users
D

Deleted member 3781

Guest
I think we already have plenty of comfirmation that somethingS big is coming. Too many big partnerships emerging, too much neuromorphic buzz across the web. Our time is coming and soon imo.
Time will tell… until then, empty talk I would say

No doubt we’re well positioned..but I don’t think this announcement changes that something big will follow. I’m preparing for another year of a dry spell. After more than a decade with BrainChip, that’s been my experience. I’d love to be proven wrong.
But I stopped long time ago listen every time the same stuff “this will be huge” “this time is different” “something is brewing” etc. that’s all
 
Last edited by a moderator:
  • Like
  • Fire
Reactions: 9 users

Diogenese

Top 20
Hi @Sirod69,

Great to see you back! 🥰

I thought I remembered Tony Lewis talking about Applied Brain Research (ABR) as a competitor and I just found the article after a bit of searching.

Here's an extract from the EE Times article, dated 7 February 2025.

Tony says there is one other competitor being able to run state-space models at the edge, which is Applied Brain Research with Chris Eliasmith. ABR is also partnered with Mercedes.

Tony said at the time that says he thought we might be ahead.

On keeping the lead, he says "And so we just hope that we can maintain a lead".



View attachment 92833





This is one of ABR's early SSM patents:

US11238345B2 Legendre memory units in recurrent neural networks

Neural network architectures, with connection weights determined using Legendre Memory Unit equations, are trained while optionally keeping the determined weights fixed. Networks may use spiking or non-spiking activation functions, may be stacked or recurrently coupled with other neural network architectures, and may be implemented in software and hardware. Embodiments of the invention provide systems for pattern classification, data representation, and signal processing, that compute using orthogonal polynomial basis functions that span sliding windows of time.

1762472668557.png


1. A method comprising:

defining, by a computer processor, a node response function for each node in a network, the node response function representing a state over time, wherein the state is encoded into one of binary events or real values, each node having a node input and a node output;

defining, by the computer processor, a set of connection weights with each node input;

defining, by the computer processor, a set of connection weights with each node output;

defining, by the computer processor, one or more Legendre Memory Unit (LMU) cells having a set of recurrent connections defined as a matrix that determines node connection weights based on the formula:


A =[ a ] ij ∈



q×q

where⁢⁢aij=(2⁢i+1)⁢{-1i⟨j(-1)i-j+1i≥j

where q is an integer determined by the user, and i and j are greater than or equal to zero; and

generating, by the computer processor, a recurrent neural network comprising the node response function for each node, the set of connection weights with each node input, the set of connection weights with each node output, and the LMU cells by training the network as a recurrent neural network by updating a plurality of its parameters or by fixing one or more parameters while updating the remaining parameters
.


However, this early system used a stored programme CPU: -

10. A hardware implemented system for pattern classification, data representation, or signal processing in neural networks, the system comprising:

a processor; and

a memory containing computer-executable instructions, wherein the computer-executable instructions, when executed by the processor, cause the processor to implement:

one or more input layers presenting a vector of one or more dimensions, wherein each dimension is provided to the network either by external input or by using previous outputs from the network;

one or more intermediate layers coupled via weight matrices to at least one of the input, other intermediate, or output layers; and

one or more output layers generating a vector representation of the data presented at the input layer or computing a function of those data at one or more discrete points in time or continuously over time;

wherein

the
system generates a recurrent neural network using the method of claim 1.



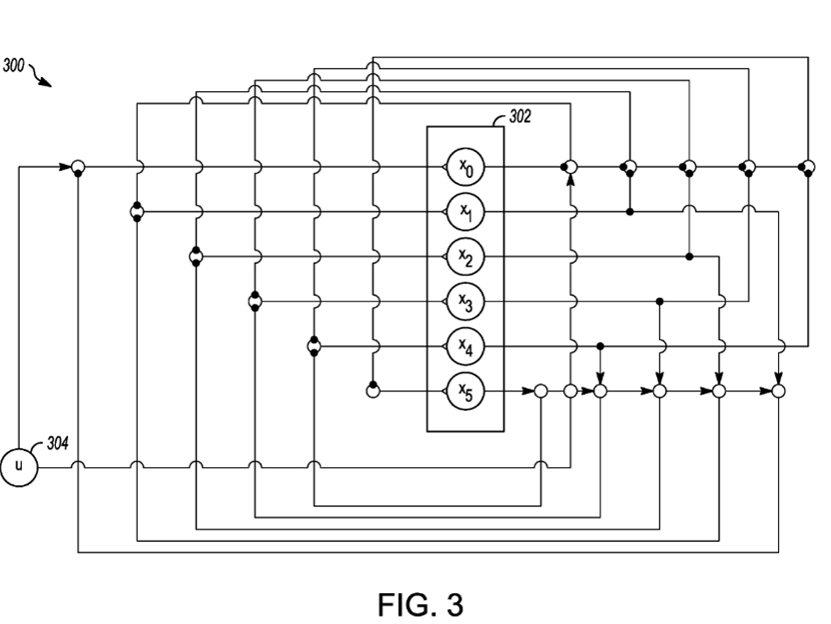
This is a 2023 hardware implementation:

WO2024197396A1 EVENT-BASED NEURAL NETWORK PROCESSING SYSTEM 20230326

1762473094314.png




A hardware-based processing system for event-based processing of neural networks comprises event buses and processing elements arranged in stages or layers. Each stage includes an event bus configured to receive events from one or more event producers and output them to event consumers, and one or more processing elements that implement the neural network connected to the event bus. The processing elements receive events from the event bus and process them in synaptic input and neural output stages to generate an output event that is output to the event bus of a later stage. Each processing element includes an address generator that determines target addresses for stored synaptic states and weights for events. Synchronisation is managed locally in each processing element by a phase controller based on the time indices of each event indicating a time-step or phase.
 
  • Like
  • Fire
  • Love
Reactions: 14 users

Rach2512

Regular
 
  • Like
  • Fire
  • Love
Reactions: 11 users

Fiendish

Regular
Time will tell… until then, empty talk I would say

No doubt we’re well positioned..but I don’t think this announcement changes that something big will follow. I’m preparing for another year of a dry spell. After more than a decade with BrainChip, that’s been my experience. I’d love to be proven wrong.
But I stopped long time ago listen every time the same stuff “this will be huge” “this time is different” “something is brewing” etc. that’s all
Well i havent been onboard more than a decade but in half that time i have seen the Akida go from a theoretical unproven chip to make its way into space as well as US military..Mercedes-Benz .. raspberry pi etc etc etc.

Imo things are progressing much swifter now, so i am quite upbeat and keen to grab myself some more shares that some poor shorter is hoping to grab to cover 😅

Gltah etc
 
  • Like
Reactions: 17 users

Guzzi62

Regular
Fuck guys forgot our Christmas Party for the Directors and management, oh it’s gunna be big, ITS OUR YEAR,WATCH US NOW!!!. Little side note guys this yeas AGM as been called off hope you’s don’t mind one of our directors has been suffering a bit of dementia won’t be able to make it. Seems to get you shareholders a bit wound up, don’t want to upset the old chap, he gets a bit Nancy at you all not a good look,You know maybe might have one in a couple years down the track, already got our motto ready, YOU CAN BANK ON IT!! How’s that sound get money in the bank,oh well.
You go on ignore, you can bank on that!
 
  • Like
  • Haha
  • Fire
Reactions: 9 users
D

Deleted member 3781

Guest
Well i havent been onboard more than a decade but in half that time i have seen the Akida go from a theoretical unproven chip to make its way into space as well as US military..Mercedes-Benz .. raspberry pi etc etc etc.

Imo things are progressing much swifter now, so i am quite upbeat and keen to grab myself some more shares that some poor shorter is hoping to grab to cover 😅

Gltah etc
Sure progress is real… as I said, that’s not my point. But we will need a deep breath until we see revenue…. We need money to see our share price rise… that’s my point… the developments, the progress and partnerships doesn’t move the stock price… that’s all
 
  • Like
Reactions: 1 users

Earlyrelease

Regular
Thanks to the post of Galaxy about Xmas parties.

Perth crew, now we don’t have an office nor staff in town no more should we meet up and partake in a quiet ale whilst we hope the the share price rises enough to buy the darling cherubs at home presents for Xmas.

Let me know if there is interest and I will arrange
 
  • Like
  • Love
  • Fire
Reactions: 7 users

Guzzi62

Regular
The company is pushing 1500. The new version will be TENNs compatible. I'm guessing that they have uncovered strong market demand for this. This will be up to 4-bit precision. Akida 2 has 8-bit, so the application does not require that degree of accuracy. 1500 can be used with other CPUs (including RISC-V) as well as ARM.

There may be a big customer, but I doubt we would make chips for just one customer ...

... those blasted blackbirds have eaten the rest of the breadcrumbs.
Why do you think it will be TENNs compatible? That would be awesome if it did.

 
Last edited:
  • Like
Reactions: 2 users

TECH

Top 20
Doesn't our company have a legally binding agreement with LDA Capital that is still open?

Just asking for a friend :ROFLMAO::ROFLMAO:

Tech.
 
  • Like
Reactions: 5 users
Doesn't our company have a legally binding agreement with LDA Capital that is still open?

Just asking for a friend :ROFLMAO::ROFLMAO:

Tech.
A while back wasn’t they still holding onto quite a few on the top 100 holders list? They must have been unable to lend them, ooops I mean sell them for the required price, maybe someone has the latest top 100
 
  • Like
  • Wow
Reactions: 2 users

Newk R

Regular
Time will tell… until then, empty talk I would say

No doubt we’re well positioned..but I don’t think this announcement changes that something big will follow. I’m preparing for another year of a dry spell. After more than a decade with BrainChip, that’s been my experience. I’d love to be proven wrong.
But I stopped long time ago listen every time the same stuff “this will be huge” “this time is different” “something is brewing” etc. that’s all
Hi 7,
I follow a football team in Australia called Collingwood. The biggest club and the most successful in the land. We won a premiership cup in 1958 and then the biggest (at the time) cup drought ensued. 32 years. During that period, we had a saying.."we'll win it next year".
I am fearing that BRN is my new Collingwood....I hope not.
 
  • Haha
Reactions: 8 users
D

Deleted member 3781

Guest
Hi 7,
I follow a football team in Australia called Collingwood. The biggest club and the most successful in the land. We won a premiership cup in 1958 and then the biggest (at the time) cup drought ensued. 32 years. During that period, we had a saying.."we'll win it next year".
I am fearing that BRN is my new Collingwood....I hope not.

I’m very confident BrainChip will find its way. The technology speaks for itself. I just hope the company doesn’t abandon those of us who’ve been on board for a long time. I’ve watched plenty of promising companies that ended up pulling the rug on small investors—using reverse splits (RS) that shrank early holders into insignificance. Then new investors (sometimes the very short sellers from before, plus institutions) step in once the dilution is “done” and short interest drops, and only then do the companies unveil their big deals—price goes up afterward. I hope BrainChip isn’t one of those stories. Just my opinion, based on what I’ve seen in the market.

Edit. That’s why I buy more , so a possible RS will not hurt me too much
 
  • Love
  • Fire
Reactions: 5 users

Guzzi62

Regular
1. We are taping out a new 1500.
2. The original 1500 is the same as the original 1000 minus the ARM Cortex processor
3. The new 1000 datasheet shows "support for 128 MACs" (MAC-Lite).
4. Presumably the new 1500 tapeout will be the same as the new 1000 minus the ARM Cortex.
5. Initially, BRN could not do recurrence with TENNs.
6. Recurrence is used in ML with TENNs.
7. The new 1500 can do ML.
8. My assumption is that the MACs enable recurrence with TENNs in the new 1500.

If this is correct, I suspect the new tapeout will be a total rebuild from the ground up, rather than just a tweak of the old 1500 tapeout .
Thanks, but I am still not convinced that's the case.

The PDF is from Oct25, so I will assume that's the specs that will be in the production AK1500 and not a word about TENNs?
If it can do TENNs I am sure they will mention it.

But okay, we will find out sometime next year.

https://brainchip.com/wp-content/uploads/2025/10/AKD1500-Product-Brief-V2.4-Oct.25.pdf
 
  • Like
Reactions: 1 users
Top Bottom